TOP
|
特許
|
意匠
|
商標
特許ウォッチ
Twitter
他の特許を見る
10個以上の画像は省略されています。
公開番号
2025174964
公報種別
公開特許公報(A)
公開日
2025-11-28
出願番号
2025131018,2024079564
出願日
2025-08-05,2024-05-15
発明の名称
情報処理装置、作業台、作業システム、情報処理方法およびプログラム
出願人
株式会社ベルニック
,
大興物産株式会社
,
鹿島建設株式会社
代理人
個人
主分類
G10L
15/00 20130101AFI20251120BHJP(楽器;音響)
要約
【課題】例えば、作業効率の向上を図ることができる情報処理装置、作業台、作業システム、情報処理方法およびプログラムを提供することを目的の一つとする。
【解決手段】作業用の足場として機能する天板部と、前記天板部を支持する脚部と、操作可能に動作する動作部と、前記動作部の動作を制御する制御部と、前記制御部を搭載し前記脚部に対し取付構造により取り付ける筐体であるボディ部とを有する作業台の前記動作部の動作を操作する情報処理装置であって、マイクロフォンの出力信号を音声認識して得られた電文に前記動作部の所定動作と予め関連付けられた指示ワードが含まれる場合に、前記動作部の動作を前記所定動作に制御する指示を行う指示信号を生成し、前記動作部を有する作業台に対して、生成した前記指示信号を送信する処理を実行する制御部を有する情報処理装置とする。
【選択図】図1
特許請求の範囲
【請求項1】
作業用の足場として機能する天板部と、前記天板部を支持する脚部と、操作可能に動作する動作部と、前記動作部の動作を制御する制御部と、前記制御部を搭載し前記脚部に対し取付構造により取り付ける筐体であるボディ部とを有する作業台の前記動作部の動作を操作する情報処理装置であって、
マイクロフォンの出力信号を音声認識して得られた電文に前記動作部の所定動作と予め関連付けられた指示ワードが含まれる場合に、前記動作部の動作を前記所定動作に制御する指示を行う指示信号を生成し、前記動作部を有する作業台に対して、生成した前記指示信号を送信する処理を実行する制御部
を有する情報処理装置。
続きを表示(約 1,500 文字)
【請求項2】
前記作業台は、本体部と、前記本体部を前記動作部により設置面に沿って移動させる移動部とを有し、
前記所定動作は、前記移動部による移動に関連する動作である
請求項1に記載の情報処理装置。
【請求項3】
作業用の足場として機能する天板部と、
前記天板部を支持する脚部と、
操作可能に動作する動作部と、
前記動作部の動作を制御する制御部と、
前記制御部を搭載し前記脚部に対し取付構造により取り付ける筐体であるボディ部とを有し、
前記制御部は、
前記動作部の動作を操作する情報処理装置であって、マイクロフォンの出力信号を音声認識して得られた電文に前記動作部の所定動作と予め関連付けられた指示ワードが含まれる場合に、前記動作部の動作を前記所定動作に制御する指示を行う指示信号を生成し、前記動作部を有する作業台に対して、生成した前記指示信号を送信する処理を実行する制御部を有する情報処理装置から送信された前記指示信号を受信し、受信した前記指示信号に応じて前記動作部の動作を前記所定動作に制御する処理を実行する
作業台。
【請求項4】
作業用の足場として機能する天板部と、前記天板部を支持する脚部と、操作可能に動作する動作部と、前記動作部の動作を制御する制御部と、前記制御部を搭載し前記脚部に対し取付構造により取り付ける筐体であるボディ部とを有する作業台と、前記動作部の動作を操作する情報処理装置とを有する作業システムであって、
前記情報処理装置は、
マイクロフォンの出力信号を音声認識して得られた電文に前記動作部の所定動作と予め関連付けられた指示ワードが含まれる場合に、前記動作部の動作を前記所定動作に制御する指示を行う指示信号を生成し、前記動作部を有する作業台に対して、生成した前記指示信号を送信する処理を実行する制御部を有し、
前記作業台の制御部は、
前記情報処理装置から送信された前記指示信号を受信し、受信した前記指示信号に応じて前記動作部の動作を前記所定動作に制御する処理を実行する
作業システム。
【請求項5】
作業用の足場として機能する天板部と、前記天板部を支持する脚部と、操作可能に動作する動作部と、前記動作部の動作を制御する制御部と、前記制御部を搭載し前記脚部に対し取付構造により取り付ける筐体であるボディ部とを有する作業台の前記動作部の動作を操作する情報処理方法であって、
マイクロフォンの出力信号を音声認識して得られた電文に前記動作部の所定動作と予め関連付けられた指示ワードが含まれる場合に、前記動作部の動作を前記所定動作に制御する指示を行う指示信号を生成し、前記動作部を有する作業台に対して、生成した前記指示信号を送信する処理
をコンピュータに実行させる情報処理方法。
【請求項6】
作業用の足場として機能する天板部と、前記天板部を支持する脚部と、操作可能に動作する動作部と、前記動作部の動作を制御する制御部と、前記制御部を搭載し前記脚部に対し取付構造により取り付ける筐体であるボディ部とを有する作業台の前記動作部の動作を操作するプログラムであって、
マイクロフォンの出力信号を音声認識して得られた電文に前記動作部の所定動作と予め関連付けられた指示ワードが含まれる場合に、前記動作部の動作を前記所定動作に制御する指示を行う指示信号を生成し、前記動作部を有する作業台に対して、生成した前記指示信号を送信する処理
をコンピュータに実行させるプログラム。
発明の詳細な説明
【技術分野】
【0001】
本発明は、情報処理装置、作業台、作業システム、情報処理方法およびプログラムに関する。
続きを表示(約 2,800 文字)
【背景技術】
【0002】
操作可能に動作する動作部を有する作業装置が知られている。例えば、下記の特許文献1には、高所作業車の走行および作業台の昇降を操作レバーによって操作する技術について開示されている。
【先行技術文献】
【特許文献】
【0003】
特開2023-116203号公報
【発明の概要】
【発明が解決しようとする課題】
【0004】
しかしながら、これまでの作業台による作業では作業効率が十分とはいえなかった。
【0005】
本発明は、例えば、作業効率の向上を図ることができる情報処理装置、作業台、作業システム、情報処理方法およびプログラムを提供することを目的の一つとする。
【課題を解決するための手段】
【0006】
本発明は、例えば、
作業用の足場として機能する天板部と、前記天板部を支持する脚部と、操作可能に動作する動作部と、前記動作部の動作を制御する制御部と、前記制御部を搭載し前記脚部に対し取付構造により取り付ける筐体であるボディ部とを有する作業台の前記動作部の動作を操作する情報処理装置であって、
マイクロフォンの出力信号を音声認識して得られた電文に前記動作部の所定動作と予め関連付けられた指示ワードが含まれる場合に、前記動作部の動作を前記所定動作に制御する指示を行う指示信号を生成し、前記動作部を有する作業台に対して、生成した前記指示信号を送信する処理を実行する制御部
を有する情報処理装置である。
【0007】
本発明は、例えば、
作業用の足場として機能する天板部と、
前記天板部を支持する脚部と、
操作可能に動作する動作部と、
前記動作部の動作を制御する制御部と、
前記制御部を搭載し前記脚部に対し取付構造により取り付ける筐体であるボディ部とを有し、
前記制御部は、
前記動作部の動作を操作する情報処理装置であって、マイクロフォンの出力信号を音声認識して得られた電文に前記動作部の所定動作と予め関連付けられた指示ワードが含まれる場合に、前記動作部の動作を前記所定動作に制御する指示を行う指示信号を生成し、前記動作部を有する作業台に対して、生成した前記指示信号を送信する処理を実行する制御部を有する情報処理装置から送信された前記指示信号を受信し、受信した前記指示信号に応じて前記動作部の動作を前記所定動作に制御する処理を実行する
作業台である。
本発明は、例えば、
作業用の足場として機能する天板部と、前記天板部を支持する脚部と、操作可能に動作する動作部と、前記動作部の動作を制御する制御部と、前記制御部を搭載し前記脚部に対し取付構造により取り付ける筐体であるボディ部とを有する作業台と、前記動作部の動作を操作する情報処理装置とを有する作業システムであって、
前記情報処理装置は、
マイクロフォンの出力信号を音声認識して得られた電文に前記動作部の所定動作と予め関連付けられた指示ワードが含まれる場合に、前記動作部の動作を前記所定動作に制御する指示を行う指示信号を生成し、前記動作部を有する作業台に対して、生成した前記指示信号を送信する処理を実行する制御部を有し、
前記作業台の制御部は、
前記情報処理装置から送信された前記指示信号を受信し、受信した前記指示信号に応じて前記動作部の動作を前記所定動作に制御する処理を実行する
作業システムである。
【0008】
本発明は、例えば、
作業用の足場として機能する天板部と、前記天板部を支持する脚部と、操作可能に動作する動作部と、前記動作部の動作を制御する制御部と、前記制御部を搭載し前記脚部に対し取付構造により取り付ける筐体であるボディ部とを有する作業台の前記動作部の動作を操作する情報処理方法であって、
マイクロフォンの出力信号を音声認識して得られた電文に前記動作部の所定動作と予め関連付けられた指示ワードが含まれる場合に、前記動作部の動作を前記所定動作に制御する指示を行う指示信号を生成し、前記動作部を有する作業台に対して、生成した前記指示信号を送信する処理
をコンピュータに実行させる情報処理方法である。
本発明は、例えば、
作業用の足場として機能する天板部と、前記天板部を支持する脚部と、操作可能に動作する動作部と、前記動作部の動作を制御する制御部と、前記制御部を搭載し前記脚部に対し取付構造により取り付ける筐体であるボディ部とを有する作業台の前記動作部の動作を操作するプログラムであって、
マイクロフォンの出力信号を音声認識して得られた電文に前記動作部の所定動作と予め関連付けられた指示ワードが含まれる場合に、前記動作部の動作を前記所定動作に制御する指示を行う指示信号を生成し、前記動作部を有する作業台に対して、生成した前記指示信号を送信する処理
をコンピュータに実行させるプログラムである。
【発明の効果】
【0009】
本発明によれば、例えば、作業効率の向上を図ることができる情報処理装置、作業台、作業システム、情報処理方法およびプログラムを提供することができる。
【図面の簡単な説明】
【0010】
本発明の第1実施形態に係る作業システムの概略構成例を示す図である。
第1態様での作業台の構成例を示す斜視図である。
第2態様での作業台の構成例を示す斜視図である。
第3態様での作業台の構成例を示す斜視図である。
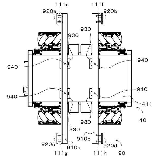
移動部の外観構成例を示す図である。
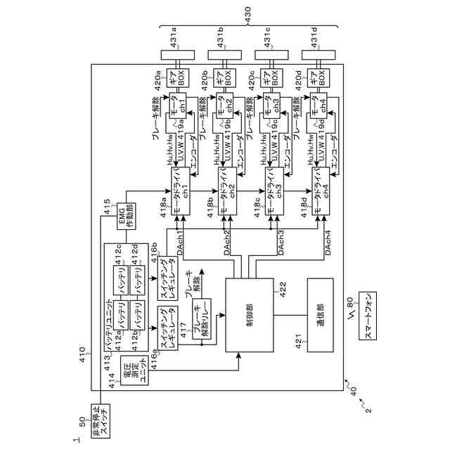
移動部の内部構成例を示すブロック図である。
本体部への移動部の取付構造の一例を示す上面図である。
本体部への取付部による取付例を示す斜視図である。
移動部への取付部による取付例について説明するための図である。
スマートフォンの構成例を示すブロック図である。
スマートフォンおよび移動部の処理例を示すフローチャートである。
スマートフォンの表示画面の一例を示す図である。
スマートフォンの表示画面の一例を示す図である。
スマートフォンが参照する設定ワードの具体例を示す図である。
移動部の動作例を示す図である。
移動動作の補正機能について説明するためのグラフである。
本発明の第2実施形態に係る作業システムの概略構成例を示す図である。
【発明を実施するための形態】
(【0011】以降は省略されています)
この特許をJ-PlatPat(特許庁公式サイト)で参照する
関連特許
株式会社ベルニック
作業台の移動装置および作業台
今日
株式会社ベルニック
情報処理装置、作業台、作業システム、情報処理方法およびプログラム
今日
個人
遮音材
21日前
個人
歌唱補助器具
1か月前
個人
管楽器用リガチャ-
1か月前
個人
音声出力装置
21日前
横浜ゴム株式会社
音響材
14日前
大和ハウス工業株式会社
音低減設備
1か月前
DIC株式会社
吸音材及び吸音部品
1か月前
個人
管楽器用音質改善留め具
8日前
NOK株式会社
吸音構造体
23日前
矢崎総業株式会社
車両用対話システム
22日前
株式会社SinasSP
自動騒音低減装置
1か月前
横浜ゴム株式会社
多層空洞音響材
21日前
株式会社第一興商
カラオケ装置
22日前
日本軽金属株式会社
遮音壁
1か月前
株式会社第一興商
カラオケ装置
1か月前
トヨタ自動車株式会社
判定装置
1か月前
カシオ計算機株式会社
発音装置、発音方法及びプログラム
1か月前
ブラザー工業株式会社
カラオケ装置及びカラオケプログラム
1か月前
シャープ株式会社
電子機器および電子機器の制御方法
1か月前
ヤマハ株式会社
鍵盤装置
1日前
大建工業株式会社
吸音体及び音環境調整構造
1か月前
株式会社JVCケンウッド
収音装置、収音方法、およびプログラム
1か月前
ブラザー工業株式会社
カラオケ用プログラム、及び、カラオケ装置
1か月前
ブラザー工業株式会社
音声録音装置、及び、音声録音用プログラム
1か月前
有限会社ツバサ
エレキギターおよび保護フィルム付きの樹脂プレート
1か月前
ヤマハ株式会社
音処理装置及び音処理方法
8日前
有限会社 宮脇工房
モーター挙動音発生装置
1か月前
株式会社SUBARU
乗物用遮音構造体、及び車両
1か月前
株式会社リコー
対話装置、対話システム、対話方法及びプログラム
1か月前
株式会社NTTドコモ
情報処理装置及び情報処理方法
1か月前
株式会社デンソー
制御装置、制御方法、及び制御プログラム
14日前
本田技研工業株式会社
能動型振動騒音低減装置
1か月前
本田技研工業株式会社
能動型振動騒音制御装置
1か月前
株式会社第一興商
カラオケ装置、カラオケシステム
16日前
続きを見る
他の特許を見る