TOP
|
特許
|
意匠
|
商標
特許ウォッチ
Twitter
他の特許を見る
10個以上の画像は省略されています。
公開番号
2025173224
公報種別
公開特許公報(A)
公開日
2025-11-27
出願番号
2024078706
出願日
2024-05-14
発明の名称
壁高欄の施工方法
出願人
鹿島建設株式会社
代理人
個人
,
個人
,
個人
,
個人
主分類
E01D
19/10 20060101AFI20251119BHJP(道路,鉄道または橋りょうの建設)
要約
【課題】壁高欄の天端の高さを容易に揃えることができる壁高欄の施工方法を提供する。
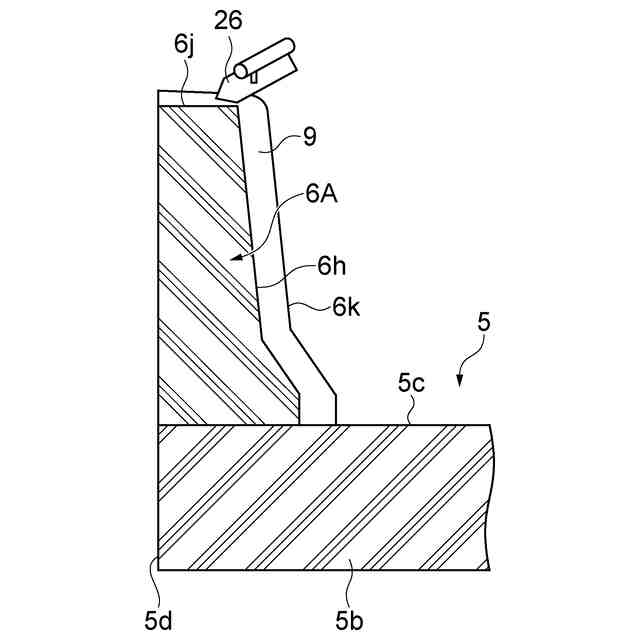
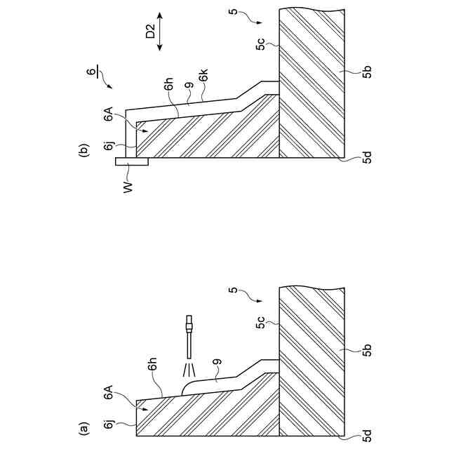
【解決手段】一実施形態に係る壁高欄の施工方法は、橋梁の橋桁の上に壁高欄6を構築する壁高欄6の施工方法である。施工方法は、橋梁における橋桁の張出施工を行う工程と、張出施工を行っているときに、橋桁の上に壁高欄6の内部を構成する内部鉄筋コンクリート6Aを構築する工程と、張出施工が完了した後に、内部鉄筋コンクリート6Aの内側面6hおよび天端面6jに壁高欄6の表層部6kを形成する工程と、を備える。
【選択図】図7
特許請求の範囲
【請求項1】
橋梁の橋桁の上に壁高欄を構築する壁高欄の施工方法であって、
前記橋梁における橋桁の張出施工を行う工程と、
前記張出施工を行っているときに、前記橋桁の上に前記壁高欄の内部を構成する内部鉄筋コンクリートを構築する工程と、
前記張出施工が完了した後に、前記内部鉄筋コンクリートの内側面および天端面に前記壁高欄の表層部を形成する工程と、
を備える、
壁高欄の施工方法。
続きを表示(約 760 文字)
【請求項2】
前記表層部を形成する工程は、前記内側面および前記天端面に仕上材を吹き付ける工程を含む、
請求項1に記載の壁高欄の施工方法。
【請求項3】
前記表層部を形成する工程は、前記仕上材を吹き付ける工程の後に前記表層部を仕上げる工程をさらに含み、
前記表層部を仕上げる工程は、前記仕上材が吹き付けられた面に対向する位置にガイド部材を配置する工程と、前記ガイド部材に前記表層部を仕上げる治具を固定する工程と、前記ガイド部材に沿って前記治具を移動させる工程と、を含む、
請求項2に記載の壁高欄の施工方法。
【請求項4】
前記表層部を形成する工程は、
前記内側面に対向する位置に移動式型枠を配置するとともに前記内側面と前記移動式型枠との間に仕上材を充填する工程と、
前記天端面に前記仕上材を塗布する工程と、を含む、
請求項1に記載の壁高欄の施工方法。
【請求項5】
前記表層部を形成する工程は、
前記内側面に仕上材を塗布する工程と、
前記天端面に左官工法によって前記仕上材を塗布する工程と、を含む、
請求項1に記載の壁高欄の施工方法。
【請求項6】
前記内部鉄筋コンクリートを構築する工程は、
前記橋桁の上に鉄筋を構築する工程と、
前記鉄筋にコンクリートの流出を防止する流出防止材を配置する工程と、
前記鉄筋に前記コンクリートを打設する工程と、
を備える、
請求項1または請求項2に記載の壁高欄の施工方法。
【請求項7】
前記流出防止材は、ラス網によって構成されている、
請求項6に記載の壁高欄の施工方法。
発明の詳細な説明
【技術分野】
【0001】
本開示は、橋梁の橋桁の上に壁高欄を構築する壁高欄の施工方法に関する。
続きを表示(約 1,800 文字)
【背景技術】
【0002】
特許文献1には、橋梁高欄構築方法が記載されている。橋梁高欄構築方法は、鉄筋を構築する工程と、立ち上げ部鉄筋コンクリートを構築する工程と、型枠を設置する工程と、充填材を充填する工程とを備える。鉄筋を構築する工程では、橋梁の橋桁上に設置されるワーゲンに懸架された足場で高欄部の鉄筋を構築する。
【0003】
立ち上げ部鉄筋コンクリートを構築する工程では、ワーゲンに設置された足場で、高欄部の内側面、および高欄部の天端面の被り部を除く部分のコンクリートを打設して立ち上げ部鉄筋コンクリートを構築する。型枠を設置する工程では、立ち上げ部鉄筋コンクリートの内側面、および立ち上げ部鉄筋コンクリートの天端面のそれぞれに埋設型枠および型枠を設置する。充填材を充填する工程では、立ち上げ部鉄筋コンクリートと埋設型枠および型枠のそれぞれとによって画成された空間に充填材を充填する。
【先行技術文献】
【特許文献】
【0004】
特開2020-186516号公報
【発明の概要】
【発明が解決しようとする課題】
【0005】
前述した橋梁高欄構築方法では、立ち上げ部鉄筋コンクリートの内側面、および立ち上げ部鉄筋コンクリートの天端面のそれぞれに埋設型枠および型枠を設置する。ところで、壁高欄の表層部の構築では、出来形確保のため、型枠の位置を微調整する必要がある。橋梁における橋桁の張出施工のときに壁高欄の下部に位置する床版の高さが設計値に対して変動することがある。この場合、型枠の高さまたは位置を調整することによって壁高欄の天端の高さを揃える必要がある。よって、壁高欄の天端の高さを容易に揃えることが求められる。
【0006】
本開示は、壁高欄の天端の高さを容易に揃えることができる壁高欄の施工方法を提供することを目的とする。
【課題を解決するための手段】
【0007】
(1)本開示に係る壁高欄の施工方法は、橋梁の橋桁の上に壁高欄を構築する壁高欄の施工方法である。施工方法は、橋梁における橋桁の張出施工を行う工程と、張出施工を行っているときに、橋桁の上に壁高欄の内部を構成する内部鉄筋コンクリートを構築する工程と、張出施工が完了した後に、内部鉄筋コンクリートの内側面および天端面に壁高欄の表層部を形成する工程と、を備える。
【0008】
この壁高欄の施工方法では、橋梁における橋桁の張出施工が行われているときに、橋桁の上に、壁高欄の内部を構成する内部鉄筋コンクリートが構築される。そして、張出施工が完了した後に、壁高欄の内部鉄筋コンクリートの内側面および天端面に壁高欄の表層部を形成する。よって、張出施工中に壁高欄の内部鉄筋コンクリートを先行して構築し、張出施工が完了して上部工を連結した後に壁高欄の表層部が形成される。したがって、張出施工のときに床版の高さが変動したとしても、張出施工が完了して床版が連結された後に表層部が形成されることにより、壁高欄の天端の高さを容易に揃えることができる。さらに、埋設型枠等の設置に関する作業の作業量を低減できるので、作業性の向上に寄与する。
【0009】
(2)上記(1)において、表層部を形成する工程は、内側面および天端面に仕上材を吹き付ける工程を含んでもよい。この場合、内側面および天端面に仕上材を吹き付けることによって表層部が形成される。したがって、仕上材の吹き付けによって表層部を容易に形成することができる。
【0010】
(3)上記(2)において、表層部を形成する工程は、仕上材を吹き付ける工程の後に表層部を仕上げる工程をさらに含んでもよい。表層部を仕上げる工程は、仕上材が吹き付けられた面に対向する位置にガイド部材を配置する工程と、ガイド部材に表層部を仕上げる治具を固定する工程と、ガイド部材に沿って治具を移動させる工程と、を含んでもよい。この場合、仕上材の吹き付けを行った後に表層部を仕上げる工程が実行されることにより、壁高欄の品質を高めることができる。さらに、ガイド部材に沿って治具が移動しながら表層部を仕上げることにより、表層部の仕上げを効率よく行うことができる。
(【0011】以降は省略されています)
この特許をJ-PlatPat(特許庁公式サイト)で参照する
関連特許
鹿島建設株式会社
構築方法
24日前
鹿島建設株式会社
制震架構
1か月前
鹿島建設株式会社
解体方法
1か月前
鹿島建設株式会社
接続方法
10日前
鹿島建設株式会社
接合構造
1か月前
鹿島建設株式会社
過重力施設
1か月前
鹿島建設株式会社
塔状構造物
9日前
鹿島建設株式会社
床版架設方法
1か月前
鹿島建設株式会社
壁高欄の施工方法
2日前
鹿島建設株式会社
接続方法および接続構造
1か月前
鹿島建設株式会社
橋、および橋の製造方法
1か月前
鹿島建設株式会社
基礎構造および構築方法
1日前
鹿島建設株式会社
作業サイクル分析システム
1か月前
鹿島建設株式会社
コンクリートの充填監視方法
1日前
鹿島建設株式会社
コンクリート構造物構築方法
23日前
鹿島建設株式会社
壁体の構築方法およびタンク
1か月前
鹿島建設株式会社
鋼管柱の接合方法、及び鋼管柱
1か月前
鹿島建設株式会社
品質評価装置および品質評価方法
1か月前
鹿島建設株式会社
水硬性硬化体の炭酸化養生システム
1か月前
鹿島建設株式会社
盛土評価システムおよび盛土評価方法
1か月前
鹿島建設株式会社
生態系環境改善部材及び生態系環境改善構造
22日前
鹿島建設株式会社
作業計画支援方法及び作業計画支援プログラム
1日前
鹿島建設株式会社
二酸化炭素の回収方法、二酸化炭素回収システム
23日前
鹿島道路株式会社
アスファルト混合物の製造方法
1か月前
鹿島建設株式会社
環境音モニタ装置、環境音モニタ方法及びプログラム
1か月前
ゼネラルヒートポンプ工業株式会社
ヒートポンプシステム
1か月前
株式会社ベルニック
作業台の移動装置および作業台
1日前
鹿島建設株式会社
マット部材、マット部材の製造方法、及びマット部材のひずみ測定システム
2日前
鹿島建設株式会社
光ファイバー設置構造、コンクリート部材養生方法、損傷評価方法及び構造特性評価方法
1か月前
株式会社ベルニック
情報処理装置、作業台、作業システム、情報処理方法およびプログラム
1日前
コスモテック株式会社
表示装置
22日前
株式会社パロマ
融雪装置
1日前
株式会社 林物産発明研究所
道路安全体
9日前
戸田建設株式会社
コンクリート構造
1か月前
戸田建設株式会社
鋼製ブラケットの取付装置
1か月前
西松建設株式会社
耐震補強方法
1日前
続きを見る
他の特許を見る