TOP
|
特許
|
意匠
|
商標
特許ウォッチ
Twitter
他の特許を見る
公開番号
2025176974
公報種別
公開特許公報(A)
公開日
2025-12-05
出願番号
2024083413
出願日
2024-05-22
発明の名称
合成床
出願人
株式会社フジタ
代理人
個人
主分類
E04B
5/02 20060101AFI20251128BHJP(建築物)
要約
【課題】製作の際の製作手間と製作コストの双方を抑制しながら、コンクリート床版と木質面材の間の高いせん断伝達性能を有する、合成床を提供すること。
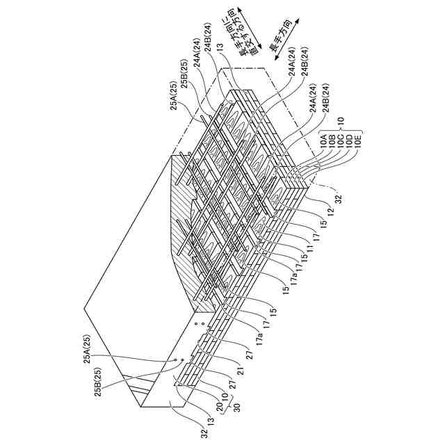
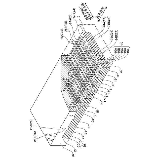
【解決手段】木質面材10と、木質面材10の一対の広幅面11のうちの上方の広幅面11に配設され、主筋24と配力筋25を備えているコンクリート床版20とを有する、合成床30であり、木質面材10の上方の広幅面11に溝条17が設けられ、溝条17にコンクリート床版20の一部である帯状のコッター27が入り込んでおり、木質面材10のうち、溝条17が設けられているコンクリート床版側の領域10Aにおける繊維方向が、主筋24の長手方向もしくは略長手方向に設定され、溝条17の長手方向が、繊維方向に交差する方向に設定されている。
【選択図】図1
特許請求の範囲
【請求項1】
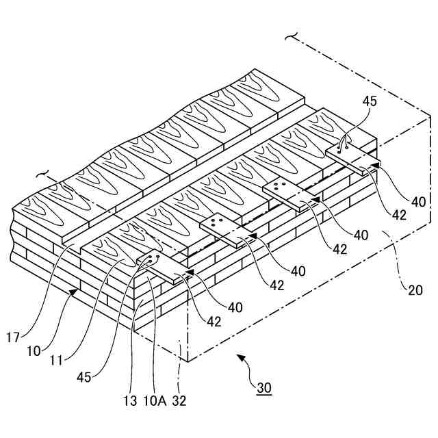
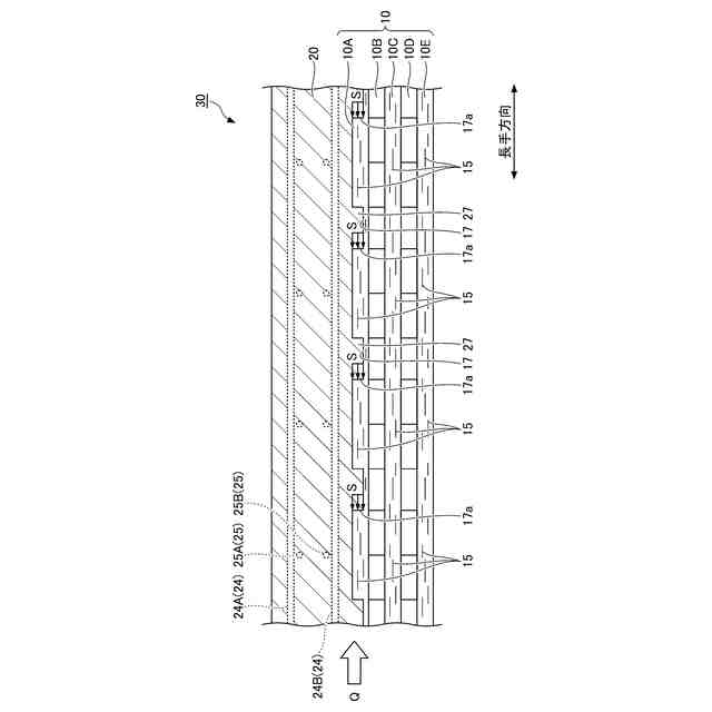
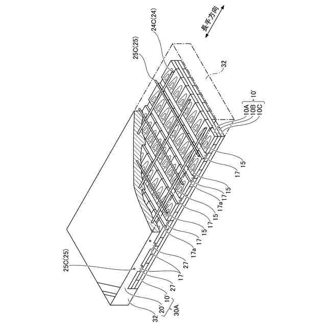
木質面材と、該木質面材の一対の広幅面のうちの上方の広幅面に配設され、主筋と配力筋を備えているコンクリート床版と、を有する、合成床であって、
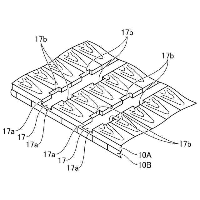
前記木質面材の前記上方の広幅面に溝条が設けられ、該溝条に前記コンクリート床版の一部である帯状のコッターが入り込んでおり、
前記木質面材のうち、前記溝条が設けられているコンクリート床版側の領域における繊維方向が、前記主筋の長手方向もしくは略長手方向に設定され、
前記溝条の長手方向が、前記繊維方向に交差する方向に設定されていることを特徴とする、合成床。
続きを表示(約 1,000 文字)
【請求項2】
前記溝条の長手方向と、前記コンクリート床版側の領域における繊維方向が直交していることを特徴とする、請求項1に記載の合成床。
【請求項3】
前記木質面材は、複数のラミナがそれぞれの繊維方向を交互に交差するようにして積層されている、直交集成材であり、
前記直交集成材の最上層のラミナに前記溝条が設けられ、該最上層のラミナの繊維方向が前記主筋の長手方向もしくは略長手方向に設定されていることを特徴とする、請求項1又は2に記載の合成床。
【請求項4】
前記木質面材は、複数のラミナがそれぞれの繊維方向を揃えた状態で幅方向に並べられて形成される、幅はぎ材、釘接合集成材、及び木ダボ接合集成材のいずれか一種であり、
前記幅はぎ材、釘接合集成材、及び木ダボ接合集成材のいずれか一種の上方に前記溝条が設けられ、ラミナの繊維方向が前記主筋の長手方向もしくは略長手方向に設定されていることを特徴とする、請求項1又は2に記載の合成床。
【請求項5】
前記コンクリート床版がプレキャストコンクリート床版であることを特徴とする、請求項1又は2に記載の合成床。
【請求項6】
前記合成床の短期耐力と長期耐力とたわみが、前記コンクリート床版のみにより設定されている、もしくは、
前記合成床の短期耐力と長期耐力が、前記コンクリート床版のみにより設定されている、もしくは、
前記合成床の短期耐力が、前記コンクリート床版のみにより設定されていることを特徴とする、請求項1又は2に記載の合成床。
【請求項7】
前記主筋が上端主筋と下端主筋を含み、該上端主筋と該下端主筋にそれぞれ上下の配力筋が交差している、2段筋を前記コンクリート床版が有することを特徴とする、請求項1又は2に記載の合成床。
【請求項8】
前記主筋が前記コンクリート床版の厚み方向の中央位置もしくは略中央位置に配筋され、該主筋が前記配力筋の下方に位置している、1段筋を前記コンクリート床版が有することを特徴とする、請求項1又は2に記載の合成床。
【請求項9】
前記主筋が前記コンクリート床版の厚み方向の中央位置もしくは略中央位置に配筋され、該主筋が前記配力筋の下方に位置している、1段筋を前記コンクリート床版が有し、
前記直交集成材が3層3プライであることを特徴とする、請求項3に記載の合成床。
発明の詳細な説明
【技術分野】
【0001】
本発明は、合成床に関する。
続きを表示(約 2,300 文字)
【背景技術】
【0002】
昨今の環境影響への負荷低減に対する高まりや、環境配慮への盛んな取り組みの中で、建築分野においては木質材を有効に活用した技術開発が盛んに行われており、木造の建物や木と鋼やコンクリートのハイブリット建物等においては、梁や柱、壁、床といった様々な構成部材が木質材により形成されている。木質材は、鉄骨やコンクリート等に比べて軽量であり、比強度が高く、加工性に優れており、その他、断熱性が高く、調湿作用があり、さらには、自然素材の醸し出す外観意匠性を有しており、自然素材故に二酸化炭素排出量が少なく、環境影響負荷への低減効果が高いといった様々な効果を奏する材料である。
【0003】
集合住宅等の建築物の床に目を向けると、床を木質面材等の木材のみで施工する場合に、遮音性や耐火性といった木材にとって課題となる性能を向上もしくは改善させるべく、木質面材とコンクリート床版が積層された合成床が施工される場合がある。
【0004】
ここで、特許文献1には、耐力板部材が提案されている。この耐力板部材は、木質繊維の繊維方向が層毎に交差するように積層された木質層と、木質層の一方の面に接合されたコンクリート層又はモルタル層とを備え、木質層とコンクリート層又はモルタル層との間で応力を伝達する応力伝達手段が設けられ、応力伝達手段として、コンクリート層又はモルタル層の下面において下方に突出して木質層の凹部に係合するコッターや、木質層に固定されてコンクリート層に埋設されるラグスクリューを取り上げている。木質層に設けられている凹部は平面視円形の凹部であり、多数の凹部が木質層の広幅面に分散して設けられている。
【先行技術文献】
【特許文献】
【0005】
特開2017-78307号公報
【発明の概要】
【発明が解決しようとする課題】
【0006】
特許文献1に記載される耐力板部材は、コンクリート層やモルタル層の下面にあるコッターが木質層の凹部に係合し、さらに、木質層に固定されている鉛直方向に延びるラグスクリューがコンクリート層やモルタル層に埋設されていることから、コンクリート層と木質層の間のせん断伝達性能(合成効果)は、凹部とコッターの係合部におけるせん断耐力とラグスクリューによるせん断耐力によって決定されることになる。しかしながら、このように凹部とコッターの係合部に加えてラグスクリューの打ち込みを構成要素とする構造では、製作手間を要することと製作コストが高くなることは避けられない。特に、特許文献1に記載される耐力板部材では、木質層の広幅面に平面視円形の多数の凹部が設けられていることから、凹部の加工手間と各凹部にラグスクリューを打ち込む加工手間は一層多くなり、このことに起因して耐力板部材の製作に多くの手間がかかることは明らかである。
【0007】
本発明は上記課題に鑑みてなされたものであり、製作の際の製作手間と製作コストの双方を抑制しながら、コンクリート床版と木質面材の間の高いせん断伝達性能を有する、合成床を提供することを目的としている。
【課題を解決するための手段】
【0008】
前記目的を達成すべく、本発明による合成床の一態様は、
木質面材と、該木質面材の一対の広幅面のうちの上方の広幅面に配設され、主筋と配力筋を備えているコンクリート床版と、を有する、合成床であって、
前記木質面材の前記上方の広幅面に溝条が設けられ、該溝条に前記コンクリート床版の一部である帯状のコッターが入り込んでおり、
前記木質面材のうち、前記溝条が設けられているコンクリート床版側の領域における繊維方向が、前記主筋の長手方向もしくは略長手方向に設定され、
前記溝条の長手方向が、前記繊維方向に交差する方向に設定されていることを特徴とする。
【0009】
本態様によれば、木質面材とその上方の広幅面に配設されているコンクリート床版とを有し、木質面材の上方の広幅面にある溝条にコンクリート床版の一部である帯状のコッターが入り込んでいる合成床に関し、木質面材において溝条が設けられているコンクリート床版側の領域における繊維方向が、コンクリート床版における主筋の長手方向もしくは略長手方向に設定され、溝条の長手方向が繊維方向に交差する方向に設定されていることにより、木質面材の繊維方向に交差する方向(例えば直交する方向)に比べて強度及び剛性が相対的に高い木質面材の繊維方向の剛性もしくは強度にて、コッターから作用するせん断力に対抗することとなり、特許文献1に記載されるラグスクリューやスタッドジベル等を適用することなく、コンクリート床版と木質面材の間の高いせん断伝達性能を有する(高い合成効果を発揮する)合成床を形成できる。
【0010】
尚、特許文献1では、木質層として直交集成材を適用しているが、最上層のラミナには平面視円形の多数の凹部が設けられており、本態様のように木質面材の上方の広幅面に連続した溝条(1本もしくは複数本)が設けられている構成と比べて製作手間が格段に高くなる。また、平面視円形の凹部が構成要件であることから、木質面材の上方の広幅面に設けられている溝条の長手方向と木質面材のコンクリート床版側の領域の繊維方向の関係に関する記載は当然に存在しておらず、本願発明の技術思想の開示がないことを付言する。
(【0011】以降は省略されています)
この特許をJ-PlatPat(特許庁公式サイト)で参照する
関連特許
株式会社フジタ
合成床
今日
株式会社フジタ
水電解装置
29日前
株式会社フジタ
清掃ロボット
今日
株式会社フジタ
清掃ロボット
1か月前
株式会社フジタ
結露対策設定装置
1か月前
株式会社フジタ
BIMモデル生成システム
2日前
株式会社フジタ
コンクリート吹付け作業支援システム
15日前
株式会社フジタ
シーリング材均し器具及びシーリング装置
28日前
株式会社フジタ
音響解析システム及び音響解析プログラム
28日前
公立大学法人公立諏訪東京理科大学
頭部装着装置、熱中症予防システム及び水分補給警告システム
7日前
個人
接合構造
2か月前
個人
タッチミー
1か月前
個人
屋台
2か月前
個人
野良猫ハウス
3か月前
個人
安心補助てすり
1か月前
個人
転落防止用手摺
2か月前
個人
フェンス
3か月前
個人
ベンリナアングル
1か月前
積水樹脂株式会社
柵体
2か月前
個人
筋交自動設定装置
2か月前
個人
居住車両用駐車場
3か月前
ニチハ株式会社
建築板
3か月前
個人
免震建築構造
今日
個人
熱抵抗多層断熱建材
3か月前
個人
補強部材
3か月前
個人
柵
3か月前
鹿島建設株式会社
壁体
3か月前
個人
防災建築物
1か月前
成友建設株式会社
建物
3か月前
個人
身体用シェルター
2か月前
株式会社フジタ
合成床
今日
株式会社シンケン
住宅
1か月前
個人
身体用シェルター
2か月前
三協立山株式会社
構造体
2か月前
三協立山株式会社
構造体
2か月前
三協立山株式会社
構造体
2か月前
続きを見る
他の特許を見る