TOP
|
特許
|
意匠
|
商標
特許ウォッチ
Twitter
他の特許を見る
10個以上の画像は省略されています。
公開番号
2025167856
公報種別
公開特許公報(A)
公開日
2025-11-07
出願番号
2024072824
出願日
2024-04-26
発明の名称
シーリング材均し器具及びシーリング装置
出願人
株式会社フジタ
,
株式会社ヒロテック
代理人
弁理士法人高橋・林アンドパートナーズ
主分類
E04F
21/165 20060101AFI20251030BHJP(建築物)
要約
【課題】外壁の目地にシーリング材を充填する作業をより簡便な構成で行う。
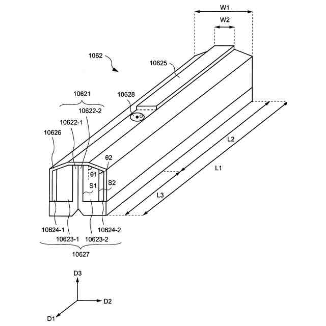
【解決手段】シーリング材均し器具は、第1方向に延在する支持部材と、支持部材に支持され、第1方向に延在する均し部材と、を有し、支持部材は、第1方向に沿った中心軸に対し左右に分割された第1支持部材と、第2支持部材と、から構成され、第1支持部材と第2支持部材のそれぞれは、互いに対向する第1面及び第2面と、を有し、第1支持部材及び第2支持部材の第2面のそれぞれに、均し部材が設けられ、第1支持部材及び第2支持部材が左右の方向に開くことにより、均し部材の幅が広がる。
【選択図】図1
特許請求の範囲
【請求項1】
第1方向に延在する支持部材と、
前記支持部材に支持され、前記第1方向に延在する均し部材と、
を有し、
前記支持部材は、前記第1方向に沿った中心軸に対し左右に分割された第1支持部材と、第2支持部材と、から構成され、
前記第1支持部材と前記第2支持部材のそれぞれは、互いに対向する第1面及び第2面と、を有し、
前記第1支持部材及び前記第2支持部材の前記第2面に、前記均し部材が設けられ、
前記第1支持部材及び前記第2支持部材が前記左右の方向に開くことにより、前記均し部材の幅が広がる、
シーリング材均し器具。
続きを表示(約 750 文字)
【請求項2】
前記第1支持部材の前記第1面と、前記第2支持部材の前記第1面とが、対向するように配置されている、
請求項1に記載のシーリング材均し器具。
【請求項3】
前記第1支持部材と前記第2支持部材とは、前記第1面の先端が回転中心となり、前記左右の方向に開く、
請求項2に記載のシーリング材均し器具。
【請求項4】
前記第1支持部材と前記第2支持部材とは、前記均し部材の幅が広がるように、前記左右の方向に広がる、
請求項2に記載のシーリング材均し器具。
【請求項5】
前記第1支持部材、前記第2支持部材、及び前記均し部材を覆う、コーティング層をさらに有する、請求項1に記載のシーリング材均し器具。
【請求項6】
前記第1支持部材及び前記第2支持部材は、前記第1方向からみたときにI字形状またはL字形状を有する、
請求項1に記載のシーリング材均し器具。
【請求項7】
前記第1支持部材及び前記第2支持部材は、前記L字形状の角部の外側にテーパ面を有する、
請求項6に記載のシーリング材均し器具。
【請求項8】
前記支持部材は、前記第1方向に直交する第2方向に沿って、少なくとも2つに分割される、
請求項6に記載のシーリング材均し器具。
【請求項9】
前記支持部材及び前記均し部材を、前記第1方向及び第2方向と直交する第3方向に貫通する貫通孔を有する、
請求項5に記載のシーリング材均し器具。
【請求項10】
請求項1乃至9のいずれか一項に記載のシーリング材均し器具を備える、
シーリング装置。
発明の詳細な説明
【技術分野】
【0001】
本発明は、建物の外壁の目地にシーリング材を充填するシーリング材均し器具及びシーリング装置に関する。
続きを表示(約 1,100 文字)
【背景技術】
【0002】
外壁を複数の外壁パネルによって施工した場合には、外壁パネル間に形成される目地に防水のためのシーリングが施工される。人手によってシーリング材を充填する工事を施工するためには、外壁に足場を架設したり、ゴンドラを吊り下げたりする必要がある。また、外壁パネルにシーリング材が付着するのを防止するために、目地の周りにマスキングテープを貼って養生する作業や、充填されたシーリング材の表面をヘラで均す作業が必要となる(特許文献1、2参照)。
【先行技術文献】
【特許文献】
【0003】
特開2021-28450号公報
特開2018-70822号公報
【発明の概要】
【発明が解決しようとする課題】
【0004】
しかしながら、目地の周りにマスキングテープを貼り、充填されたシーリング材の表面をヘラで均した後、マスキングテープを剥がす作業が必要となるため、作業工程が増加する。また、シーリング材をヘラで均しシーリング材の表面を平滑にする作業には、施工者の技量が必要となる。
【0005】
本発明はこのような問題に鑑みなされたものであり、外壁の目地にシーリング材を充填する作業をより簡便な構成で行うことを目的の一つとする。
【課題を解決するための手段】
【0006】
本発明の一実施形態に係るシーリング材均し器具は、第1方向に延在する支持部材と、支持部材に支持され、第1方向に延在する均し部材と、を有し、支持部材は、第1方向に沿った中心軸に対し左右に分割された第1支持部材と、第2支持部材と、から構成され、第1支持部材と第2支持部材のそれぞれは、互いに対向する第1面及び第2面と、を有し、第1支持部材及び第2支持部材の第2面に、均し部材が設けられ、第1支持部材及び第2支持部材が左右の方向に開くことにより、均し部材の幅が広がる。
【0007】
上記のシーリング材均し器具において、第1支持部材の第1面と、第2支持部材の第1面とが、対向するように配置されていてもよい。
【0008】
上記のシーリング材均し器具において、第1支持部材と第2支持部材とは、第1面の先端が回転中心となり、左右の方向に開いてもよい。
【0009】
上記のシーリング材均し器具において、第1支持部材と第2支持部材とは、均し部材の幅が広がるように、左右の方向に広がっていてもよい。
【0010】
上記のシーリング材均し器具において、第1支持部材、第2支持部材、及び均し部材を覆う、コーティング層をさらに有していてもよい。
(【0011】以降は省略されています)
この特許をJ-PlatPat(特許庁公式サイト)で参照する
関連特許
株式会社フジタ
合成床
1か月前
株式会社フジタ
保護具
1か月前
株式会社フジタ
緑化装置
1か月前
株式会社フジタ
水処理装置
1か月前
株式会社フジタ
水電解装置
2日前
株式会社フジタ
清掃ロボット
3日前
株式会社フジタ
木質建築部材
1か月前
株式会社フジタ
ビス打ち装置
1か月前
株式会社フジタ
窓用カバー部材
1か月前
株式会社フジタ
センサユニット
1か月前
株式会社フジタ
結露対策設定装置
1か月前
株式会社フジタ
バイオガス改質装置
1か月前
株式会社フジタ
駐車場緑化システム
1か月前
株式会社フジタ
地質性状予測システム
1か月前
株式会社フジタ
バイオガス改質システム
1か月前
株式会社フジタ
床衝撃音レベル予測システム
1か月前
株式会社フジタ
荷物昇降装置用の荷物載置機構
1か月前
株式会社フジタ
昆虫および昆虫の幼虫の飼育装置
1か月前
株式会社明電舎
電力系統システム
1か月前
株式会社フジタ
ビス補給装置およびビス打ちシステム
1か月前
株式会社フジタ
ハーフプレキャスト梁とその製作方法
1か月前
株式会社フジタ
飛沫感染、飛沫核感染防止のための衝立
1か月前
株式会社フジタ
シーリング材均し器具及びシーリング装置
1日前
株式会社フジタ
修繕計画支援システム及び修繕計画支援プログラム
1か月前
株式会社フジタ
コンクリート養生装置およびコンクリートの養生方法
1か月前
株式会社フジタ
バイオマスの乾燥システム及びバイオマスの乾燥方法
1か月前
株式会社フジタ
構造物の補強構造、構造物の補強方法、及び、補強部材の挿入装置
1か月前
株式会社フジタ
連絡情報提供装置、連絡情報提供方法、及び連絡情報提供プログラム
1か月前
株式会社フジタ
フレッシュコンクリートの品質評価装置およびフレッシュコンクリートの品質評価方法
1か月前
株式会社フジタ
音響解析システム及び音響解析プログラム
1日前
株式会社フジタ
建物の内部を3次元計測するために計測位置を演算処理するための前処理方法、プログラム、及び前処理装置
1か月前
株式会社フジタ
建物の内部を3Dスキャナを用いて3次元計測するための計測位置を決定するための探索方法、及びプログラム
1か月前
個人
接合構造
1か月前
個人
タッチミー
1か月前
個人
屋台
1か月前
個人
野良猫ハウス
2か月前
続きを見る
他の特許を見る