TOP
|
特許
|
意匠
|
商標
特許ウォッチ
Twitter
他の特許を見る
10個以上の画像は省略されています。
公開番号
2025144163
公報種別
公開特許公報(A)
公開日
2025-10-02
出願番号
2024043811
出願日
2024-03-19
発明の名称
センサユニット
出願人
株式会社フジタ
代理人
弁理士法人高橋・林アンドパートナーズ
主分類
E04F
21/18 20060101AFI20250925BHJP(建築物)
要約
【課題】ボードの裏面側に配置された下地材の位置を精度よく検出することができるセンサユニットを提供すること。
【解決手段】センサユニットは、ボードの表面側からボードの裏面側に配置された下地材を検出する下地材検出センサと、ボードの表面との接触を検出するボード表面検出部と、第1の面および第1の面と反対の第2の面を含み、第1の面から下地材検出センサが突出するように下地材検出センサを支持する第1の板状部材と、第2の面と対向する第3の面および第3の面と反対の第4の面を含み、第2の面から離隔して配置される第2の板状部材と、第2の面と接続される接続部材と、第3の面および接続部材と接続される弾性部材と、を含む。
【選択図】図3
特許請求の範囲
【請求項1】
ボードの表面側から前記ボードの裏面側に配置された下地材を検出する下地材検出センサと、
前記ボードの前記表面との接触を検出するボード表面検出部と、
第1の面および前記第1の面と反対の第2の面を含み、前記第1の面から前記下地材検出センサが突出するように前記下地材検出センサを支持する第1の板状部材と、
前記第2の面と対向する第3の面および前記第3の面と反対の第4の面を含み、前記第2の面から離隔して配置される第2の板状部材と、
前記第2の面と接続される接続部材と、
前記第3の面および前記接続部材と接続される弾性部材と、を含む、センサユニット。
続きを表示(約 1,100 文字)
【請求項2】
さらに、前記第2の面と接続され、前記第2の板状部材に設けられた開口を貫通する棒状部材を含む、請求項1に記載のセンサユニット。
【請求項3】
前記棒状部材は、少なくとも2つ以上設けられている、請求項2に記載のセンサユニット。
【請求項4】
さらに、前記第4の面と接続され、前記第2の板状部材から前記第1の板状部材に向かう方向に沿って前記第2の板状部材を移動させるアクチュエータを含む、請求項1に記載のセンサユニット。
【請求項5】
前記ボード表面検出部は、
前記第1の面側に配置されるキャスタ部と、
前記第1の面と接続され、前記キャスタ部を前記第1の板状部材から前記第2の板状部材へ向かう第1の方向に移動可能に支持するキャスタ支持部と、
前記第2の面側に配置され、前記キャスタ部との接触を検出するキャスタ検出センサと、を含み、
前記キャスタ部が前記ボードの前記表面と接触すると、前記キャスタ部が押されて前記キャスタ検出センサと接触する、請求項1に記載のセンサユニット。
【請求項6】
前記第1の方向から眺めた平面視において、前記弾性部材は、前記キャスタ部と重畳する、請求項5に記載のセンサユニット。
【請求項7】
前記ボード表面検出部は、少なくとも3つ以上設けられている、請求項6に記載のセンサユニット。
【請求項8】
前記少なくとも3つ以上の前記ボード表面検出部は、第1のボード表面検出部、第2のボード表面検出部、および第3のボード表面検出部を含み、
前記第1のボード表面検出部は、前記下地材検出センサの下方に設けられ、
前記第2のボード表面検出部および前記第3のボード表面検出部は、前記下地材検出センサと前記第1のボード表面検出部とを結ぶ線に対して対称的に設けられている、請求項7に記載のセンサユニット。
【請求項9】
前記第1のボード表面検出部、前記第2のボード表面検出部、および前記第3のボード表面検出部のうちの少なくとも2つによって前記ボードの前記表面との接触が検出されたとき、前記下地材検出センサによる前記下地材の検出を開始する、請求項8に記載のセンサユニット。
【請求項10】
前記第1のボード表面検出部と、前記第2のボード表面検出部および前記第3のボード表面検出部のうちの少なくとも1つとによって前記ボードの前記表面との接触が検出されたとき、前記下地材検出センサにより前記下地材の検出を開始する、請求項8に記載のセンサユニット。
発明の詳細な説明
【技術分野】
【0001】
本発明の一実施形態は、下地材に配置されたボードのビス打ちにおいて、ボードの裏面の下地材の位置を検出するセンサユニットに関する。
続きを表示(約 1,400 文字)
【背景技術】
【0002】
建築物の内装工事においては、鉄骨などの下地材で構成される壁面に、壁材として石膏ボードを貼り付ける作業が行われる場合がある。近年、作業者の負担を軽減するために、このような内装工事においても自動化が進められている。例えば、特許文献1~特許文献4には、壁面に石膏ボードを貼り付けて、ビスを打ち込むことができる自動化されたボード貼り付け装置が開示されている。
【先行技術文献】
【特許文献】
【0003】
特開2019-011666号公報
特開2020-163553号公報
特開2020-165264号公報
特開2020-165266号公報
【発明の概要】
【発明が解決しようとする課題】
【0004】
壁面に貼り付けられたボードに対して、自動ビス打ちロボットがビスを打ち込むとき、ボードを介して下地材までビスを打ち込むためには、ボードの裏面側の下地材の位置を検出する必要がある。しかしながら、ボードの表面の凹凸や自動ビス打ちロボットの移動制御のばらつき等に起因してセンサが下地材を検出する条件が変化し、これはセンサの検出精度の低下を招く。そのため、ボードの裏面側の下地材の位置の検出精度の向上が要望されている。
【0005】
本発明の一実施形態は、上記問題に鑑み、ボードの裏面側に配置された下地材の位置を精度よく検出することができるセンサユニットを提供することを目的の一つとする。
【課題を解決するための手段】
【0006】
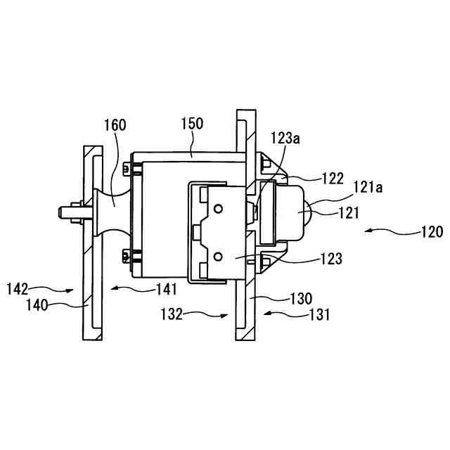
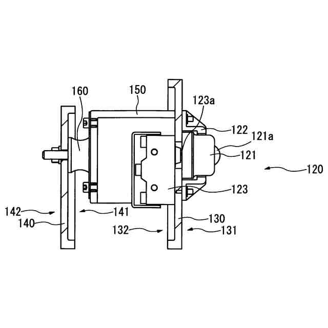
本発明の一実施形態に係るセンサユニットは、ボードの表面側からボードの裏面側に配置された下地材を検出する下地材検出センサと、ボードの表面との接触を検出するボード表面検出部と、第1の面および第1の面と反対の第2の面を含み、第1の面から下地材検出センサが突出するように下地材検出センサを支持する第1の板状部材と、第2の面と対向する第3の面および第3の面と反対の第4の面を含み、第2の面から離隔して配置される第2の板状部材と、第2の面と接続される接続部材と、第3の面および接続部材と接続される弾性部材と、を含む。
【0007】
センサユニットは、さらに、第2の面と接続され、第2の板状部材に設けられた開口を貫通する棒状部材を含んでもよい。棒状部材は、少なくとも2つ以上設けられていてもよい。
【0008】
センサユニットは、さらに、第4の面と接続され、第2の板状部材から第1の板状部材に向かう方向に沿って第2の板状部材を移動させるアクチュエータを含んでもよい。
【0009】
ボード表面検出部は、第1の面側に配置されるキャスタ部と、第1の面と接続され、キャスタ部を第1の板状部材から第2の板状部材へ向かう第1の方向に移動可能に支持するキャスタ支持部と、第2の面側に配置され、キャスタ部との接触を検出するキャスタ検出センサと、を含み、キャスタ部がボードの表面と接触すると、キャスタ部が押されてキャスタ検出センサと接触してもよい。
【0010】
第1の方向から眺めた平面視において、弾性部材は、キャスタ部と重畳してもよい。
(【0011】以降は省略されています)
この特許をJ-PlatPat(特許庁公式サイト)で参照する
関連特許
株式会社フジタ
合成床
1か月前
株式会社フジタ
保護具
1か月前
株式会社フジタ
合成床
1か月前
株式会社フジタ
緑化装置
1か月前
株式会社フジタ
水処理装置
1か月前
株式会社フジタ
水電解装置
3日前
株式会社フジタ
清掃ロボット
4日前
株式会社フジタ
木質建築部材
1か月前
株式会社フジタ
ビス打ち装置
1か月前
株式会社フジタ
センサユニット
1か月前
株式会社フジタ
窓用カバー部材
1か月前
株式会社フジタ
結露対策設定装置
1か月前
株式会社フジタ
情報取得システム
1か月前
株式会社フジタ
バイオガス改質装置
1か月前
株式会社フジタ
駐車場緑化システム
1か月前
株式会社フジタ
地質性状予測システム
1か月前
株式会社フジタ
バイオガス改質システム
1か月前
株式会社フジタ
床衝撃音レベル予測システム
1か月前
株式会社フジタ
荷物昇降装置用の荷物載置機構
1か月前
株式会社フジタ
昆虫および昆虫の幼虫の飼育装置
1か月前
株式会社フジタ
合成床、及び合成床と梁の接合構造
1か月前
株式会社明電舎
電力系統システム
1か月前
株式会社フジタ
ビス補給装置およびビス打ちシステム
1か月前
株式会社フジタ
ハーフプレキャスト梁とその製作方法
1か月前
株式会社フジタ
飛沫感染、飛沫核感染防止のための衝立
1か月前
株式会社フジタ
シーリング材均し器具及びシーリング装置
2日前
株式会社フジタ
修繕計画支援システム及び修繕計画支援プログラム
1か月前
株式会社フジタ
バイオマスの乾燥システム及びバイオマスの乾燥方法
1か月前
株式会社フジタ
コンクリート養生装置およびコンクリートの養生方法
1か月前
株式会社フジタ
構造物の補強構造、構造物の補強方法、及び、補強部材の挿入装置
1か月前
株式会社フジタ
連絡情報提供装置、連絡情報提供方法、及び連絡情報提供プログラム
1か月前
株式会社フジタ
フレッシュコンクリートの品質評価装置およびフレッシュコンクリートの品質評価方法
1か月前
株式会社フジタ
音響解析システム及び音響解析プログラム
2日前
株式会社フジタ
建物の内部を3次元計測するために計測位置を演算処理するための前処理方法、プログラム、及び前処理装置
1か月前
株式会社フジタ
建物の内部を3Dスキャナを用いて3次元計測するための計測位置を決定するための探索方法、及びプログラム
1か月前
個人
接合構造
1か月前
続きを見る
他の特許を見る