TOP
|
特許
|
意匠
|
商標
特許ウォッチ
Twitter
他の特許を見る
公開番号
2025144928
公報種別
公開特許公報(A)
公開日
2025-10-03
出願番号
2024044851
出願日
2024-03-21
発明の名称
バイオガス改質装置
出願人
株式会社フジタ
代理人
弁理士法人高橋・林アンドパートナーズ
主分類
B01D
53/18 20060101AFI20250926BHJP(物理的または化学的方法または装置一般)
要約
【課題】メタン発酵型バイオガスから効率的に二酸化炭素を除去するバイオガス改質装置を提供すること。
【解決手段】バイオガス改質装置は、装置本体と、前記装置本体の内部にバイオガスを供給するバイオガス供給部と、前記バイオガス供給部より上方に配置され、前記装置本体の内部においてアルカリ反応液を下方に向けて噴射する反応液噴射部と、を備える。バイオガス発生装置は、前記装置本体の底部に貯留した前記アルカリ反応液を前記反応液噴射部に返送する反応液返送部をさらに備えていてもよい。
【選択図】図1
特許請求の範囲
【請求項1】
装置本体と、
前記装置本体の内部にバイオガスを供給するバイオガス供給部と、
前記バイオガス供給部より上方に配置され、前記装置本体の内部においてアルカリ反応液を下方に向けて噴射する反応液噴射部と、
を備える、バイオガス改質装置。
続きを表示(約 880 文字)
【請求項2】
前記装置本体の底部に貯留した前記アルカリ反応液を前記反応液噴射部に返送する反応液返送部をさらに備える、請求項1に記載のバイオガス改質装置。
【請求項3】
前記反応液噴射部より上方に設けられた気液分離部をさらに備える、請求項1に記載のバイオガス改質装置。
【請求項4】
前記気液分離部は、水分とバイオガスとを分離するフィルタ層、及び前記フィルタ層を洗浄する洗浄部を含む、請求項3に記載のバイオガス改質装置。
【請求項5】
前記フィルタ層は、第1フィルタ層、及び前記第1フィルタ層よりも上方に配置された第2フィルタ層を含み、
前記第2フィルタ層は、前記第1フィルタ層よりも空隙率が低いろ材で構成される、請求項4に記載のバイオガス改質装置。
【請求項6】
前記第1フィルタ層は、デミスタであり、
前記第2フィルタ層は、吸着材である、請求項5に記載のバイオガス改質装置。
【請求項7】
前記洗浄部は、洗浄水を噴射する複数の噴射孔を有する洗浄管、及び前記洗浄管の内部に前記洗浄水を供給する洗浄水供給管を含み、
前記洗浄管は、前記第1フィルタ層と前記第2フィルタ層との間に配置されている、請求項5に記載のバイオガス改質装置。
【請求項8】
前記洗浄管は、前記装置本体の内部において長手方向を回転軸として回転可能に構成されている、請求項7に記載のバイオガス改質装置。
【請求項9】
前記反応液噴射部から噴射されるアルカリ反応液に調整液を追加する濃度調整部をさらに備え、
前記調整液は、前記装置本体の底部に貯留した前記アルカリ反応液よりも高い濃度で水酸化物イオンを含む、請求項1に記載のバイオガス改質装置。
【請求項10】
前記バイオガス供給部は、前記装置本体の内部に向かって延在するガス分配管、及び前記ガス分配管に対してエアパージを実行するパージ実行部を含む、請求項1に記載のバイオガス改質装置。
発明の詳細な説明
【技術分野】
【0001】
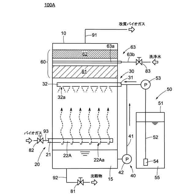
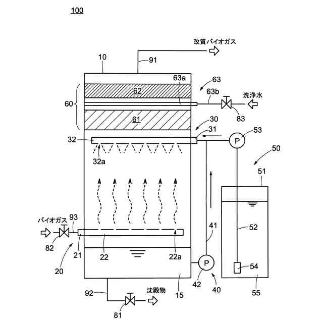
本発明の一実施形態は、バイオガス改質装置に関する。
続きを表示(約 1,500 文字)
【背景技術】
【0002】
従来、メタン発酵型バイオガス(以下、単に「バイオガス」と呼ぶ。)からエネルギーを回収する発電プラントが知られている。バイオガスは、60%前後のメタンと40%前後の二酸化炭素を主成分とする組成で構成され、生ごみ等の有機廃棄物を発酵させることにより生成することができる。前述の発電プラントでは、バイオガスの熱量を利用して発電を行うが、バイオガスの熱量は都市ガスに比べて低く、エネルギーの回収効率が悪いという問題がある。このような問題に鑑み、バイオガスの熱量を高めるために、バイオガスに含まれる二酸化炭素を除去し、メタン濃度を高める技術が知られている。例えば、特許文献1には、分離膜処理を用いてバイオガスからメタンを濃縮して回収するバイオガスのメタン濃縮方法が開示されている。
【先行技術文献】
【特許文献】
【0003】
特開2013-095727号公報
【発明の概要】
【発明が解決しようとする課題】
【0004】
上記従来技術によるメタン濃縮方法では、二酸化炭素の除去に多段式の分離膜を用いているが、分離膜は基本的に消耗品であり、劣化した分離膜は都度交換しなければならない。そのため、従来のメタン濃縮方法を用いた装置は、運転コストが高くなってしまうという問題があった。また、従来の分離膜を用いたメタン濃縮方法は、分離膜に対してバイオガスを加圧供給するために高圧コンプレッサを用いており、そのような設備を要することも装置コストの低減及び小型化を妨げる要因となっていた。
【0005】
本発明の課題の一つは、メタン発酵型バイオガスから効率的に二酸化炭素を除去するバイオガス改質装置を提供することにある。
【課題を解決するための手段】
【0006】
本発明の一実施形態におけるバイオガス改質装置は、装置本体と、前記装置本体の内部にバイオガスを供給するバイオガス供給部と、前記バイオガス供給部より上方に配置され、前記装置本体の内部においてアルカリ反応液を下方に向けて噴射する反応液噴射部と、を備える。
【0007】
前記バイオガス改質装置は、前記装置本体の底部に貯留した前記アルカリ反応液を前記反応液噴射部に返送する反応液返送部をさらに備えていてもよい。
【0008】
前記バイオガス改質装置は、前記反応液噴射部より上方に設けられた気液分離部をさらに備えていてもよい。この場合において、前記気液分離部は、水分とバイオガスとを分離するフィルタ層、及び前記フィルタ層を洗浄する洗浄部を含んでいてもよい。
【0009】
前記気液分離部は、第1フィルタ層及び前記第1フィルタ層よりも上方に配置された第2フィルタ層を含んでいてもよい。このとき、前記第2フィルタ層は、前記第1フィルタ層よりも空隙率が低いろ材で構成されていてもよい。例えば、前記第1フィルタ層は、デミスタであってもよく、前記第2フィルタ層は、吸着材)(好ましくは、活性炭)であってもよい。
【0010】
前記バイオガス改質装置において、前記洗浄部は、洗浄水を噴射する複数の噴射孔を有する洗浄管、及び前記洗浄管の内部に前記洗浄水を供給する洗浄水供給管を含んでもよい。このとき、前記洗浄管は、前記第1フィルタ層と前記第2フィルタ層との間に配置されていてもよい。また、前記洗浄管は、前記装置本体の内部において長手方向を回転軸として回転可能に構成されていてもよい。
(【0011】以降は省略されています)
この特許をJ-PlatPat(特許庁公式サイト)で参照する
関連特許
株式会社フジタ
合成床
10日前
株式会社フジタ
保護具
3日前
株式会社フジタ
緑化装置
8日前
株式会社フジタ
水処理装置
12日前
株式会社フジタ
木質建築部材
12日前
株式会社フジタ
ビス打ち装置
9日前
株式会社フジタ
センサユニット
9日前
株式会社フジタ
窓用カバー部材
2日前
株式会社フジタ
情報取得システム
12日前
株式会社フジタ
結露対策設定装置
2日前
株式会社フジタ
駐車場緑化システム
8日前
株式会社フジタ
バイオガス改質装置
8日前
株式会社フジタ
地質性状予測システム
3日前
株式会社フジタ
バイオガス改質システム
8日前
株式会社フジタ
床衝撃音レベル予測システム
12日前
株式会社フジタ
荷物昇降装置用の荷物載置機構
8日前
株式会社フジタ
昆虫および昆虫の幼虫の飼育装置
4日前
株式会社明電舎
電力系統システム
12日前
株式会社フジタ
合成床、及び合成床と梁の接合構造
15日前
株式会社フジタ
ビス補給装置およびビス打ちシステム
9日前
株式会社フジタ
ハーフプレキャスト梁とその製作方法
10日前
株式会社フジタ
飛沫感染、飛沫核感染防止のための衝立
2日前
株式会社フジタ
修繕計画支援システム及び修繕計画支援プログラム
12日前
株式会社フジタ
バイオマスの乾燥システム及びバイオマスの乾燥方法
12日前
株式会社フジタ
コンクリート養生装置およびコンクリートの養生方法
3日前
株式会社フジタ
構造物の補強構造、構造物の補強方法、及び、補強部材の挿入装置
12日前
株式会社フジタ
連絡情報提供装置、連絡情報提供方法、及び連絡情報提供プログラム
9日前
株式会社フジタ
フレッシュコンクリートの品質評価装置およびフレッシュコンクリートの品質評価方法
9日前
株式会社フジタ
建物の内部を3次元計測するために計測位置を演算処理するための前処理方法、プログラム、及び前処理装置
9日前
株式会社フジタ
建物の内部を3Dスキャナを用いて3次元計測するための計測位置を決定するための探索方法、及びプログラム
9日前
ユニチカ株式会社
複合中空糸膜
9日前
東レ株式会社
中空糸膜モジュール
8日前
株式会社ニクニ
液体処理装置
22日前
日本化薬株式会社
メタノール改質触媒
23日前
株式会社MRT
微細バブル発生装置
12日前
日本ソリッド株式会社
水中懸濁物質付着素材
1か月前
続きを見る
他の特許を見る