TOP
|
特許
|
意匠
|
商標
特許ウォッチ
Twitter
他の特許を見る
10個以上の画像は省略されています。
公開番号
2025144722
公報種別
公開特許公報(A)
公開日
2025-10-03
出願番号
2024044548
出願日
2024-03-21
発明の名称
中空糸膜モジュール
出願人
東レ株式会社
代理人
主分類
B01D
63/02 20060101AFI20250926BHJP(物理的または化学的方法または装置一般)
要約
【課題】低い圧力損失と高いモジュール処理性能の両立を実現し、更に中空糸膜の湾曲による耐久性低下を防止して長期間使用することができる中空糸膜モジュールを提供する。
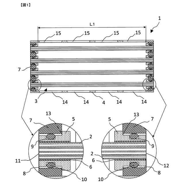
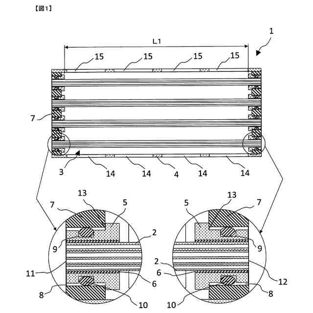
【解決手段】中空糸膜モジュール1は、複数本の中空糸膜2を束ねた糸束の外周部分をカバー4で囲ったものであり、糸束が、両端部に接続具5を装着した5本以上の中空糸膜を束ねたものであり、接続具とシール部材10を介して嵌合した2個以上で1組と成すヘッダー7を備え、糸束はヘッダーに対して複数組嵌合されており、糸束は、隣接する糸束と隙間を空けて配置されており、接続具と中空糸膜はポッティング材によって固定されており、ヘッダーに嵌合された複数組の糸束を一括りとして、複数組の糸束の外周部分をカバーで囲い、カバーは、一対の対向する面において50%以上開口しており、接続具の少なくとも一部分はヘッダーに埋没しており、埋没した部分にシール部材が装着されている。
【選択図】図1
特許請求の範囲
【請求項1】
複数本の中空糸膜を束ねた糸束の外周部分をカバーで囲った中空糸膜モジュールであって、前記複数本の中空糸膜を束ねた糸束が、両端部に接続具を装着した少なくとも5本以上の中空糸膜を束ねたものであり、
前記接続具とシール部材を介して嵌合した2個以上で1組と成すヘッダーを備え、
前記糸束は前記2個以上で1組と成すヘッダーに対して複数組嵌合されており、
前記糸束は、隣接する糸束と隙間を空けて配置されており、
前記接続具と前記中空糸膜はポッティング材によって固定されており、
前記2個以上で1組と成すヘッダーに嵌合された複数組の糸束を一括りとして、前記複数組の糸束の外周部分をカバーで囲い、
前記カバーは、少なくとも一対の対向する面において、50%以上開口しており、
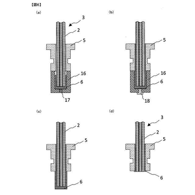
前記接続具の長手方向の一端を含む少なくとも一部分は前記ヘッダーに埋没しており、
前記埋没した部分に前記シール部材が装着されている中空糸膜モジュール。
続きを表示(約 320 文字)
【請求項2】
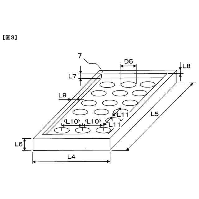
前記中空糸膜の長手方向に対して垂直方向の断面において、前記カバーの内壁より内側部分の面積をAとし、前記中空糸膜の外径より内側の面積をBとし、前記中空糸膜の本数をCとしたとき、(B×C)/A < 0.30の関係を満たす、請求項1に記載の中空糸膜モジュール。
【請求項3】
除湿もしくは加湿用途に用いることを特徴とする、請求項1または2に記載の中空糸膜モジュール。
【請求項4】
空調機用に用いることを特徴とする、請求項3に記載の中空糸膜モジュール。
【請求項5】
分離膜用途として複数本を組み合わせて用いることを特徴とする、請求項1または2に記載の中空糸膜モジュール。
発明の詳細な説明
【技術分野】
【0001】
本発明は、加湿用途もしくは除湿用途に用いる中空糸膜モジュールに関するものである。
続きを表示(約 2,200 文字)
【背景技術】
【0002】
近年、中空糸膜を含む機能糸素材の利用が進み、燃料電池のイオン交換膜への保湿を行う加湿用途のモジュールや、室内空間の湿度を除去する空調機の除湿用途のモジュール等にも、中空糸膜が適用されるようになってきた。
【0003】
一般に、この種の中空糸膜モジュールは、外部配管と接続するための箱状の筐体の中に、複数本並べた状態で搭載されている。そして、中空糸膜モジュール本体は、筒状容器の内部に中空糸膜束が収納され、両端部分では、中空糸膜間の隙間及び中空糸膜と筒状容器の内径部が封止材により固定された構造となっている。また、中空糸膜の両端部は、断面が開口されて中空糸膜内部を通る第1の流路を形成しており、更に、筒状容器の側面には、導入孔および排出孔を有することで、中空糸膜外を通る第2の流路が形成されている。第2の流路では、処理流体が導入孔から入り、筒状容器に内包する中空糸膜同士の隙間を通過した後、排出孔から排出される。空調機の除湿用途の場合であれば、導入孔及び排出孔は、中空糸膜モジュール側壁の対向する面に設けられ、第2の流路が中空糸膜の軸方向に対して直交する様に配置されている。
【0004】
また、第2の流路を通過する処理流体は、空調機の除湿用途の場合であれば外気であることが一般的であり、中空糸膜の壁面を介して第1の流路内に流れる調湿液との間で水分を受け渡すことで、第2の流路内の気体を除湿する仕組みとなっている。そのため、中空糸膜モジュール内に流入した外気が、中空糸膜モジュール内に装填されている全ての中空糸に到達できることが、除湿の効率を高めるために重要となる。
【0005】
また、筒状容器内の中空糸膜は、弛んで湾曲している場合、湾曲した箇所に応力が集中した状態となり長期使用時の耐久性が低下してしまうので、筒状容器内の中空糸膜は弛むことなく真っ直ぐに固定されている必要がある。
【0006】
一般的に上述の中空糸膜モジュールを作製するためには、筒状容器の開口部分から中空糸膜を束状にして軸方向に挿入し、中空糸膜を筒状容器内に配置することになる。この時、中空糸膜の充填密度が高い中空糸膜モジュールの場合、複数本の中空糸膜を一塊の束状である中空糸膜束にした上で、中空糸膜束の外周部分を絞って筒状容器へ挿入することになるので、中空糸膜は自由に動くことはできない。そのため、中空糸膜に蛇行等の乱れが無い状態で中空糸膜束を絞ることができれば、筒状容器内の中空糸膜が真っ直ぐに整った中空糸膜モジュールを作ることができる。しかしながら、完成した中空糸膜モジュールに処理流体を流す場合、中空糸膜が密に詰まった状態であるため、中空糸膜束の内層部分に近づくほど流路抵抗が大きくなる。そのため、処理流体の殆どは、圧力損失が低い中空糸膜束の表層部を通過してしまい、圧力損失の高くなる中空糸膜束の内層部分に到達することはできない。これでは、中空糸膜束の内層部分に配置された中空糸膜が有効に使われないため、モジュールの処理性能は大幅に低下してしまう。
【0007】
反対に中空糸膜の充填密度が低い中空糸膜モジュールの場合、中空糸膜は筒状容器内で自由に動くことができるため、中空糸膜モジュール作製段階において中空糸膜が筒状容器の片側に偏ってしまい、中空糸膜束と筒状容器との間に大きな隙間が生じてしまう。この状態で作製された中空糸膜モジュールに処理流体を流した場合、処理流体の殆どは、圧力損失の低い中空糸膜束と筒状容器との隙間部分を通過してしまう。これでは、処理流体の殆どが中空糸膜に触れないままモジュール内を通過することとなり、モジュールの処理性能は大幅に低下してしまう。また、一部の中空糸膜は、筒状容器内で偏る際に、蛇行や弛みを生じながら移動するため、後工程で封止材にて固定されると、完成した中空糸膜モジュール内で中空糸膜が湾曲した状態となってしまう。湾曲した中空糸膜は、湾曲した箇所に応力が集中して高負荷の状態となるため、長期使用時の耐久性が低下し、結果として中空糸膜モジュールの寿命を縮めてしまう。
【0008】
ここで、中空糸膜モジュール内に装填された中空糸膜束の内層部分に処理流体を到達させる手段としては、複数本の中空糸膜を小径の筒状容器に入れた小型の中空糸膜モジュールを複数個作製し、この小型の中空糸膜モジュールを1つの大きな筒状容器内に隙間を空けて並べる提案がなされている。(特許文献1)
また、中空糸膜の偏りを防止する手段としては、封止材で中空糸膜を筒状容器に固定する前工程において、複数の穴を有する支持体を筒状容器の両端部に設け、この穴部分に中空糸膜を挿入して支持する提案がされている。(特許文献2)
【先行技術文献】
【特許文献】
【0009】
特開2010-117094号公報
特許第03908052号公報
【発明の概要】
【発明が解決しようとする課題】
【0010】
しかし、特許文献1に記載されているような中空糸膜モジュールは、第2の流路における圧力損失が大きく、処理流体に高い圧力をかけることが前提となっている。そのため、処理流体を大気圧程度の低い圧力で流す中空糸膜モジュールに適用することができない。
(【0011】以降は省略されています)
この特許をJ-PlatPat(特許庁公式サイト)で参照する
関連特許
東レ株式会社
電池
26日前
東レ株式会社
化粧料
1か月前
東レ株式会社
積層フィルム
2か月前
東レ株式会社
光透過性表皮材
2か月前
東レ株式会社
無配向フィルム
1か月前
東レ株式会社
不織布の製造装置
2か月前
東レ株式会社
貼合体の製造方法
1か月前
東レ株式会社
赤外線遮蔽構成体
1か月前
東レ株式会社
飛翔体用ブレード
1か月前
東レ株式会社
フィルムの製造装置
1か月前
東レ株式会社
テーパ付き円筒部材
2か月前
東レ株式会社
太陽電池モジュール
2か月前
東レ株式会社
車両用衝撃吸収部材
1か月前
東レ株式会社
複合成形体の製造方法
1か月前
東レ株式会社
ポリエステルフィルム
1か月前
東レ株式会社
遠心ポッティング方法
1か月前
東レ株式会社
糸送り装置および糸送り方法
2か月前
東レ株式会社
シート、硬化物、硬化接着物
3日前
東レ株式会社
二軸配向ポリオレフィンフィルム
1か月前
東レ株式会社
異物検査装置および異物検査方法
3日前
東レ株式会社
ポリオレフィン系樹脂発泡シート
1か月前
東レ株式会社
ポリアミド樹脂組成物および成形品
1か月前
東レ株式会社
電子部品の製造方法および樹脂組成物
1か月前
東レ株式会社
フィルムの製造装置、及び、吸引装置
1か月前
東レ株式会社
顆粒状ポリエステルアミドの製造方法
1か月前
TMTマシナリー株式会社
糸巻取装置
2か月前
東レ株式会社
混紡糸およびそれを含む布帛、繊維製品
2か月前
TMTマシナリー株式会社
糸巻取装置
2か月前
TMTマシナリー株式会社
糸巻取装置
2か月前
東レ株式会社
耐炎化繊維束および炭素繊維束の製造方法
2か月前
東レ株式会社
湿式不織布、および固体電解質用補強シート
1か月前
東レ株式会社
液体電解用多孔質輸送層およびその製造方法
1か月前
東レ株式会社
3Dプリンター用フィラメント及びその製造方法
1か月前
東レ株式会社
気体分離膜モジュールの検査装置および検査方法
2か月前
東レ株式会社
人工皮革およびその製造方法ならびに衣料、家具
2か月前
東レ株式会社
人工皮革およびその製造方法、衣料、ならびに鞄
2か月前
続きを見る
他の特許を見る