TOP
|
特許
|
意匠
|
商標
特許ウォッチ
Twitter
他の特許を見る
10個以上の画像は省略されています。
公開番号
2025149077
公報種別
公開特許公報(A)
公開日
2025-10-08
出願番号
2024049515
出願日
2024-03-26
発明の名称
糸巻取装置
出願人
TMTマシナリー株式会社
,
東レ株式会社
代理人
弁理士法人ATEN
主分類
B65H
57/28 20060101AFI20251001BHJP(運搬;包装;貯蔵;薄板状または線条材料の取扱い)
要約
【課題】ボビンへの糸掛けの際に、サクションガンに吸引保持される糸の張力をオペレータが容易に把握可能にする。
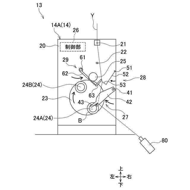
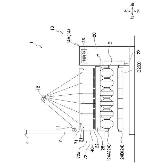
【解決手段】糸巻取装置13は、複数のボビンBが前後方向に並べて装着されたボビンホルダ24と、トラバース装置30と、コンタクトローラ25と、トラバース装置30及びコンタクトローラ25を支持する支持部材40と、ボビンホルダ24の後端部及び支持部材40の後端部を片持ち支持する機台20と、複数のボビンBのうちの少なくとも1つのボビンBに掛けられる糸Yの張力を測定する張力計71と、張力計71によって測定された糸Yの張力値を表示する表示部76とを含む。表示部76は、複数のボビンBへの糸掛け作業のためにサクションガン80を操作するオペレータが目視可能な位置に配置されている。
【選択図】図7
特許請求の範囲
【請求項1】
複数のボビンが所定の軸方向に並べて装着されたボビンホルダと、
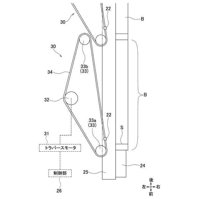
前記複数のボビンに巻き取られる複数の糸をトラバースするためのトラバース装置と、
前記軸方向に延び、前記ボビンホルダに装着された前記複数のボビンに前記複数の糸が巻き取られて形成されるパッケージに接圧を付与するコンタクトローラと、
前記軸方向に延び、前記トラバース装置及び前記コンタクトローラを支持する支持部材と、
前記軸方向において、前記ボビンホルダの基端部及び前記支持部材の基端部を片持ち支持する機台と、
前記複数のボビンのうちの少なくとも1つのボビンに掛けられる糸の張力を測定する張力計と、
前記張力計によって測定された前記糸の張力値を表示する表示部と、
を備え、
前記表示部は、前記複数のボビンへの糸掛け作業のためにサクションガンを操作するオペレータが目視可能な位置に配置されている糸巻取装置。
続きを表示(約 480 文字)
【請求項2】
前記表示部は、前記軸方向において、前記支持部材の前記機台に支持された前記基端部とは反対側にある先端部に取り付けられている請求項1に記載の糸巻取装置。
【請求項3】
前記支持部材は、前記軸方向における前記先端部に設けられたカバーを有し、
前記表示部は、前記カバーに取り付けられている請求項2に記載の糸巻取装置。
【請求項4】
前記表示部は、前記軸方向において、前記カバーの先端面に取り付けられている請求項3に記載の糸巻取装置。
【請求項5】
前記張力計は、前記糸が走行する糸走行方向において、前記ボビンホルダの上流側に固定して配置されている請求項1~4の何れか1項に記載の糸巻取装置。
【請求項6】
前記複数のボビンに巻き取られる複数の糸に対応して設けられた複数の綾振り支点ガイドを備え、
前記張力計は、前記糸が走行する糸走行方向において、前記複数の綾振り支点ガイドのうちの1つの前記綾振り支点ガイドの上流側に配置されている請求項1~5の何れか1項に記載の糸巻取装置。
発明の詳細な説明
【技術分野】
【0001】
本発明は、糸を巻き取る糸巻取装置に関する。
続きを表示(約 2,100 文字)
【背景技術】
【0002】
特許文献1には、紡糸装置から紡出された複数の糸を、ボビンホルダに装着された複数のボビンに巻き取って複数のパッケージを形成するための糸巻取装置が開示されている。紡糸装置から紡出された複数の糸は、オペレータが操作するサクションガンに吸引保持された状態で各ボビンの端部に形成されたスリットに掛けられることによって各ボビンに巻き取られる。
【0003】
ここで、糸の張力が大きすぎると、糸が強く張った状態でスリットへの糸掛け動作が行われることになる。そうすると、糸掛け動作に関与する部材(スリットを含む)と糸との接触によって糸に負荷が係ると、糸切れを引き起こすおそれがある。一方で、スリットに掛けられる糸の張力が小さすぎても、糸が弛んでしまうことによって他の部材に糸が絡まり、結果的に糸切れを引き起こすおそれがある。このため、従来から、サクションガンに吸引保持される糸の張力を張力計によって測定し、オペレータが張力計の測定値を参照しつつサクションガンの吸引圧を調整することによって、スリットに掛けられる糸の張力を適切に調整している。張力計として、オペレータが操作するハンディタイプや、所定の位置に固定された固定タイプなどが知られている。
【先行技術文献】
【特許文献】
【0004】
特開2015-164875号公報
【発明の概要】
【発明が解決しようとする課題】
【0005】
しかし、ハンディタイプの張力計が用いられる場合、オペレータは、サクションガンを一旦固定スタンド等に預けてから張力計を操作する必要がある。なぜなら、サクションガンが高重量の部材であり、オペレータが片手で張力計を操作する場合、もう片方の手だけでサクションガンを支えることが困難だからである。また、固定タイプの張力計が用いられる場合、一般に、張力計の測定値は、オペレータがサクションガンを操作する作業スペースとは離れた位置に配置された制御モニタに表示される。このため、オペレータは、サクションガンを固定スタンド等に預けてから、制御モニタまで張力値を確認しに行く必要がある。以上のように、オペレータは、サクションガンに吸引保持される糸の張力値を確認するために、サクションガンを一旦固定スタンド等に預ける必要があり、作業の手間となっている。加えて、オペレータが糸の張力値を確認するのに際して固定スタンド等に預けられたサクションガンには糸が吸引され続ける。これらの糸は廃棄されるため、糸のロスにつながる。このような問題は、特に、サクションガンに吸引保持される糸の張力が低いほど顕著に現れる。すなわち、糸の張力が低いほど、糸の張力をより正確に把握する必要があり、その分だけ作業の手間も増大する。
【0006】
本発明の目的は、ボビンへの糸掛けの際に、サクションガンに吸引保持される糸の張力をオペレータが容易に把握可能にすることである。
【課題を解決するための手段】
【0007】
本発明の糸巻取装置は、複数のボビンが所定の軸方向に並べて装着されたボビンホルダと、前記複数のボビンに巻き取られる複数の糸をトラバースするためのトラバース装置と、前記軸方向に延び、前記ボビンホルダに装着された前記複数のボビンに前記複数の糸が巻き取られて形成されるパッケージに接圧を付与するコンタクトローラと、前記軸方向に延び、前記トラバース装置及び前記コンタクトローラを支持する支持部材と、前記軸方向において、前記ボビンホルダの基端部及び前記支持部材の基端部を片持ち支持する機台と、前記複数のボビンのうちの少なくとも1つのボビンに掛けられる糸の張力を測定する張力計と、前記張力計によって測定された前記糸の張力値を表示する表示部と、を備え、前記表示部は、前記複数のボビンへの糸掛け作業のためにサクションガンを操作するオペレータが目視可能な位置に配置されている。
【0008】
本発明によれば、ボビンに掛けられる糸の張力値を表示する表示部は、複数のボビンへの糸掛け作業のためにサクションガンを操作するオペレータが目視可能な位置に配置されている。このため、糸掛け作業を行うオペレータがサクションガンを操作しながら、表示部に表示された糸の張力値を見ることができ、糸の張力値を容易に把握することができる。特に、サクションガンに吸引保持される糸の張力が低く、糸の張力を正確に把握する必要性が大きい場合に、本発明はより効果的である。
【0009】
本発明の糸巻取装置において、前記表示部は、前記軸方向において、前記支持部材の前記機台に支持された前記基端部とは反対側にある先端部に取り付けられていることが好ましい。
【0010】
一般に、サクションガンを用いた糸掛け作業は、軸方向における支持部材の先端部側から行われる。本発明によれば、表示部は、サクションガンを操作するオペレータが見やすい支持部材の先端部に取り付けられている。このため、オペレータは、糸の張力をさらに容易に把握することができる。
(【0011】以降は省略されています)
この特許をJ-PlatPat(特許庁公式サイト)で参照する
関連特許
TMTマシナリー株式会社
糸巻取機
9日前
個人
バンド
2か月前
個人
包装容器
1か月前
株式会社和気
包装用箱
9日前
株式会社バンダイ
物品
29日前
三甲株式会社
容器
13日前
個人
介護用コップ
2か月前
株式会社ナベル
検査装置
7日前
三甲株式会社
容器
2か月前
個人
ブリスタ包装体
1か月前
個人
容器
1か月前
個人
異常検知式部品供給装置
1か月前
日清食品株式会社
ピロー包装機
2か月前
三甲株式会社
容器
2か月前
株式会社高木包装
搬送箱
1か月前
三甲株式会社
容器
1か月前
株式会社カネカ
積層装置
1か月前
株式会社トーモク
包装箱
1か月前
株式会社トーモク
包装箱
1か月前
花王株式会社
組立体
1か月前
個人
袋体の自立保持シート
1か月前
伊東電機株式会社
搬送装置
1か月前
靜甲株式会社
容器搬送装置
2か月前
新輝合成株式会社
くず入れ
28日前
伊東電機株式会社
搬送装置
15日前
伊東電機株式会社
搬送装置
27日前
村田機械株式会社
糸巻取機
1か月前
靜甲株式会社
容器整列装置
1か月前
株式会社吉野工業所
吐出容器
1か月前
株式会社エフピコ
包装用容器
1か月前
株式会社三協システム
製函機
1か月前
株式会社吉野工業所
排出容器
1か月前
高津紙器株式会社
容器
14日前
株式会社クレハ
収容箱
2か月前
株式会社エフピコ
包装用容器
2か月前
アスカカンパニー株式会社
連結容器
2日前
続きを見る
他の特許を見る