TOP
|
特許
|
意匠
|
商標
特許ウォッチ
Twitter
他の特許を見る
10個以上の画像は省略されています。
公開番号
2025162689
公報種別
公開特許公報(A)
公開日
2025-10-28
出願番号
2024066036
出願日
2024-04-16
発明の名称
糸巻取機
出願人
TMTマシナリー株式会社
代理人
弁理士法人ATEN
主分類
D01D
7/00 20060101AFI20251021BHJP(天然または人造の糸または繊維;紡績)
要約
【課題】分配ガイドに掛けられた複数の糸を、正確且つ容易に複数のボビンに掛ける。
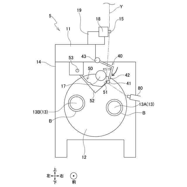
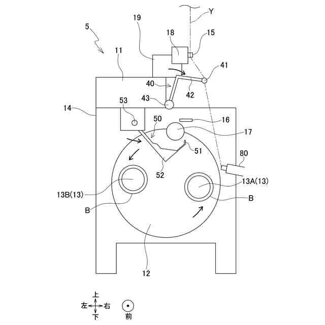
【解決手段】糸巻取機5は、複数のボビンBが装着されたボビンホルダ13と、複数の支点ガイド15と、ボビンホルダ13の上方且つ複数の支点ガイド15の下方に配置されたコンタクトローラ17と、糸捕捉部材40と、糸掛手段45と、を含む。糸捕捉部材40は、複数の糸捕捉部41を有する。糸掛手段45は、前後方向に並べられた複数の糸保持部51を有し、糸捕捉部材40に捕捉された複数の糸Yを複数の糸保持部51によって受け取って各ボビンBに掛ける位置に案内する。糸捕捉部材40は、上下方向において、コンタクトローラ17よりも支点ガイド15に近い位置で複数の糸Yを捕捉するように構成されている。さらに、糸捕捉部材40は、捕捉した複数の糸Yを複数の糸保持部51に受け渡すための受渡位置に移動可能に構成されている。
【選択図】図6
特許請求の範囲
【請求項1】
所定の配列方向に沿って複数のボビンが装着されたボビンホルダと、
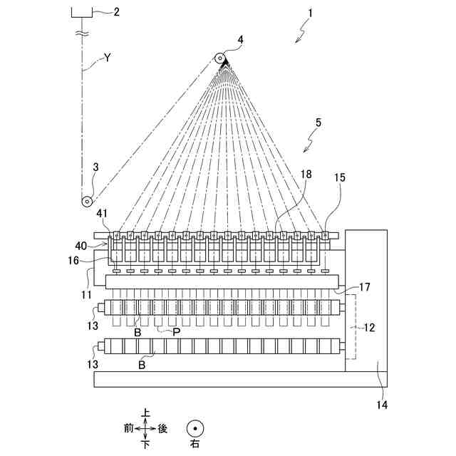
前記ボビンホルダの上方において前記配列方向に並べて配置され、前記複数のボビンに対応して設けられた複数の分配ガイドと、
鉛直方向において前記ボビンホルダの上方且つ前記複数の分配ガイドの下方に配置され、前記複数の糸が前記複数のボビンに巻き取られて形成される複数のパッケージの外周面に接触して接圧を付与するコンタクトローラと、
前記配列方向に並べられた複数の糸捕捉部を有し、前記複数の分配ガイドに掛けられた前記複数の糸を前記複数の糸捕捉部によって捕捉する糸捕捉部材と、
前記配列方向に並べられた複数の糸保持部を有し、前記糸捕捉部材に捕捉された前記複数の糸を前記複数の糸保持部によって受け取って前記複数のボビンに掛ける糸掛手段と、
を備え、
前記複数の糸捕捉部は、
鉛直方向において、前記分配ガイドと前記コンタクトローラとの間であって、前記コンタクトローラよりも前記分配ガイドに近い位置で前記複数の糸を捕捉するように構成されており、且つ、
捕捉した前記複数の糸を前記複数の糸保持部に受け渡すための受渡位置に移動可能に構成されていることを特徴とする糸巻取機。
続きを表示(約 810 文字)
【請求項2】
前記複数の糸捕捉部の前記配列方向における間隔は、前記複数の糸保持部の前記配列方向における間隔と同じであって、
前記糸捕捉部材は、前記複数の糸を捕捉した前記複数の糸捕捉部の前記配列方向における間隔を一定に保ったまま、前記複数の糸保持部に前記複数の糸を受け渡すことを特徴とする請求項1に記載の糸巻取機。
【請求項3】
前記複数の糸捕捉部は、前記複数の分配ガイドに掛けられ且つ前記複数のボビンに巻き取られている前記複数の糸と接触しない位置である退避位置に移動可能に構成されていることを特徴とする請求項1又は2に記載の糸巻取機。
【請求項4】
前記複数の糸捕捉部は、前記退避位置から前記受渡位置に移動する途中で、前記複数の分配ガイドに掛けられた前記複数の糸を捕捉するように構成されていることを特徴とする請求項3に記載の糸巻取機。
【請求項5】
前記糸捕捉部材は、前記複数の糸捕捉部を支持し且つ前記配列方向に沿った軸線を揺動中心として揺動可能な位置又は複数の第1揺動部材を有し、
前記複数の糸捕捉部は、前記第1揺動部材が揺動することによって、前記退避位置と前記受渡位置との間を移動することを特徴とする請求項3又は4に記載の糸巻取機。
【請求項6】
前記複数の糸捕捉部を、前記退避位置と前記受渡位置との間で移動させる第1移動駆動部を備えることを特徴とする請求項3~5の何れか1項に記載の糸巻取機。
【請求項7】
前記糸掛手段は、前記複数の糸保持部が形成された糸掛部材を有し、
前記糸掛部材が動作することによって、前記複数の糸捕捉部から前記複数の糸を受け取った前記複数の糸保持部を、前記複数のボビンに前記複数の糸を掛ける位置である糸掛位置に移動させることを特徴とする請求項1~6の何れか1項に記載の糸巻取機。
発明の詳細な説明
【技術分野】
【0001】
本発明は、糸を巻き取る糸巻取機に関する。
続きを表示(約 2,000 文字)
【背景技術】
【0002】
特許文献1には、紡糸装置から紡出された複数の糸を綾振りしながら複数のボビンにそれぞれ巻き取ってパッケージを形成する糸巻取機(特許文献1の引取ユニット)が開示されている。糸巻取機は、所定の配列方向に沿って複数のボビンが装着されたボビンホルダと、各ボビンに対応して配列され、各糸が綾振りされる際の支点となる複数の分配ガイド(特許文献1の支点ガイド)と、を有する。
【0003】
さらに、特許文献1の糸巻取機には、複数のボビンに糸掛けを行うための部材として、第1セパレータ及び第2セパレータが設けられている。各分配ガイドに掛けられた複数の糸は、一旦第1セパレータによって捕捉され、続けて、第1セパレータから第2セパレータに引き渡される。その後、第2セパレータが複数のボビンの近傍まで移動することで、複数のボビンへの糸掛けが行われる。
【0004】
ここで、第1セパレータに複数の糸を捕捉させる際には、一般的に、オペレータがサクションガンで複数の糸を吸引保持した状態が維持される。第1セパレータは、配列方向に並べて配置された複数の保持部材を有しており、サクションガンに吸引保持された状態の複数の糸を複数の保持部材によって捕捉する。
【先行技術文献】
【特許文献】
【0005】
特開2021-143435号公報
【発明の概要】
【発明が解決しようとする課題】
【0006】
複数の分配ガイドに掛けられた複数の糸はサクションガンに向かって集束しており、複数の糸のピッチはサクションガンに向かうにつれて狭くなっている(特許文献1の図10(b)参照)。第1セパレータは、サクションガンで吸引保持されている複数の糸を、複数の分配ガイドから離れた位置で捕捉するので、捕捉時の複数の糸のピッチは狭くなっている。このため、複数の糸を第1セパレータの各保持部材に捕捉させようとしても、保持部材に糸がうまく捕捉されなかったり、1つの保持部材に複数の糸が捕捉されてしまったりするといった問題が生じるおそれがある。そうすると、第1セパレータから第2セパレータへの糸の受け渡しをスムーズに行うことができない。その結果、ボビンへの糸掛け作業の効率が低下してしまう。
【0007】
本発明の目的は、分配ガイドに掛けられた複数の糸を、正確且つ容易に複数のボビンに掛けることである。
【課題を解決するための手段】
【0008】
本発明の糸巻取機は、所定の配列方向に沿って複数のボビンが装着されたボビンホルダと、前記ボビンホルダの上方において前記配列方向に並べて配置され、前記複数のボビンに対応して設けられた複数の分配ガイドと、鉛直方向において前記ボビンホルダの上方且つ前記複数の分配ガイドの下方に配置され、前記複数の糸が前記複数のボビンに巻き取られて形成される複数のパッケージの外周面に接触して接圧を付与するコンタクトローラと、前記配列方向に並べられた複数の糸捕捉部を有し、前記複数の分配ガイドに掛けられた前記複数の糸を前記複数の糸捕捉部によって捕捉する糸捕捉部材と、前記配列方向に並べられた複数の糸保持部を有し、前記糸捕捉部材に捕捉された前記複数の糸を前記複数の糸保持部によって受け取って前記複数のボビンに掛ける糸掛手段と、を備え、前記複数の糸捕捉部は、鉛直方向において、前記分配ガイドと前記コンタクトローラとの間であって、前記コンタクトローラよりも前記分配ガイドに近い位置で前記複数の糸を捕捉するように構成されており、且つ、捕捉した前記複数の糸を前記複数の糸保持部に受け渡すための受渡位置に移動可能に構成されていることを特徴とするものである。
【0009】
本発明によれば、複数の糸捕捉部は、鉛直方向において、分配ガイドに近い位置で、配列方向におけるピッチが広い状態の複数の糸を捕捉できる。このため、糸捕捉部材に正確且つ容易に糸を捕捉させることができる。加えて、本発明によれば、複数の糸捕捉部を受渡位置に移動させることによって、複数の糸を複数の糸保持部にスムーズに受け渡すことができる。したがって、複数の分配ガイドに掛けられた複数の糸を、正確且つ容易に複数のボビンに掛けることができる。
【0010】
本発明の糸巻取機において、前記複数の糸捕捉部の前記配列方向における間隔は、前記複数の糸保持部の前記配列方向における間隔と同じであって、前記糸捕捉部材は、前記複数の糸を捕捉した前記複数の糸捕捉部の前記配列方向における間隔を一定に保ったまま、前記複数の糸保持部に前記複数の糸を受け渡すことが好ましい。なお、「複数の糸捕捉部の配列方向における間隔と複数の糸保持部の配列方向における間隔が同じ」とは、両者の間隔が全く同じ場合だけでなく、両者の間隔が略同じ場合も含む。
(【0011】以降は省略されています)
この特許をJ-PlatPat(特許庁公式サイト)で参照する
関連特許
日本エステル株式会社
単相型熱融着繊維
1日前
日本エステル株式会社
単相型熱融着繊維
9日前
株式会社大林組
繊維材供給システム
1か月前
TMTマシナリー株式会社
紡糸設備
1か月前
TMTマシナリー株式会社
糸巻取機
1か月前
村田機械株式会社
玉揚装置及び自動ワインダ
23日前
トヨタ紡織株式会社
電界紡糸装置
1日前
マクセル株式会社
樹脂発泡糸の製造方法及びラム押出成形機
24日前
ユニチカトレーディング株式会社
セルロース繊維製品のリサイクル方法及び短繊維状物
1か月前
華巧國際有限公司
生体エネルギー混紡撚繊維およびその使用
1か月前
KBセーレン株式会社
繊維、ポリオレフィン繊維、及びポリオレフィン繊維の製造方法
22日前
国立大学法人 奈良先端科学技術大学院大学
アガロースナノファイバーおよびその製造方法
22日前
レンチング アクチエンゲゼルシャフト
難燃性リヨセルフィラメント
22日前
美津濃株式会社
芯鞘複合繊維及びそれを含む織編物ならびに芯鞘複合繊維の製造方法
1か月前
コベイション・インコーポレイテッド
2成分繊維を製造する方法およびこれを含む物品
1か月前
フラテッリ チェカット ミラノ エス.アール.エル.
マルチロー同軸スパンボンド及び/又はメルトブローンタイププラントのための紡糸口金
1日前
ザ ユーエイビー リサーチ ファウンデイション
繊維生成のための交流電界電極システムおよび方法
17日前
カーボン ホールディングス インテレクチュアル プロパティズ, エルエルシー
石炭から低密度炭素繊維を製造するためのシステム及び方法
1か月前
チョーチアン ヘンイー ペトロケミカル カンパニー,リミテッド
巻糸パッケージの処理方法、処理装置、電子デバイス、記憶媒体及びプログラム
1か月前
ザ ジャクソン ラボラトリー
高頻度標的化動物遺伝子導入
22日前
東京応化工業株式会社
レジスト組成物、レジストパターン形成方法、化合物及び酸拡散制御剤
1日前
ザ・トラステイーズ・オブ・ザ・ユニバーシテイ・オブ・ペンシルベニア
ムコ多糖症II型を処置するための遺伝子療法
11日前
他の特許を見る