TOP
|
特許
|
意匠
|
商標
特許ウォッチ
Twitter
他の特許を見る
公開番号
2025148953
公報種別
公開特許公報(A)
公開日
2025-10-08
出願番号
2024049346
出願日
2024-03-26
発明の名称
太陽電池モジュール
出願人
東レ株式会社
代理人
主分類
H10K
30/50 20230101AFI20251001BHJP()
要約
【課題】 本発明は、発電効率、耐久性、及びフレキシブル性に優れたペロブスカイト型半導体化合物を用いた太陽電池モジュールを提供することを課題とする。
【解決手段】 素子基板、発電素子、及び反射フィルムを有する太陽電池モジュールであって、前記発電素子がペロブスカイト型半導体化合物を有し、かつ前記反射フィルムが異なる複数の熱可塑性樹脂層が規則的に51層以上積層されている多層積層フィルムであって、前記発電素子の発電帯域をλ(a)nm~λ(b)nmとしたときに、太陽電池モジュールの受光面と垂直に光を入射させたときの反射帯域が、λ(a)nmを含まずλ(b)nm以上の帯域に存在する、太陽電池モジュール。
【選択図】図1
特許請求の範囲
【請求項1】
素子基板、発電素子、及び反射フィルムを有する太陽電池モジュールであって、
前記発電素子がペロブスカイト型半導体化合物を有し、
かつ前記反射フィルムが異なる複数の熱可塑性樹脂層が規則的に51層以上積層されている多層積層フィルムであって、
前記発電素子の発電帯域をλ(a)nm~λ(b)nmとしたときに、太陽電池モジュールの受光面と垂直に光を入射させたときの反射帯域が、λ(a)nmを含まずλ(b)nm以上の帯域に存在する、太陽電池モジュール。
続きを表示(約 1,100 文字)
【請求項2】
前記太陽電池モジュールの受光面と垂直に光を入射させたときに、反射帯域における平均反射率が50%以上である、請求項1に記載の太陽電池モジュール。
【請求項3】
前記太陽電池モジュールの受光面と垂直に光を入射させたときに、λ(a)nm~λ(b)nmの範囲に反射帯域を備えない、請求項1または2に記載の太陽電池モジュール。
【請求項4】
前記太陽電池モジュールの受光面と垂直に光を入射させたときに、λ(a)nm~λ(b)nmの範囲における平均反射率が20%未満である、請求項1または2に記載の太陽電池モジュール。
【請求項5】
波長λnmにおける、前記発電素子の量子効率をEQE(λ)、前記太陽電池モジュールに受光面と垂直に光を入射させたときの入射角12°、60°における反射率をそれぞれR12(λ)、R60(λ)としたときに、
波長400nm~1200nmにおいて、EQE(λ)とR12(λ)の積の総和と、EQE(λ)とR60(λ)の積の総和の少なくとも一方が75以下である、請求項1または2に記載の太陽電池モジュール。
【請求項6】
前記反射フィルムが前記発電素子より受光面側に位置する、請求項1または2に記載の太陽電池モジュール。
【請求項7】
前記太陽電池モジュールが前記発電素子より非受光面側にバックシートを備えており、太陽電池モジュールの非受光面と垂直に光を入射させたときに、波長400nm~700nmの範囲における平均反射率が50%以上であり、かつ波長700nm~2500nmの範囲における平均反射率が30%未満である、請求項1または2に記載の太陽電池モジュール。
【請求項8】
前記発電素子の側面に、波長400nm~700nmの範囲における平均反射率が50%以上であり、かつ波長700nm~2500nmの範囲における平均反射率が30%未満である反射ミラーを備える、請求項1または2に記載の太陽電池モジュール。
【請求項9】
前記反射フィルムが熱可塑性樹脂Aを主成分とする層(A層)と熱可塑性樹脂Bを主成分とする層(B層)を交互に51層以上積層した構成を有する、請求項1または2に記載の太陽電池モジュール。
【請求項10】
前記反射フィルムがガスバリア性の保護層を有し、前記太陽電池モジュールの水蒸気透過率が1.0×10
-1
g/m
2
/day未満である、請求項1または2に記載の太陽電池モジュール。
(【請求項11】以降は省略されています)
発明の詳細な説明
【技術分野】
【0001】
本発明はペロブスカイト型半導体化合物を用いた太陽電池モジュールに関する。
続きを表示(約 3,400 文字)
【背景技術】
【0002】
近年、太陽電池の発電素子として有機半導体化合物、なかでもペロブスカイト型半導体化合物についての検討が盛んに行われている。現在発電素子として多く利用されている結晶型シリコン化合物を用いた太陽電池モジュールと比較して、ペロブスカイト型半導体化合物を用いた太陽電池モジュールは、少ない製造工程で製造が可能であることが利点である。また、ペロブスカイト型半導体化合物を用いた太陽電池モジュールは、低重量、薄膜であり、かつフレキシブル性に優れるため、設置場所を幅広く選択することができることも利点である。これらの特性を生かして、ペロブスカイト型半導体化合物を用いた太陽電池モジュール、例えば、耐荷重の低い建屋、曲面への設置が可能である。
【0003】
一方でペロブスカイト型半導体化合物を用いた太陽電池モジュールは、耐久性が低いことが課題とされている。その要因の一つとして、ペロブスカイト型半導体化合物が光と湿度の共存環境下において激しく劣化が進行する点が挙げられる。このような問題点を解消する方法として、例えば、太陽電池モジュールにガスバリア層を組み入れることが提案されている(例えば、特許文献1)。また、ペロブスカイト型半導体化合物の耐久性が低い別の要因として、ペロブスカイト型半導体化合物の熱による劣化が挙げられる。さらに、太陽電池モジュール全般においては、温度上昇により光電変換効率が低下することが確認されている。太陽電池モジュールの温度上昇の主な要因として太陽光の赤外線による影響があり、赤外線による化合物の劣化を軽減することを目的として、太陽電池モジュールに遮熱層を組み入れることが提案されている(例えば、特許文献2)。
【先行技術文献】
【特許文献】
【0004】
特開2018-137409号公報
特開2007-251114号公報
【発明の概要】
【発明が解決しようとする課題】
【0005】
特許文献1の方法では、ガスバリア層により防湿性が向上するが、光による劣化への対策については不十分であった。特許文献2の方法では、遮熱層で太陽電池モジュールの発電素子の吸収帯域(発電帯域)外の光を反射するが、このような帯域の光だけを選択的に反射することは困難であった。すなわち、遮熱性を重視した場合は発電帯域の光の反射率が高くなるため発電効率が低下し、発電効率を重視した場合は発電帯域外における光の反射率が低くなるためペロブスカイト型半導体化合物の劣化を軽減することが困難である。また、特許文献2の方法では、遮熱層として無機材料の多層膜が用いられていることから、フレキシブル性も不十分であった。
【0006】
本発明は、上記問題を解決し、発電効率、耐久性、及びフレキシブル性に優れたペロブスカイト型半導体化合物を用いた太陽電池モジュールを提供することを課題とする。
【課題を解決するための手段】
【0007】
上記課題を解決するために本発明の太陽電池モジュールは次のような構成を有する。すなわち本発明の太陽電池モジュールは、素子基板、発電素子、及び反射フィルムを有する太陽電池モジュールであって、前記発電素子がペロブスカイト型半導体化合物を有し、かつ前記反射フィルムが異なる複数の熱可塑性樹脂層が規則的に51層以上積層されている多層積層フィルムであって、前記発電素子の発電帯域をλ(a)nm~λ(b)nmとしたときに、太陽電池モジュールの受光面と垂直に光を入射させたときの反射帯域が、λ(a)nmを含まずλ(b)nm以上の帯域に存在する、太陽電池モジュールである。
【0008】
また、本発明の太陽電池モジュールは以下の態様とすることもできる。
(1) 素子基板、発電素子、及び反射フィルムを有する太陽電池モジュールであって、前記発電素子がペロブスカイト型半導体化合物を有し、かつ前記反射フィルムが異なる複数の熱可塑性樹脂層が規則的に51層以上積層されている多層積層フィルムであって、前記発電素子の発電帯域をλ(a)nm~λ(b)nmとしたときに、太陽電池モジュールの受光面と垂直に光を入射させたときの反射帯域が、λ(a)nmを含まずλ(b)nm以上の帯域に存在する、太陽電池モジュール。
(2) 前記太陽電池モジュールの受光面と垂直に光を入射させたときに、反射帯域における平均反射率が50%以上である、(1)に記載の太陽電池モジュール。
(3) 前記太陽電池モジュールの受光面と垂直に光を入射させたときに、λ(a)nm~λ(b)nmの範囲に反射帯域を備えない、(1)または(2)に記載の太陽電池モジュール。
(4) 前記太陽電池モジュールの受光面と垂直に光を入射させたときに、λ(a)nm~λ(b)nmの範囲における平均反射率が20%未満である、(1)~(3)のいずれかに記載の太陽電池モジュール。
(5) 波長λnmにおける、前記発電素子の量子効率をEQE(λ)、前記太陽電池モジュールに受光面と垂直に光を入射させたときの入射角12°、60°における反射率をそれぞれR12(λ)、R60(λ)としたときに、波長400nm~1200nmにおいて、EQE(λ)とR12(λ)の積の総和と、EQE(λ)とR60(λ)の積の総和の少なくとも一方が75以下である、(1)~(4)のいずれかに記載の太陽電池モジュール。
(6) 前記反射フィルムが前記発電素子より受光面側に位置する、(1)~(5)のいずれかに記載の太陽電池モジュール。
(7) 前記太陽電池モジュールが前記発電素子より非受光面側にバックシートを備えており、太陽電池モジュールの非受光面と垂直に光を入射させたときに、波長400nm~700nmの範囲における平均反射率が50%以上であり、かつ波長700nm~2500nmの範囲における平均反射率が30%未満である、(1)~(6)のいずれかに記載の太陽電池モジュール。
(8) 前記発電素子の側面に、波長400nm~700nmの範囲における平均反射率が50%以上であり、かつ波長700nm~2500nmの範囲における平均反射率が30%未満である反射ミラーを備える、(1)~(7)のいずれかに記載の太陽電池モジュール。
(9) 前記反射フィルムが熱可塑性樹脂Aを主成分とする層(A層)と熱可塑性樹脂Bを主成分とする層(B層)を交互に51層以上積層した構成を有する、(1)~(8)のいずれかに記載の太陽電池モジュール。
(10) 前記反射フィルムがガスバリア性の保護層を有し、前記太陽電池モジュールの水蒸気透過率が1.0×10
-1
g/m
2
/day未満である、(1)~(9)のいずれかに記載の太陽電池モジュール。
(11) 前記反射フィルムが透明電極を有する、(1)~(10)のいずれかに記載の太陽電池モジュール。
(12) 前記反射フィルムの熱収縮曲線における温度T℃での収縮率をS(T)%とし、フィルム面と平行な面内において、任意の一方向及びそこからフィルム面と平行な面内方向に5°間隔で180°まで回転させた各方向のうちS(150)が最も大きい方向をX方向としたときに、前記X方向において、熱収縮曲線における120℃から150℃の収縮率の平均が-0.4%以上0.5%以下である、(1)~(11)のいずれかに記載の太陽電池モジュール。
【発明の効果】
【0009】
本発明により、発電効率、耐久性、及びフレキシブル性に優れたペロブスカイト型半導体化合物を用いた太陽電池モジュールを提供することができる。
【図面の簡単な説明】
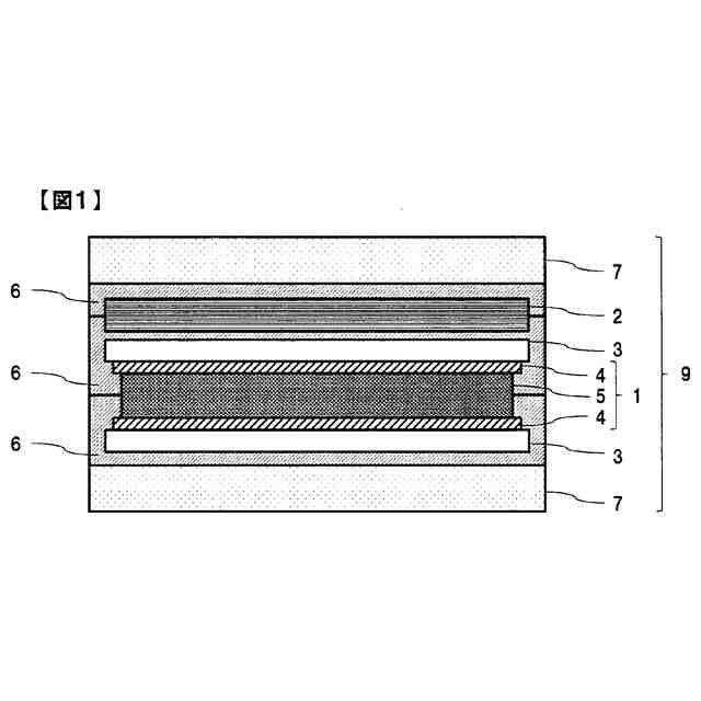
【0010】
本発明の一実施態様に係る太陽電池モジュールの一例を示す模式断面図である。
本発明の一実施態様に係る太陽電池モジュールの一例を示す模式断面図である。
【発明を実施するための形態】
(【0011】以降は省略されています)
この特許をJ-PlatPat(特許庁公式サイト)で参照する
関連特許
東レ株式会社
化粧料
17日前
東レ株式会社
防護服
1か月前
東レ株式会社
浄水器
1か月前
東レ株式会社
積層フィルム
1か月前
東レ株式会社
光透過性表皮材
1か月前
東レ株式会社
黒色樹脂組成物
1か月前
東レ株式会社
加飾用フィルム
1か月前
東レ株式会社
無配向フィルム
25日前
東レ株式会社
不織布の製造装置
1か月前
東レ株式会社
赤外線遮蔽構成体
25日前
東レ株式会社
飛翔体用ブレード
25日前
東レ株式会社
貼合体の製造方法
25日前
東レ株式会社
多層積層フィルム
1か月前
東レ株式会社
車両用衝撃吸収部材
25日前
東レ株式会社
フィルムの製造装置
25日前
東レ株式会社
太陽電池モジュール
1か月前
東レ株式会社
中空糸膜モジュール
1か月前
東レ株式会社
遮熱性アクリル繊維
1か月前
東レ株式会社
テーパ付き円筒部材
1か月前
東レ株式会社
溶融紡糸口金パック
1か月前
東レ株式会社
繊維断面の検査方法
1か月前
東レ株式会社
ポリエステルフィルム
1か月前
東レ株式会社
ポリエステルフィルム
22日前
東レ株式会社
複合成形体の製造方法
25日前
東レ株式会社
複合成形体の製造方法
1か月前
東レ株式会社
遠心ポッティング方法
9日前
東レ株式会社
ポリプロピレンフィルム
1か月前
東レ株式会社
ゴム補強用合成繊維コード
1か月前
東レ株式会社
ゴム補強用合成繊維コード
1か月前
東レ株式会社
着色樹脂組成物および着色膜
1か月前
東レ株式会社
糸送り装置および糸送り方法
1か月前
東レ株式会社
先端に凸面を有する光ファイバ
1か月前
東レ株式会社
ポリエステル組成物の製造方法
1か月前
東レ株式会社
扁平多様断面繊維を含有した中綿
1か月前
東レ株式会社
ポリオレフィン系樹脂発泡シート
1日前
東レ株式会社
二軸配向ポリオレフィンフィルム
25日前
続きを見る
他の特許を見る