TOP
|
特許
|
意匠
|
商標
特許ウォッチ
Twitter
他の特許を見る
10個以上の画像は省略されています。
公開番号
2025135946
公報種別
公開特許公報(A)
公開日
2025-09-19
出願番号
2024034045
出願日
2024-03-06
発明の名称
先端に凸面を有する光ファイバ
出願人
東レ株式会社
代理人
個人
,
個人
主分類
G02B
6/02 20060101AFI20250911BHJP(光学)
要約
【課題】広い照射範囲と照度の均一性を両立する先端に凸面が形成されたプラスチック光ファイバを提供する。
【解決手段】光ファイバから出射する光線と光ファイバの中心軸との角度である照射角度θのうち、最も広く広がった光線の照射角度θmaxが60度以上であり、光ファイバの照射角度θが0度から50度の範囲での、光ファイバ先端からの任意の測定距離における輝度L1が、光ファイバの当該測定距離における照射範囲全体での最大輝度Lmaxに対して、(L1>Lmax×0.8)であり、光ファイバの照射角度θが60度の位置での測定距離における輝度L2が、最大輝度Lmaxに対して、(L2>Lmax×0.4)である、先端に凸面を有するプラスチック光ファイバ。
【選択図】図1
特許請求の範囲
【請求項1】
先端に凸面を有するプラスチック光ファイバであって、
1)前記光ファイバから出射する光線と前記光ファイバの中心軸との角度である照射角度θのうち、最も広く広がった光線の照射角度θmaxが60度以上であり、
2)前記光ファイバの照射角度θが0度から50度の範囲での、前記光ファイバ先端からの任意の測定距離における輝度L1が、前記光ファイバの当該測定距離における照射範囲全体での最大輝度Lmaxに対して、(L1>Lmax×0.8)であり、
3)前記光ファイバの前記照射角度θが60度の位置での前記測定距離における輝度L2が、前記最大輝度Lmaxに対して、(L2>Lmax×0.4)である、
ことを特徴とする先端に凸面を有するプラスチック光ファイバ。
続きを表示(約 390 文字)
【請求項2】
前記光ファイバの先端の凸面の形状が円錐台形状であり、該円錐台形状の上面に凹形状を有する、請求項1に記載のプラスチック光ファイバ。
【請求項3】
前記円錐台形状の底角が55度から75度である、請求項2に記載のプラスチック光ファイバ。
【請求項4】
前記凹形状が球形状、楕円体形状または錐形状である、請求項2に記載のプラスチック光ファイバ。
【請求項5】
請求項1~4のいずれかに記載のプラスチック光ファイバを有する内視鏡照明用機器。
【請求項6】
請求項1~4のいずれかに記載のプラスチック光ファイバを眼科手術用照明として有する眼科手術照明用プローブ。
【請求項7】
請求項1~4のいずれかに記載のプラスチック光ファイバをカテーテル用照明または光センサーとして有する血管用カテーテル。
発明の詳細な説明
【技術分野】
【0001】
本発明は、端面加工された光ファイバ、それを用いた内視鏡照明用機器、眼科手術照明用プローブ、血管用カテーテルに関するものである。
続きを表示(約 2,000 文字)
【背景技術】
【0002】
内視鏡手術や眼科手術においては、一般的に、光ファイバの一端から光を入射させ、出射端面から光を照射させて患部を観察する方法がとられている。光の照射角度が大きいほど、患部周辺を広く観察することができるため、開口数の大きい光ファイバが好ましく用いられる。さらに光の照射範囲を広げるためには、出射端面近傍にレンズを設置する方法や、端面を加熱や切削により加工する方法が有効である。しかしながら、レンズは一般的に高価であり、さらにその使用により設計が複雑になるため、簡易的に処理しやすい、光ファイバの端面加工が好ましく利用されている。
【0003】
光ファイバの端面にレンズ形状を形成する方法として、( a ) 所定長の端部が露出したプラスチック光ファイバを準備する工程、( b ) プラスチック光ファイバの該端部の先端に、加熱されたレンズ形成用型を押し付けて該端部の一部若しくは全体を軟化・溶融させて該端部の先端をレンズ形状に形成する加熱工程、及び( c ) プラスチック光ファイバの該端部の先端にレンズ形成用型が押し付けられた状態で、若しくは、プラスチック光ファイバの該端部からレンズ形成用型を引き離した後で、プラスチック光ファイバの該端部を強制冷却する急冷却工程、を含むことを特徴とするプラスチック光ファイバ端面加工法が提案されている( 例えば、特許文献1 参照)。また、ライトガイド端面に球面凹部を有することを特徴とするライトガイドが提案されている( 例えば、特許文献2 参照)。
【先行技術文献】
【特許文献】
【0004】
特開平8-75935号公報
特開平10-160940号公報
【発明の概要】
【発明が解決しようとする課題】
【0005】
特許文献1~2に記載されているように、光ファイバ先端にレンズや凹面を形成することにより、光ファイバの光出射端部周辺を明るく照らすことができるものの、その形状やコアの屈折率によって光の出射方向が異なるため、照射範囲および照射均一性が不十分であるという課題があった。
【0006】
そこで、本発明の主な目的は、広い照射範囲と高い照射均一性を両立可能な光ファイバを提供することにある。
【課題を解決するための手段】
【0007】
上記課題を解決するために、本発明の先端に凸面を有するプラスチック光ファイバは、
1)上記光ファイバから出射する光線と上記光ファイバの中心軸との角度である照射角度θのうち、最も広く広がった光線の照射角度θmaxが60度以上であり、
2)上記光ファイバの照射角度θが0度から50度の範囲での、上記光ファイバ先端からの任意の測定距離における輝度L1が、上記光ファイバの当該測定距離における照射範囲全体での最大輝度Lmaxに対して、(L1>Lmax×0.8)であり、
3)上記光ファイバの照射角度θが60度の位置での上記測定距離における輝度L2が、上記最大輝度Lmaxに対して、(L2>Lmax×0.4)であることを特徴とする。
【0008】
このような本発明に係るプラスチック光ファイバにおいては、とくに、光ファイバの先端の凸面の形状が円錐台形状であり、該円錐台形状の上面に凹形状を有することが好ましい。
【発明の効果】
【0009】
本発明のプラスチック光ファイバによれば、光ファイバに入射した光を、広い角度で出射しつつ、照射された光の照度が均一であるため、広い観察範囲において観察対象を均等に照らすことができ、内視鏡手術や眼科手術において有利である。
【図面の簡単な説明】
【0010】
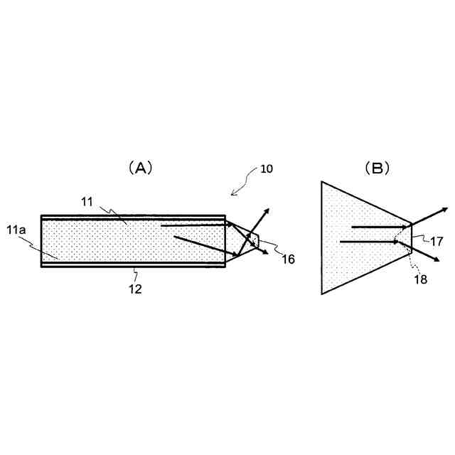
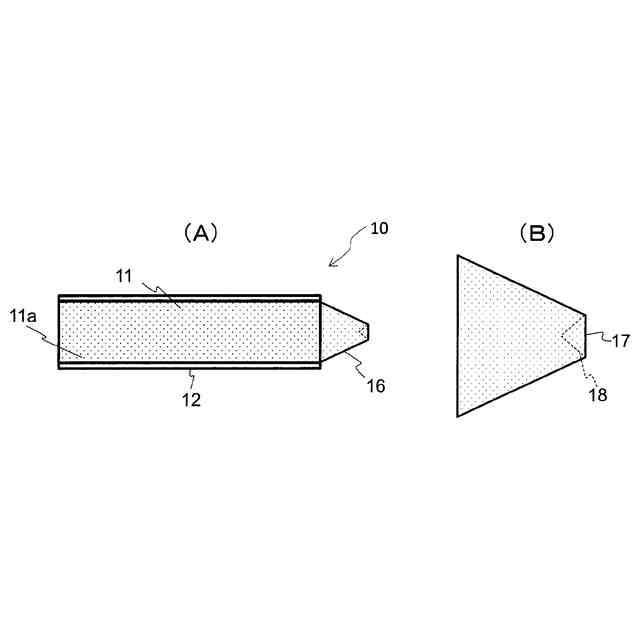
本発明の一実施形態に係る光ファイバの概略断面図(A)およびその先端部の拡大断面図(B)である。
本発明の光ファイバにおいて先端に凹部がない場合の光路の模式図(A)および光ファイバの先端部における光路の拡大模式図(B)である。
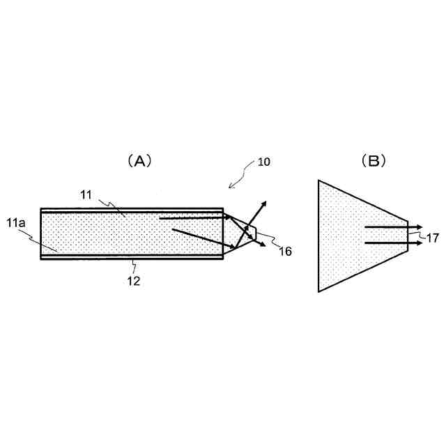
本発明の光ファイバにおいて先端に凹部がある場合の光路の模式図(A)および光ファイバの先端部における光路の拡大模式図(B)である。
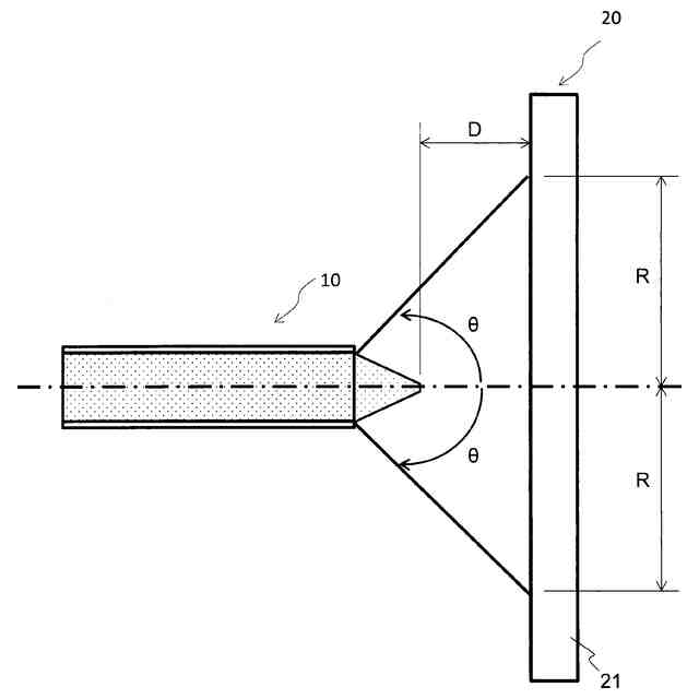
本発明の光ファイバの光学的な特性を評価する測定方法20を模式的に説明する図である。
本発明の光ファイバの(A)~(C)の状態における光学特性の測定方法20により得られる輝度分布を模式的に説明する図である。
本発明の光ファイバの光学的な特性の一例における輝度分布を模式的に説明する図(A)およびそれを表現した配光分布図(B)である。
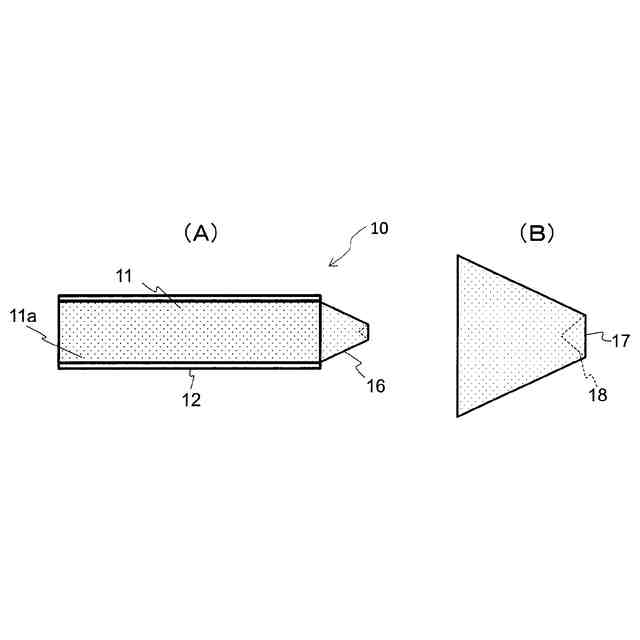
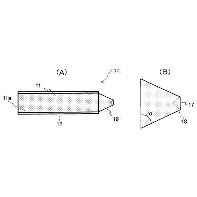
本発明の光ファイバの先端形状の一例を示す断面概略図(A)およびその光ファイバの先端部の拡大断面図(B)である。
【発明を実施するための形態】
(【0011】以降は省略されています)
この特許をJ-PlatPat(特許庁公式サイト)で参照する
関連特許
東レ株式会社
浄水器
27日前
東レ株式会社
防護服
9日前
東レ株式会社
積層フィルム
1か月前
東レ株式会社
積層フィルム
8日前
東レ株式会社
黒色樹脂組成物
13日前
東レ株式会社
光透過性表皮材
8日前
東レ株式会社
加飾用フィルム
13日前
東レ株式会社
無配向フィルム
2日前
東レ株式会社
貼合体の製造方法
2日前
東レ株式会社
多孔質炭素シート
1か月前
東レ株式会社
赤外線遮蔽構成体
2日前
東レ株式会社
飛翔体用ブレード
2日前
東レ株式会社
多層積層フィルム
29日前
東レ株式会社
不織布の製造装置
7日前
東レ株式会社
中空糸膜モジュール
13日前
東レ株式会社
遮熱性アクリル繊維
14日前
東レ株式会社
繊維断面の検査方法
14日前
東レ株式会社
テーパ付き円筒部材
8日前
東レ株式会社
太陽電池モジュール
8日前
東レ株式会社
溶融紡糸口金パック
14日前
東レ株式会社
サンドイッチ構造体
1か月前
東レ株式会社
車両用衝撃吸収部材
2日前
東レ株式会社
フィルムの製造装置
2日前
東レ株式会社
ガス拡散層の製造方法
1か月前
東レ株式会社
複合成形体の製造方法
27日前
東レ株式会社
複合成形体の製造方法
2日前
東レ株式会社
ポリエステルフィルム
21日前
東レ株式会社
ポリプロピレンフィルム
13日前
東レ株式会社
プラスチック光ファイバ
1か月前
東レ株式会社
織物およびシート表皮材
1か月前
東レ株式会社
霧化状活性液体供給装置
1か月前
東レ株式会社
ゴム補強用合成繊維コード
21日前
東レ株式会社
ゴム補強用合成繊維コード
21日前
東レ株式会社
織物および織物プリプレグ
1か月前
東レ株式会社
着色樹脂組成物および着色膜
13日前
東レ株式会社
糸送り装置および糸送り方法
9日前
続きを見る
他の特許を見る