TOP
|
特許
|
意匠
|
商標
特許ウォッチ
Twitter
他の特許を見る
公開番号
2025150082
公報種別
公開特許公報(A)
公開日
2025-10-09
出願番号
2024050778
出願日
2024-03-27
発明の名称
不織布の製造装置
出願人
東レ株式会社
代理人
主分類
D04H
3/16 20060101AFI20251002BHJP(組みひも;レース編み;メリヤス編成;縁とり;不織布)
要約
【課題】
幅方向における目付均一性に優れた不織布を製造できる不織布の製造装置を提供する。
【解決手段】
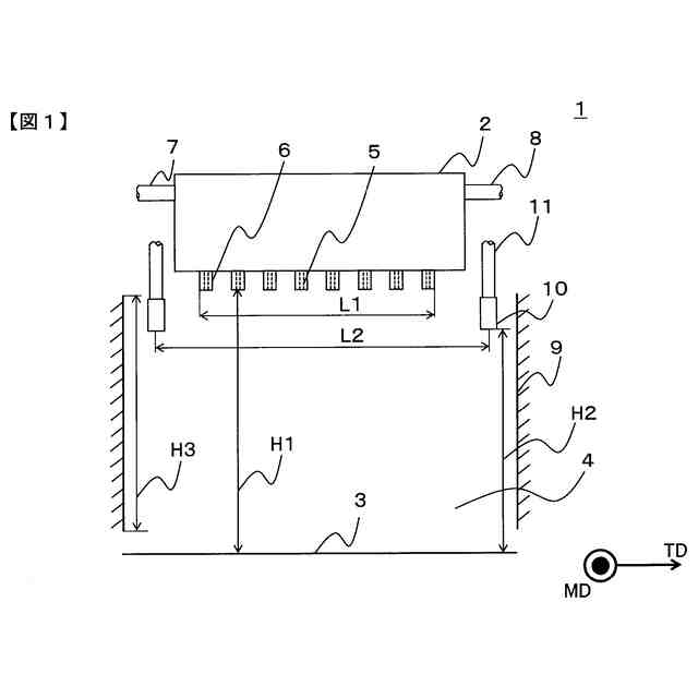
本発明の不織布の製造装置は、一列に配列されたポリマーを吐出する複数のノズルと当該ノズルから吐出されたポリマーを延伸するエアーを吐出する第一のエアー吐出部を備える口金と、繊維化されたポリマーを捕集する捕集部と、ポリマー吐出方向と同じ方向に向けてエアーを吐出する一対の第二のエアー吐出部とを備えており、第二のエアー吐出部のエアーの吐出口が、ノズルの配列方向の両外側にそれぞれ位置している。
【選択図】図1
特許請求の範囲
【請求項1】
一列に配列されたポリマーを吐出する複数のノズルと当該ノズルから吐出されたポリマーを延伸するエアーを吐出する第一のエアー吐出部を備える口金と、
前記ノズルから吐出されて繊維化されたポリマーを捕集する捕集部と、
前記ノズルからのポリマー吐出方向と同じ方向に向けてエアーを吐出する一対の第二のエアー吐出部と、を備え、
前記ノズルの配列方向および前記ポリマー吐出方向に垂直な方向から観察して、前記第二のエアー吐出部のエアーの吐出口が、前記複数のノズルの両端のノズルから前記ポリマー吐出方向の下流側に延びる直線よりも、前記ノズルの配列方向の両外側にそれぞれ位置している、
不織布の製造装置。
続きを表示(約 400 文字)
【請求項2】
前記ノズルから前記捕集部までのポリマーの走行路の周囲を囲う仕切り壁を備えた、請求項1の不織布の製造装置。
【請求項3】
前記第二のエアー吐出部のエアーの吐出口が前記仕切り壁で囲われた内側に位置する、請求項2の不織布の製造装置。
【請求項4】
前記仕切り壁の前記ノズルに近い側の開口を前記ポリマーの走行経路を除いて塞ぐ仕切り板を備え、
前記第二のエアー吐出部のエアー吐出口が、前記仕切り板よりも前記ポリマー吐出方向の下流側に位置している、
請求項3の不織布の製造装置。
【請求項5】
前記第二のエアー吐出部のエアーの吐出口が単一の孔または複数の孔で構成されている、請求項1の不織布の製造装置。
【請求項6】
前記第二のエアー吐出部のエアーの吐出口がスリット形状である、請求項1の不織布の製造装置。
発明の詳細な説明
【技術分野】
【0001】
本発明は、不織布の製造装置に関する。
続きを表示(約 1,900 文字)
【背景技術】
【0002】
不織布の製造方式は乾式法や湿式法、スパンボンド法やメルトブロー法など多岐にわたり、同じ方式をとっても使用原料や目標品質などによって製法が異なる。中でもメルトブロー法はポリマーを高速エアーによって延伸するため、繊維径が1μm前後と他の製造法式と比べ細い繊維の不織布を製造できる。そのため、衛生材料、エアーフィルター、防音材、2次電池用セパレーターなどの非常に多くの用途で用いられる。上述のメルトブロー法では、高速エアーによって延伸後に空気中に拡散した繊維を堆積捕集する。そのため所望の目付や厚み、強度を得るためには、繊維が飛散する空気流れの制御技術が重要である。
【0003】
空気流れの制御技術として、不織布の延伸時の強度と均一性の向上を目的として、ポリマーを吐出する主ノズルに付随したポリマーを延伸する高速エアーの吐出部とは別に、捕集した不織布の搬送方向とその反対側に空気のみを吐出する副ノズルを設けた不織布の製造装置が提案されている(特許文献1参照)。高速エアーは随伴気流を伴って拡散空間を乱すことによってポリマーに局所的な絡まりを多く発生させるため、不織布の均一性の悪化の要因となる。そこで、副ノズルからエアーを吐出することで、ポリマー拡散空間における随伴気流の流入を抑制して、不織布の均一性を改善している。
【0004】
また、ポリマーを吐出する方向へ伸びる複数の隙間が搬送方向から見て重ならないように互い違いに設けられた一対の櫛歯状の羽を、搬送方向の上流側又は下流側の片側に設けた不織布の製造装置が提案されている(特許文献2参照)。この一対の羽は鉛直方向に対して搬送方向の上流側又は下流側の同方向に向けてそれぞれ異なる角度で傾斜している。この一対の羽を用いて、コアンダ効果と呼ばれる粘性効果により羽に気流および繊維を沿わせて、接触板として機能させることにより不織布の搬送方向に加え幅方向におけるポリマーの分散状態の制御を可能としている。
【先行技術文献】
【特許文献】
【0005】
特開2022-010113号公報
特開2021-123806号公報
【発明の概要】
【発明が解決しようとする課題】
【0006】
しかしながら、特許文献1の技術は、搬送方向の制御を目的としており、搬送方向と比べて広がりを持つ幅方向の流れの制御を想定していない。
【0007】
また、特許文献2の技術は、装置外部からの空気が流れ込んでポリマーを延伸する空気に乱れが生じる懸念がある他、櫛歯状の羽の他にポリマーを延伸することにより形成した長繊維を捕集面に衝突させることでポリマーを分散させており、一つ一つが極軽量な短繊維を対象とした場合、捕集面への衝突による分散効果が十分に得られないという欠点がある。
【0008】
また、特許文献1、2のどちらもスパンボンド法を好ましい実施形態としているが、メルトブロー法などの延伸したポリマーを空気中に拡散させる方法では、ポリマーが装置外へ飛散する懸念がある。
【0009】
従来の不織布の製造装置においては、ポリマーとエアーを口金から吐出し捕集するまでに、捕集部に向かう空気の流速が周囲空気や壁面との摩擦抵抗により不織布幅方向の端部から減衰する。そのため、不織布幅方向において中央の流速が高くなると同時に、中央で単位時間当たりに捕集部へ流れるポリマーの質量密度が高くなる。そうして、捕集された後の不織布は幅方向中央においては目付が高く厚みがあり、幅方向端部は中央に対して目付が低い状態となる。また、ポリマーによっては、ノズルから捕集部までの距離が長くせざるを得ない場合がある。この場合、幅方向端部の流速がさらに低下するため、中央と端部の目付および厚みの差は顕著となる。このように従来の不織布の製造装置では、目付および厚みの均一性が低下した不織布となり、強度や濾過性能等が損なわれる。
【0010】
そこで本発明は、メルトブロー法などの延伸後に空気中に拡散した繊維を堆積捕集する方法において、外部からの空気の流入を抑制することにより搬送流の乱れを防止して制御性を確保しつつ、紡糸口金から捕集部へ向かう空気の幅方向の流速差を低減することにより、幅方向における不織布の目付の均一性を向上させた不織布の製造装置を提供する。
【課題を解決するための手段】
(【0011】以降は省略されています)
この特許をJ-PlatPat(特許庁公式サイト)で参照する
関連特許
東レ株式会社
化粧料
19日前
東レ株式会社
無配向フィルム
27日前
東レ株式会社
不織布の製造装置
1か月前
東レ株式会社
貼合体の製造方法
27日前
東レ株式会社
赤外線遮蔽構成体
27日前
東レ株式会社
飛翔体用ブレード
27日前
東レ株式会社
テーパ付き円筒部材
1か月前
東レ株式会社
太陽電池モジュール
1か月前
東レ株式会社
車両用衝撃吸収部材
27日前
東レ株式会社
フィルムの製造装置
27日前
東レ株式会社
ポリエステルフィルム
24日前
東レ株式会社
遠心ポッティング方法
11日前
東レ株式会社
複合成形体の製造方法
27日前
東レ株式会社
ポリオレフィン系樹脂発泡シート
3日前
東レ株式会社
二軸配向ポリオレフィンフィルム
27日前
東レ株式会社
ポリアミド樹脂組成物および成形品
12日前
東レ株式会社
フィルムの製造装置、及び、吸引装置
27日前
東レ株式会社
顆粒状ポリエステルアミドの製造方法
19日前
東レ株式会社
電子部品の製造方法および樹脂組成物
5日前
TMTマシナリー株式会社
糸巻取装置
1か月前
TMTマシナリー株式会社
糸巻取装置
1か月前
TMTマシナリー株式会社
糸巻取装置
1か月前
東レ株式会社
耐炎化繊維束および炭素繊維束の製造方法
1か月前
東レ株式会社
湿式不織布、および固体電解質用補強シート
5日前
東レ株式会社
液体電解用多孔質輸送層およびその製造方法
3日前
東レ株式会社
3Dプリンター用フィラメント及びその製造方法
1か月前
東レ株式会社
人工皮革およびその製造方法、衣料、ならびに鞄
1か月前
東レ株式会社
ゴム資材補強用合成繊維コードおよびその製造方法
1か月前
東レ株式会社
ガス拡散電極と触媒層付き電解質膜の接着力測定方法
17日前
東レ株式会社
芳香族化合物の製造方法、およびテレフタル酸の製造方法
3日前
東レ株式会社
プリプレグ、繊維強化樹脂成形体、及びそれらの製造方法
1か月前
東レ株式会社
コネクタ、カテーテル、カテーテルシステム、及び医療装置
1か月前
東レ株式会社
ポリエステル樹脂組成物、成形品、および車両用衝撃吸収部材
1か月前
東レ株式会社
スパンボンド不織布およびその製造方法ならびに積層体、表皮材
1か月前
東レ株式会社
交換可能型プレフィルタおよびそれを有するエアフィルタユニット
1か月前
東レ株式会社
繊維構造体およびその製造方法ならびに医療・介護従事者用のウェア
1か月前
続きを見る
他の特許を見る