TOP
|
特許
|
意匠
|
商標
特許ウォッチ
Twitter
他の特許を見る
公開番号
2025147373
公報種別
公開特許公報(A)
公開日
2025-10-07
出願番号
2024047600
出願日
2024-03-25
発明の名称
防護服
出願人
東レ株式会社
代理人
主分類
A41D
13/00 20060101AFI20250930BHJP(衣類)
要約
【課題】防護服の外部から、防護服内部の環境を把握し得るとともに、防護服の内部に配置したセンサー類が着用者の汗などにより故障や誤作動することを抑制することができる防護服を提供する。
【解決手段】少なくとも一部に収納部を備え、前記収納部は、2つ以上のシート状物が積層されてなるとともに、前記2つ以上のシート状物は左右方向の両端部および下方向の端部において断続的に接合されており、前記収納部の一方の最外層を構成するシート状物は、防護服の最外層の一部を構成する第1のシート状物であり、前記第1のシート状物の全光線透過率は、40%以上であり、前記2つ以上のシート状物のうちの前記第1のシート状物以外のシート状物は、透湿度が200g/m
2
以上であり、かつ、耐水圧が400~2000mmH
2
Oである防護服。
【選択図】図1
特許請求の範囲
【請求項1】
少なくとも一部に収納部を備え、
前記収納部は、2つ以上のシート状物が積層されてなるとともに、前記2つ以上のシート状物は左右方向の両端部および下方向の端部において断続的に接合されており、
前記収納部の一方の最外層を構成するシート状物は、防護服の最外層の一部を構成する第1のシート状物であり、
前記第1のシート状物の全光線透過率は、40%以上であり、
前記2つ以上のシート状物のうちの前記第1のシート状物以外のシート状物は、透湿度が200g/m
2
以上であり、
かつ、耐水圧が400~2000mmH
2
Oである、防護服。
続きを表示(約 340 文字)
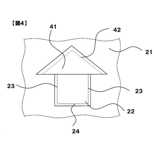
【請求項2】
前記防護服の内部かつ前記収納部の上部にフラップを備え、
前記フラップは略三角形であり、
前記フラップの一つの頂点部が前記収納部の上方向に位置し、
前記フラップの前記頂点部を含む2つの辺が防護服の内側に連続的に接合されてなり、
前記フラップの下方向の端部の左右方向の幅は、前記収納部の上方向の端部の左右方向の幅よりも大きく、
前記フラップの下方向の端部は、前記収納部の上方向の端部と重複部を形成しており、
前記重複部において前記フラップの下方向の端部が前記収納部の上方向の端部よりも防護服の内側に位置しており、
前記重複部を介して、前記収納部の内部にアクセス可能となっている、請求項1に記載の防護服。
発明の詳細な説明
【技術分野】
【0001】
本発明は防護服に関する。より詳細には、本発明は衣服内環境を容易に把握することができる防護服に関する。
続きを表示(約 1,900 文字)
【背景技術】
【0002】
粉塵や有機溶剤など有害物質の取り扱い作業などに従事する作業者は、防護服内に有害物質が侵入しないようにするために、防護服や保護具(手袋、長靴およびマスクなど)を着用して作業に従事している。防護服を着用した場合、防護服内は高温多湿となり、作業者が熱中症を引き起こす一因となる。そのため、防護服を着用した作業者を熱中症から守るため、防護服内の温度や湿度の情報を防護服の外側から客観的に把握できることが望まれる。
【0003】
ここで、特許文献1には、作業者の衣服内環境情報や生体機能を探知する表示用センサーを収納するための取り付け部が防護服の内側に設置された防護服が開示されている。また、特許文献2には、胸部に装着した線量計等の装備品を、防護服が備える透明部を介して防護服の外部から視認できる防護服が提供されている。
【先行技術文献】
【特許文献】
【0004】
特開2018-139899号公報
実用新案登録第3183170号公報
【発明の概要】
【発明が解決しようとする課題】
【0005】
特許文献1に記載された生体機能を探知する表示用センサーを収納するための外付けポケットが設置された防護服は、取り付け部の環境と防護服内の環境が異なり、これにより衣服内の温度や湿度などを正確に把握できない可能性がある。また、防護服の着用時に、着用者の汗などが上記のセンサーに長時間、付着し、センサーの故障や誤作動の原因となるとの課題も考えられる。
【0006】
また、特許文献2においては、線量計によって衣服内の放射線量をモニターすることに焦点があてられている一方で、着用者の汗が線量計に付着することについては何ら考慮されておらず、特許文献1に開示の防護服と同様に、着用者の汗などが上記の線量計に長時間、付着し、線量計の故障や誤作動の原因となるとの課題も考えられる。
【0007】
そこで、本発明は、防護服の外部から、防護服内部の環境を把握し得るとともに、防護服の内部に配置したセンサー類が着用者の汗などにより故障や誤作動することを抑制することができる防護服を提供することを課題とする。
【課題を解決するための手段】
【0008】
上記課題を解決するために本発明の防護服は以下の構成をとる。すなわち、
(1)防護服の少なくとも一部に収納部を備え、
前記収納部は、2つ以上のシート状物が積層されてなるとともに、前記2つ以上のシート状物は左右方向の両端部および下方向の端部において断続的に接合されており、
前記収納部の一方の最外層を構成するシート状物は、防護服の最外層の一部を構成する第1のシート状物であり、
前記第1のシート状物の全光線透過率は、40%以上であり、
前記2つ以上のシート状物のうちの前記第1のシート状物以外のシート状物は、透湿度が200g/m
2
以上であり、かつ、耐水圧が400~2000mmH
2
Oである、防護服である。
【0009】
このような構成を備える防護服では、仮に収納部に着用者の汗などが侵入したとしても、汗などは、2つ以上のシート状物のうちの第1のシート状物以外のシート状物(以下、その他のシート状物と称することがある)が高い透湿性と透水性とを備えるため、その他のシート状物を介して収納部の外部に排出されやすく、さらに、収納部の左右方向の両端部および下方向の端部に備える断続的な接合部からも排泄されやすいため、汗などが収納部の内部に長時間、滞在することが抑制される。このことにより、収納部に収納されたセンサー類と汗などが長時間接触することが抑制されるため、結果として、センサー類の故障や誤作動が抑制される。
【0010】
さらに、(2)本発明の防護服は、その内部かつ収納部の上部にフラップを備え、前記フラップは略三角形であり、前記フラップの一つの頂点部が前記収納部の上方向に位置し、前記フラップの前記頂点部を含む2つの辺が防護服の内側に連続的に接合されてなり、前記フラップの下方向の端部の左右方向の幅は、前記収納部の上方向の端部の左右方向の幅よりも大きく、前記フラップの下方向の端部は、前記収納部の上方向の端部と重複部を形成し、前記重複部において前記フラップの下方向の端部が前記収納部の上方向の端部よりも防護服の内側に位置しており、前記重複部を介して、収納部の内部にアクセス可能となっていることが好ましい。
(【0011】以降は省略されています)
この特許をJ-PlatPat(特許庁公式サイト)で参照する
関連特許
東レ株式会社
化粧料
18日前
東レ株式会社
無配向フィルム
26日前
東レ株式会社
貼合体の製造方法
26日前
東レ株式会社
飛翔体用ブレード
26日前
東レ株式会社
赤外線遮蔽構成体
26日前
東レ株式会社
フィルムの製造装置
26日前
東レ株式会社
車両用衝撃吸収部材
26日前
東レ株式会社
遠心ポッティング方法
10日前
東レ株式会社
ポリエステルフィルム
23日前
東レ株式会社
複合成形体の製造方法
26日前
東レ株式会社
ポリオレフィン系樹脂発泡シート
2日前
東レ株式会社
二軸配向ポリオレフィンフィルム
26日前
東レ株式会社
ポリアミド樹脂組成物および成形品
11日前
東レ株式会社
電子部品の製造方法および樹脂組成物
4日前
東レ株式会社
顆粒状ポリエステルアミドの製造方法
18日前
東レ株式会社
フィルムの製造装置、及び、吸引装置
26日前
東レ株式会社
湿式不織布、および固体電解質用補強シート
4日前
東レ株式会社
液体電解用多孔質輸送層およびその製造方法
2日前
東レ株式会社
ガス拡散電極と触媒層付き電解質膜の接着力測定方法
16日前
東レ株式会社
芳香族化合物の製造方法、およびテレフタル酸の製造方法
2日前
東レ株式会社
コネクタ、カテーテル、カテーテルシステム、及び医療装置
1か月前
東レ株式会社
芳香族ポリアミドフィルムおよび芳香族ポリアミドフィルムの製造方法
10日前
東レ株式会社
半導体モールド用離型フィルム、半導体チップ封止体の製造方法および半導体
26日前
東レ株式会社
積層体、積層体の製造方法、フレキシブルデバイス、太陽電池、および光学センサ
23日前
東レ株式会社
オピオイドμ受容体に対するβ-アレスチン2の結合反応を評価するための細胞及び方法
1か月前
東レ株式会社
オピオイドκ受容体に対するβ-アレスチン2の結合反応を評価するための細胞及び方法
1か月前
日華化学株式会社
撥水剤組成物、撥水性繊維製品の製造方法、及び撥水性繊維製品
2日前
東レ株式会社
カチオン可染ポリエステル繊維構造物およびその製造方法ならびにメディカル用ユニフォーム
2日前
東レ株式会社
積層体、フィルムロール、フィルムロールの製造方法、有機系太陽電池、および電子デバイス装置
2日前
東レ株式会社
評価用臓器モデル装置、評価用臓器モデルシステム、及び、評価用臓器モデルシステムの制御方法
1か月前
東レ株式会社
積層ポリエステルフィルム、積層セラミックスチップコンデンサ、ポリエステルフィルムの製造方法
24日前
東レ株式会社
レーザー溶着用ポリブチレンテレフタレート樹脂組成物、およびそれからなる成形品ならびにレーザー透過率を向上させる方法。
26日前
東レ株式会社
着色ポリエステル繊維の着色成分抽出方法及び着色成分抽出ポリエステル繊維からエステルモノマー、さらには再生ポリエステルを得る方法
2日前
個人
和服
6か月前
個人
衿芯
4か月前
個人
中間着
3日前
続きを見る
他の特許を見る