TOP
|
特許
|
意匠
|
商標
特許ウォッチ
Twitter
他の特許を見る
10個以上の画像は省略されています。
公開番号
2025147431
公報種別
公開特許公報(A)
公開日
2025-10-07
出願番号
2024047679
出願日
2024-03-25
発明の名称
糸送り装置および糸送り方法
出願人
東レ株式会社
代理人
主分類
B65H
57/14 20060101AFI20250930BHJP(運搬;包装;貯蔵;薄板状または線条材料の取扱い)
要約
【課題】
繊維束が巻き取られる工程で発生した毛羽が搬送路中にあるガイド部に蓄積し毛羽だまりに成長することを防止し、清掃のための装置停止を削減すると共に、毛羽だまりの一部が下流側に流れて製品の一部に異物として混入したりするなどの品質上の問題を削減する。
【解決手段】
一方向に配向した連続繊維からなる繊維束の繊維束ボビンから繊維束を巻き出す巻出手段と、前記繊維束を巻取体に巻き取る巻取手段とを有し、前記巻出手段と前記巻取手段の間に前記繊維束の走行路を規制するガイドユニットを有する繊維束ガイド手段とを有する糸送り装置であって、前記ガイドユニットは、台座と、前記台座形状の重心位置を起点に配置した複数本のバーと、前記重心位置を回転軸として前記台座を間欠的に回転させる駆動機構とを有することを特徴とする糸送り装置である。
【選択図】図1
特許請求の範囲
【請求項1】
一方向に配向した連続繊維からなる繊維束の繊維束ボビンから繊維束を巻き出す巻出手段と、前記繊維束を巻取体に巻き取る巻取手段とを有し、前記巻出手段と前記巻取手段の間に前記繊維束の走行路を規制するガイドユニットを有する繊維束ガイド手段とを有する糸送り装置であって、
前記ガイドユニットは、台座と、前記台座形状の重心位置を起点に配置した複数本のバーと、前記重心位置を回転軸として前記台座を間欠的に回転させる駆動機構とを有することを特徴とする糸送り装置。
続きを表示(約 1,000 文字)
【請求項2】
前記巻出手段と前記巻取手段の間に、前記繊維束に樹脂を含浸させて樹脂含浸繊維束を得る樹脂含浸手段を有し、前記繊維束ガイド手段を、前記巻出手段と前記樹脂含浸手段の間、および/または、前記樹脂含浸手段と前記巻取手段との間に設けることを特徴とする請求項1に記載の糸送り装置。
【請求項3】
前記巻取手段には、前記巻取体の回転軸方向に対して移動可能なトラバース機構を有し、前記繊維束ガイド手段が前記トラバース機構の直前にあることを特徴とする請求項1に記載の糸送り装置。
【請求項4】
2つの前記ガイドユニットを、前記繊維束の走行方向に沿って設置することを特徴とする請求項1に記載の糸送り装置。
【請求項5】
2つの前記ガイドユニットのうち、少なくともいずれか一方の前記ガイドユニットに固定された複数本の前記バーに前記繊維束が常時接触していることを特徴とする請求項4に記載の糸送り装置。
【請求項6】
一方向に配向した連続繊維からなる繊維束の繊維束ボビンから繊維束を巻き出す巻出工程と、前記繊維束を巻取体に巻き取る巻取工程とを有し、前記巻出工程と前記巻取工程の間に前記繊維束の走行路を規制するガイドユニットを有する繊維束ガイド工程とを有する糸送り方法であって、
前記ガイドユニットは、台座と、前記台座に取り付けられた前記複数本のバーの固定箇所同士の重心位置を回転軸として前記台座を間欠的に回転させる駆動機構とが設けられることを特徴とする糸送り方法。
【請求項7】
前記巻出工程と前記巻取工程の間に前記繊維束に樹脂を含浸させ樹脂含浸繊維束を得る樹脂含浸工程を有し、前記繊維束ガイド工程を、前記巻出工程と前記樹脂含浸工程、および/または、前記樹脂含浸工程と前記巻取工程との間に設けることを特徴とする請求項6に記載の糸送り方法。
【請求項8】
前記巻取工程には、前記巻取体の回転軸方向に対して平行に移動可能なトラバース機構を有し、前記繊維束ガイド工程が前記トラバース機構の直前にあることを特徴とする請求項6に記載の糸送り方法。
【請求項9】
2つの前記ガイドユニットを、前記繊維束の走行方向に沿って設置することを特徴とする請求項6に記載の糸送り方法。
【請求項10】
2つの前記ガイドユニットのうち、少なくともいずれか一方の前記ガイドユニットに固定された複数本の前記バーに前記繊維束を常時接触させていることを特徴とする請求項9に記載の糸送り方法。
発明の詳細な説明
【技術分野】
【0001】
本発明は、一般的は複合材料の成形、特にFW成形に用いるガイドユニットに関する。
続きを表示(約 1,800 文字)
【背景技術】
【0002】
繊維強化樹脂(以下、FRP:Fiber Reinforced Plastics)は、高強度、高弾性率などの優れた機械的特性を有しているため、自動車や風力発電など一般産業用途などに広く使用されており、プリプレグに代表される中間材料や各種成形方法も様々開発されている。その中でも、トウプリプレグやフィラメントワインディング成形法などは、樹脂を含浸させた連続した強化繊維を引きそろえて使用する中間材料ならびに成形方法であり、高強度のFRP成形品を得るのに適している。
【0003】
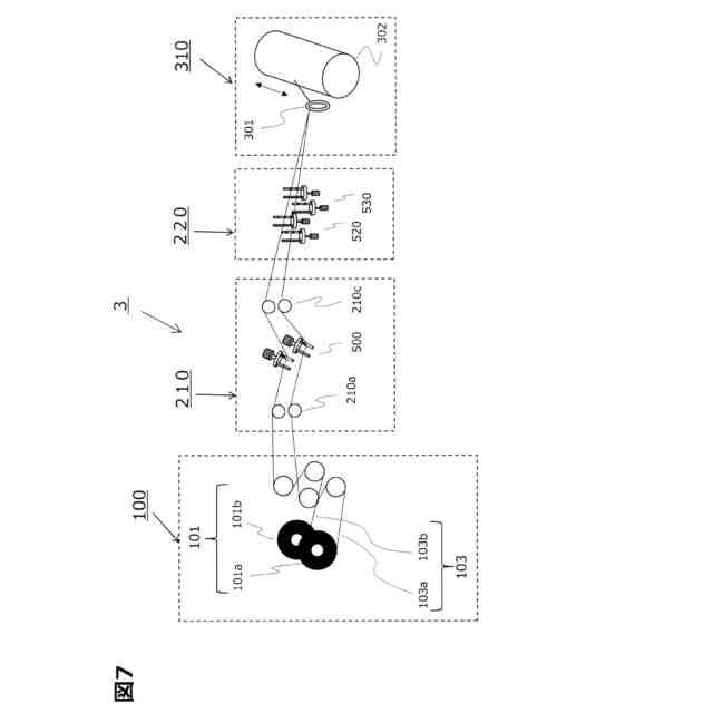
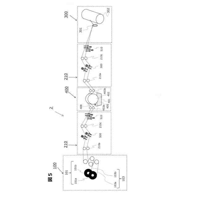
これらの中間材料の製造方法やFRPの成形方法においては、強化繊維を用いる場合、一般的に図10に示すような糸送り装置10が用いられる。糸送装置10では、繊維束送出手段100から巻出された繊維束103は、案内工程を担う繊維束ガイド手段200′を通り、樹脂含浸手段400で樹脂を含浸させた後に、案内工程を担う繊維束ガイド手段200″を通り、繊維束巻取手段300′の巻付ヘッド301で糸を案内しながら、巻取体302に液状樹脂が含浸した状態の繊維束103を巻き取る。
【0004】
ここで、繊維束103の走行路にはガイドを用いて位置を規制するのが一般的である。生産性を向上するため、複数本の繊維束103が用いられ、強化繊維の糸幅を維持しつつ、かつ蛇行による繊維束103の走行位置や巻取位置がばらつくことを抑制するため、繊維束103の搬送路を規制するため種々のガイドが用いられる。例えば、繊維束ガイド手段200′、200″には、自由回転可能なガイドローラ201aや固定型であるガイドバー201b、さらに等ピッチの櫛歯状をなす複数のピンが立設された櫛部材201cが設けられている。これらのガイドやピンの間を繊維束103が通過することで、繊維を均一に配置し、搬送位置を規定することができる。繊維束巻取手段300′には、巻付ヘッド301のトラバース移動による繊維束103の走行路のズレを抑制するため櫛部材303などが用いられている。
【0005】
しかしながら、繊維束がガイドを通過する際に繊維束が擦過して損傷し、糸くず(以下毛羽と称することがある)がガイド上に蓄積することで、毛羽だまりが発生する。毛羽だまりは一度発生すると、繊維が連続的にこれらに引っ掛かって累積的に成長する。さらには、送り出される繊維束側も引っ掛かりによって傷むことで、さらに別の箇所で毛羽だまりや巻付きを誘起する要因になったり、大型の毛羽だまりが製品に入り、製品の性能を損ねる恐れがある。
【0006】
加えて、溜まった毛羽だまりや巻付きを頻繁に除去する必要もあり、生産性の低下も招く。このように糸送装置では、毛羽の蓄積を抑制し毛羽だまりを発生させないことが重要である。
【0007】
特許文献1(特開2005-89161号公報)では、「多数本のボビンから引き出された複数本の強化繊維束の引出し直後に案内する部位および同部位の下流側直後に案内する部位の双方に、円形断面を有する円筒体や中実体からなる自由回転可能なガイドローラと、等ピッチの櫛歯状をなす複数のコームピンが立設された長尺棒材や円形断面を有する円筒体や中実体からなるバー部材等の固定型のガイド部材が配されていること」の構成が記載され、「ガイドローラと固定型のガイド部材の表面粗さやメッキ厚み、表面硬度による毛羽削減」の効果が開示されている。
【0008】
しかしながら、特許文献1の構成では、繊維束が固定ガイドを通過するときに擦過されて発生する毛羽を完全になくすことはできず、毛羽がガイドに蓄積し、頻繁な毛羽取り作業が必要となり、作業効率が悪化する。また、毛羽だまりが製品に混入する可能性がある。
【0009】
特許文献2(特開2000-37785号公報)では、多数本のボビンから引き出された複数本の強化繊維束の走行路に繊維を均一に揃える櫛部材が設けられたフィラメントワインディング装置が開示されている。
【0010】
しかしながら、特許文献2の構成では繊維束が櫛部材と接触するため、擦過された毛羽がガイドに蓄積する。また、櫛の隙間を繊維束が通過するため単独の固定式のバーよりも毛羽だまりが発生しやすい。
【先行技術文献】
【特許文献】
(【0011】以降は省略されています)
この特許をJ-PlatPat(特許庁公式サイト)で参照する
関連特許
東レ株式会社
電池
18日前
東レ株式会社
浄水器
2か月前
東レ株式会社
化粧料
1か月前
東レ株式会社
防護服
1か月前
東レ株式会社
複合半透膜
3か月前
東レ株式会社
積層フィルム
2か月前
東レ株式会社
風車ブレード
3か月前
東レ株式会社
積層フィルム
1か月前
東レ株式会社
無配向フィルム
1か月前
東レ株式会社
加飾用フィルム
1か月前
東レ株式会社
黒色樹脂組成物
1か月前
東レ株式会社
光透過性表皮材
1か月前
東レ株式会社
赤外線遮蔽構成体
1か月前
東レ株式会社
貼合体の製造方法
1か月前
東レ株式会社
不織布の製造装置
1か月前
東レ株式会社
多層積層フィルム
2か月前
東レ株式会社
多孔質炭素シート
2か月前
東レ株式会社
飛翔体用ブレード
1か月前
東レ株式会社
サンドイッチ構造体
2か月前
東レ株式会社
太陽電池モジュール
1か月前
東レ株式会社
中空糸膜モジュール
1か月前
東レ株式会社
フィルムの製造装置
1か月前
東レ株式会社
車両用衝撃吸収部材
1か月前
東レ株式会社
遮熱性アクリル繊維
1か月前
東レ株式会社
溶融紡糸口金パック
1か月前
東レ株式会社
テーパ付き円筒部材
1か月前
東レ株式会社
繊維断面の検査方法
1か月前
東レ株式会社
熱硬化性樹脂組成物
3か月前
東レ株式会社
ポリエステルフィルム
2か月前
東レ株式会社
引抜成形品の製造方法
3か月前
東レ株式会社
ポリエステルフィルム
1か月前
東レ株式会社
遠心ポッティング方法
1か月前
東レ株式会社
複合成形体の製造方法
1か月前
東レ株式会社
複合成形体の製造方法
2か月前
東レ株式会社
ガス拡散層の製造方法
2か月前
東レ株式会社
プラスチック光ファイバ
2か月前
続きを見る
他の特許を見る