TOP
|
特許
|
意匠
|
商標
特許ウォッチ
Twitter
他の特許を見る
公開番号
2025143685
公報種別
公開特許公報(A)
公開日
2025-10-02
出願番号
2024043037
出願日
2024-03-19
発明の名称
溶融紡糸口金パック
出願人
東レ株式会社
代理人
主分類
D01D
4/08 20060101AFI20250925BHJP(天然または人造の糸または繊維;紡績)
要約
【課題】 節の原因となるゲル化物の細分化効果が高く、パック内圧の上昇が少なく生産性の良い溶融紡糸パックを提供する。
【解決手段】 ポリマー流入部、濾過層、および紡糸口金部の順で構成された溶融紡糸用パックにおいて、粒子径45~500μm、円形度0.50以下の粒子状濾材が、濾過部を構成する全粒子状濾材層の総重量に対して50.0質量%以上含むことを特徴とする溶融紡糸口金パック。円形度=(4π×粒子面積)/(粒子周囲長
2
)
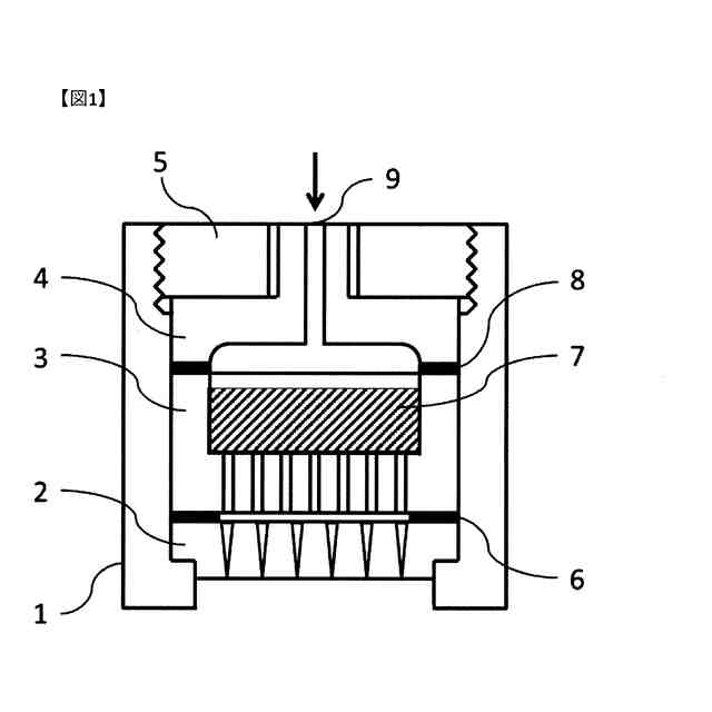
【選択図】図1
特許請求の範囲
【請求項1】
ポリマー流入部、濾過部、および紡糸口金部の順で構成された溶融紡糸口金パックにおいて、粒子径45μm~500μm、円形度0.50以下の粒子状濾材が、濾過部を構成する全粒子状濾材の総重量に対して50.0質量%以上含むことを特徴とする溶融紡糸口金パック。
円形度=(4π×粒子面積)/(粒子周囲長
2
)
発明の詳細な説明
【技術分野】
【0001】
本発明は熱可塑性樹脂を溶融紡糸する際に用いられる溶融紡糸口金パックに関するものである。
続きを表示(約 1,400 文字)
【背景技術】
【0002】
スクリーン紗と呼ばれるモノフィラメントを製織した織物は、近年、急成長を続けるエレクトロニクス分野において、精密プリント回路基板印刷に使用される他、自動車、家電など成形フィルター用途などに使用されている。
【0003】
スクリーン印刷の用途では、Tシャツやのぼり旗、看板、自動販売機プレート、車のパネル、屋外・屋内サイン、ボールペン、各種カード類、ネームプレート、スクラッチ、点字、CD・DVD、プリント基板、プラズマディスプレイ、液晶ディスプレイなどが挙げられる。なかでも、家電や携帯電話、パソコン向けなどの電子回路の印刷分野などにおいては、近年、印刷精度向上に対する要求が厳しくなってきていることから、メッシュがより細かく、紗張りなどにおいて伸びの少ない寸法安定性に優れたスクリーン紗が要求されてきている。すなわちスクリーン紗用原糸に対しては細繊度化、高強度、高モジュラスが求められている。
【0004】
また、例えばフィルター用途では、洗濯水中のゴミ再付着を防止するリントフィルター、エアコンの中に装着されている室内のホコリ・塵を除去するフィルター、掃除機の中に装着されているホコリ・塵・ゴミを除去する成形フィルター、医療分野では気泡などを除去する輸血キットや人工透析回路用フィルター、自動車分野では油圧回路における、電磁弁へのゴミや異物の混入を防止する、ろ過フィルター等に使用されている。
【0005】
なかでも、近年急成長を続けるエレクトロニクス分野や自動車分野では、フィルターの高精細化が進んでいる。例えば、音響フィルターは携帯端末の小型化に伴い、フィルターが小型化し、防塵性能と音響透過性の高度な両立が要求されており、フィルターの目開き均一性を維持したまま、メッシュの細線径化、ハイメッシュ化が進んでいる。そのため、モノフィラメントとして、高強力、高モジュラス、長手方向の繊維径の均一性を維持したまま、細繊度化を行う必要がある。
【0006】
これらの用途には、共通して原糸の繊維径均一性が高く要求されるが、モノフィラメントには溶融紡糸時にポリマーの熱劣化に伴い生成するゲル化物に起因した節糸と呼ばれる局所的な繊維径が極大化する異常が発生する事が知られており、該課題に対して様々な対策が講じられてきた。
【0007】
特許文献1では、節糸の原因となるゲル化物の抑制技術として、溶融紡糸時のポリマー濾過に使用するアルミナ系粒子表面の尖った角、傷を変性シリコーンで覆うことで、ポリマー濾過時の異常滞留を軽減する技術が提案されている。
【0008】
特許文献2では、ポリマー濾過材としてアスペクト比(L/D)が10~100の金属短繊維群を使用することでゲル化物を抑制する技術を提案している。
【0009】
特許文献3では、溶融紡糸用パック濾過材に使用する金属線フィルターと粒子状濾過材との間に、多角形状の断面を有する金属短繊維の焼結フィルターを用いる技術が提案されている。
【先行技術文献】
【特許文献】
【0010】
特開昭60-181307号公報
特開平8-13232号公報
特開2004-285519号公報
【発明の概要】
【発明が解決しようとする課題】
(【0011】以降は省略されています)
この特許をJ-PlatPat(特許庁公式サイト)で参照する
関連特許
東レ株式会社
電池
3日前
東レ株式会社
化粧料
24日前
東レ株式会社
無配向フィルム
1か月前
東レ株式会社
不織布の製造装置
1か月前
東レ株式会社
赤外線遮蔽構成体
1か月前
東レ株式会社
飛翔体用ブレード
1か月前
東レ株式会社
貼合体の製造方法
1か月前
東レ株式会社
フィルムの製造装置
1か月前
東レ株式会社
車両用衝撃吸収部材
1か月前
東レ株式会社
ポリエステルフィルム
29日前
東レ株式会社
遠心ポッティング方法
16日前
東レ株式会社
複合成形体の製造方法
1か月前
東レ株式会社
二軸配向ポリオレフィンフィルム
1か月前
東レ株式会社
ポリオレフィン系樹脂発泡シート
8日前
東レ株式会社
ポリアミド樹脂組成物および成形品
17日前
東レ株式会社
電子部品の製造方法および樹脂組成物
10日前
東レ株式会社
顆粒状ポリエステルアミドの製造方法
24日前
東レ株式会社
フィルムの製造装置、及び、吸引装置
1か月前
東レ株式会社
耐炎化繊維束および炭素繊維束の製造方法
1か月前
東レ株式会社
液体電解用多孔質輸送層およびその製造方法
8日前
東レ株式会社
湿式不織布、および固体電解質用補強シート
10日前
東レ株式会社
3Dプリンター用フィラメント及びその製造方法
1か月前
東レ株式会社
人工皮革およびその製造方法、衣料、ならびに鞄
1か月前
東レ株式会社
ゴム資材補強用合成繊維コードおよびその製造方法
1か月前
東レ株式会社
ガス拡散電極と触媒層付き電解質膜の接着力測定方法
22日前
東レ株式会社
芳香族化合物の製造方法、およびテレフタル酸の製造方法
8日前
東レ株式会社
プリプレグ、繊維強化樹脂成形体、及びそれらの製造方法
1か月前
東レ株式会社
コネクタ、カテーテル、カテーテルシステム、及び医療装置
1か月前
東レ株式会社
ポリエステル樹脂組成物、成形品、および車両用衝撃吸収部材
1か月前
東レ株式会社
スパンボンド不織布およびその製造方法ならびに積層体、表皮材
1か月前
東レ株式会社
交換可能型プレフィルタおよびそれを有するエアフィルタユニット
1か月前
東レ株式会社
繊維構造体およびその製造方法ならびに医療・介護従事者用のウェア
1か月前
東レ株式会社
半透膜の処理方法、半透膜の製造方法及び半透膜エレメントの製造方法
1か月前
東レ株式会社
芳香族ポリアミドフィルムおよび芳香族ポリアミドフィルムの製造方法
16日前
東レ株式会社
エポキシ樹脂組成物、樹脂硬化物、繊維強化複合材料およびその製造方法
1か月前
東レ株式会社
メルトブロー不織布、不織布積層体、およびメルトブロー不織布の製造方法
1か月前
続きを見る
他の特許を見る