TOP
|
特許
|
意匠
|
商標
特許ウォッチ
Twitter
他の特許を見る
10個以上の画像は省略されています。
公開番号
2025135648
公報種別
公開特許公報(A)
公開日
2025-09-19
出願番号
2024033507
出願日
2024-03-06
発明の名称
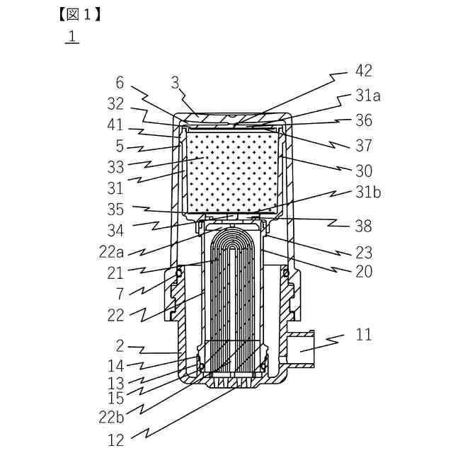
浄水器
出願人
東レ株式会社
代理人
主分類
C02F
1/28 20230101AFI20250911BHJP(水,廃水,下水または汚泥の処理)
要約
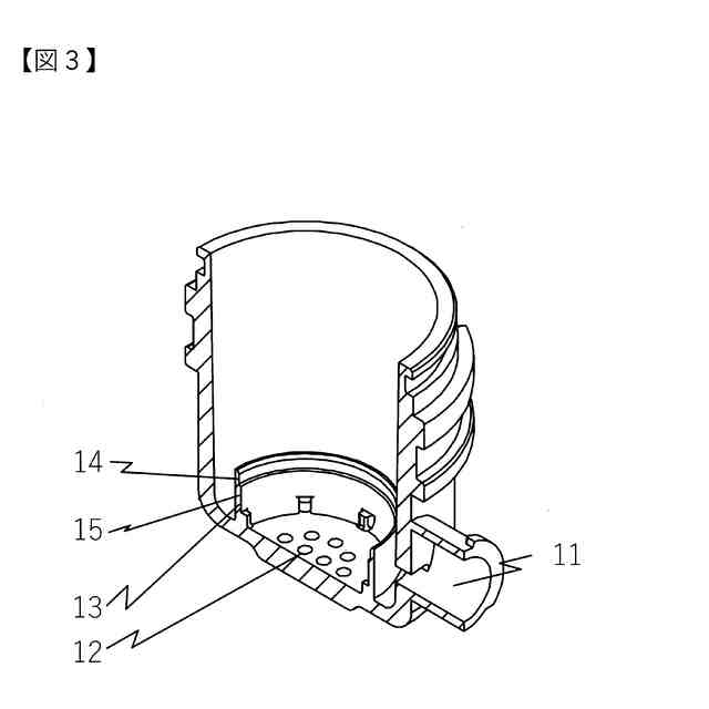
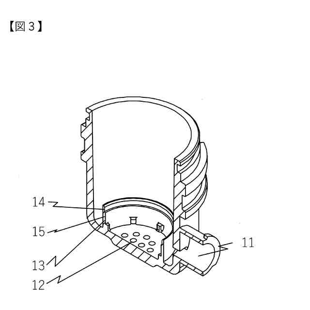
【課題】中空糸膜の外表面に堆積した濁質を浄水器の外部に排出することができ、浄水を得る流路と逆洗浄の流路を形成する必要がなく、浄水器を製造するコストを低く抑えることができ、中空糸膜の外表面に堆積した濁質が活性炭などの吸着材を汚染する可能性が無い、安全な浄水器を提供する。
【解決手段】本発明の浄水器は、原水入口と、浄水出口12と、ろ材収納部と、ろ材収納部に脱着可能なろ材収納蓋と、複数本の中空糸膜をポッティング材で円筒ケースの出口端に固定した中空糸膜モジュールを有し、ろ材収納部には円筒形開口を有するモジュール取付部13が配設され、モジュール取付部は、第1モジュール嵌合部14と、第1モジュール嵌合部より小径かつ浄水出口に近い第2モジュール嵌合部15を有し、円筒ケースの出口端の近傍が、第2モジュール嵌合部と液密に嵌合可能であり、円筒ケースの入口端の近傍が、第1モジュール嵌合部と液密に嵌合可能である。
【選択図】図3
特許請求の範囲
【請求項1】
原水入口と、浄水出口と、ろ材収納部と、ろ材収納部に脱着可能なろ材収納蓋と、
複数本の中空糸膜をポッティング材で円筒ケースの出口端に固定した中空糸膜モジュールを有する浄水器であって、
前記ろ材収納部には円筒形開口を有するモジュール取付部が配設され、
前記モジュール取付部は、第1モジュール嵌合部と、第1モジュール嵌合部より小径かつ浄水出口に近い第2モジュール嵌合部を有し、
前記円筒ケースの出口端の近傍が、前記第2モジュール嵌合部と液密に嵌合可能であり、
前記円筒ケースの入口端の近傍が、前記第1モジュール嵌合部と液密に嵌合可能であることを特徴とする浄水器。
続きを表示(約 220 文字)
【請求項2】
前記ろ材収納部に吸着材を充填した吸着材モジュールを有し、
前記円筒ケースの入口端の近傍を、前記第1モジュール嵌合部に液密に嵌合させ、
円筒ケースの出口端に前記吸着材モジュールを装着させたとき、
ろ材収納蓋がろ材収納部に装着できないことを特徴とする請求項1に記載の浄水器。
【請求項3】
前記ろ材収納蓋が、空気抜き機構を有することを特徴とする請求項1または2に記載の浄水器。
発明の詳細な説明
【技術分野】
【0001】
本発明は、家庭のキッチンにおいて水道水をろ過する浄水器に関する。
続きを表示(約 1,400 文字)
【背景技術】
【0002】
近年、家庭において水道水を浄化する浄水器が広く利用されている。浄水器には、水道水中の遊離残留塩素、カビ臭、トリハロメタンを除去する活性炭、水道水中の鉄錆などの濁質を除去する中空糸膜などの各種ろ材が収容されている。ろ材でろ過された浄水は、安全でおいしい水となって使用者の健康に寄与している。
【0003】
各種ろ材が、浄水器に着脱可能な浄水器用カートリッジの内部空間に充填されているものが多数を占める。ろ材は処理できるろ過水量が限られているため、浄水器用カートリッジを定期的に交換しながら、浄水器を継続使用するのが一般的である。
【0004】
特許文献1には、原水流入口と浄水の流出口を有する容器に中空糸膜モジュールを固定し、容器の開口に蓋を溶着したろ過カートリッジが提案されている。水道水中の鉄錆などの濁質を除去して良質な浄水を得ることができる。
【0005】
しかしながら、鉄管が多い集合住宅の水道水や、水道工事後の水道水が通水されると、中空糸膜が目詰まりを起こし、圧力損失が増大して浄水流量が低下してしまう。浄水器として継続使用するためには、新しいろ過カートリッジに交換する必要があり、多大な費用を要するという問題点があった。
【0006】
この問題点に対し、特許文献2には、中空糸膜モジュールを逆洗浄する浄水器が提案されている。すなわち、浄水を得るときに水が流れる方向と逆方向に水を流すことにより、中空糸膜の外表面に堆積した濁質を浄水器の外部に排出することができる。一度増大した中空糸膜の圧力損失はある程度元に戻り、直ちに新しい浄水器用カートリッジに交換しなくても、浄水器を継続使用できる。
【0007】
しかしながら、浄水を得る流路と、中空糸膜モジュールを逆洗浄するための流路を形成し、さらにふたつの流路を切り換える弁構造も搭載すると、部品点数はかなり多くなり、浄水器を製造するコストが高くなるという問題点があった。浄水器が高価になり使用者が購入しにくくなる。
【0008】
この問題点に対し、特許文献3には、浄水器用カートリッジの原水受入口と濾過水供給口とを同じ形状にした浄水器が提案されている。浄水を得るときには、浄水器の原水取出口に浄水器用カートリッジの原水受入口を連結し、中空糸膜モジュールを逆洗浄するときには、浄水器の原水取出口に浄水器用カートリッジの濾過水供給口を連結する。中空糸膜を逆洗浄すれば、中空糸膜の外表面に堆積した濁質を浄水器の外部に排出することができる。一度増大した中空糸膜の圧力損失はある程度元に戻り、直ちに新しい浄水器用カートリッジに交換しなくても浄水器を継続使用できる。
【0009】
浄水器には、浄水を得る流路と、中空糸膜モジュールを逆洗浄するための流路を形成する必要が無く、ふたつの流路を切り換える弁構造も要らない。部品点数は少なく、浄水器を製造するコストは低く抑えられる。
【先行技術文献】
【特許文献】
【0010】
特開2002-210458号公報
実開平10-241号公報
特開平8-89948号公報
【発明の概要】
【発明が解決しようとする課題】
(【0011】以降は省略されています)
この特許をJ-PlatPat(特許庁公式サイト)で参照する
関連特許
東レ株式会社
防護服
1か月前
東レ株式会社
化粧料
18日前
東レ株式会社
浄水器
1か月前
東レ株式会社
積層フィルム
2か月前
東レ株式会社
積層フィルム
1か月前
東レ株式会社
黒色樹脂組成物
1か月前
東レ株式会社
無配向フィルム
26日前
東レ株式会社
光透過性表皮材
1か月前
東レ株式会社
加飾用フィルム
1か月前
東レ株式会社
飛翔体用ブレード
26日前
東レ株式会社
赤外線遮蔽構成体
26日前
東レ株式会社
多孔質炭素シート
2か月前
東レ株式会社
貼合体の製造方法
26日前
東レ株式会社
多層積層フィルム
1か月前
東レ株式会社
不織布の製造装置
1か月前
東レ株式会社
車両用衝撃吸収部材
26日前
東レ株式会社
遮熱性アクリル繊維
1か月前
東レ株式会社
溶融紡糸口金パック
1か月前
東レ株式会社
繊維断面の検査方法
1か月前
東レ株式会社
太陽電池モジュール
1か月前
東レ株式会社
テーパ付き円筒部材
1か月前
東レ株式会社
中空糸膜モジュール
1か月前
東レ株式会社
フィルムの製造装置
26日前
東レ株式会社
サンドイッチ構造体
2か月前
東レ株式会社
ポリエステルフィルム
1か月前
東レ株式会社
複合成形体の製造方法
1か月前
東レ株式会社
ガス拡散層の製造方法
2か月前
東レ株式会社
複合成形体の製造方法
26日前
東レ株式会社
ポリエステルフィルム
23日前
東レ株式会社
遠心ポッティング方法
10日前
東レ株式会社
織物およびシート表皮材
2か月前
東レ株式会社
プラスチック光ファイバ
2か月前
東レ株式会社
ポリプロピレンフィルム
1か月前
東レ株式会社
ゴム補強用合成繊維コード
1か月前
東レ株式会社
織物および織物プリプレグ
2か月前
東レ株式会社
ゴム補強用合成繊維コード
1か月前
続きを見る
他の特許を見る