TOP
|
特許
|
意匠
|
商標
特許ウォッチ
Twitter
他の特許を見る
公開番号
2025177582
公報種別
公開特許公報(A)
公開日
2025-12-05
出願番号
2024084551
出願日
2024-05-24
発明の名称
異物検査装置および異物検査方法
出願人
東レ株式会社
代理人
主分類
G01N
21/892 20060101AFI20251128BHJP(測定;試験)
要約
【課題】
ウェブ表面に付着した異物の検査において、ウェブに付着する特定異物を検知し、さらにそれらの個数や大きさを評価できる異物検査装置を提供する
【解決手段】
本発明は、搬送中のウェブにおいて、特定異物の付着を検査する異物検査装置である。本発明の異物検査装置は、ウェブに付着している特定異物を含む異物を捕集する異物捕集領域を有する捕集部と、異物捕集領域に光を照射する照射部と、照射部によって照射される異物捕集領域を観察する観察部と、を備えている。異物捕集領域の表面を構成する材質が、特定異物とは異なる励起波長をもつ材質、励起による蛍光発光量が上記観察部の検出限界以下である材質、または励起波長をもたない材質であり、照射部から照射される光の波長が、当該波長の半値全幅の波長範囲が、特定異物の励起波長の半値全幅の波長範囲の波長範囲と少なくとも一部で重なっている。
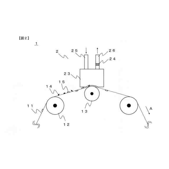
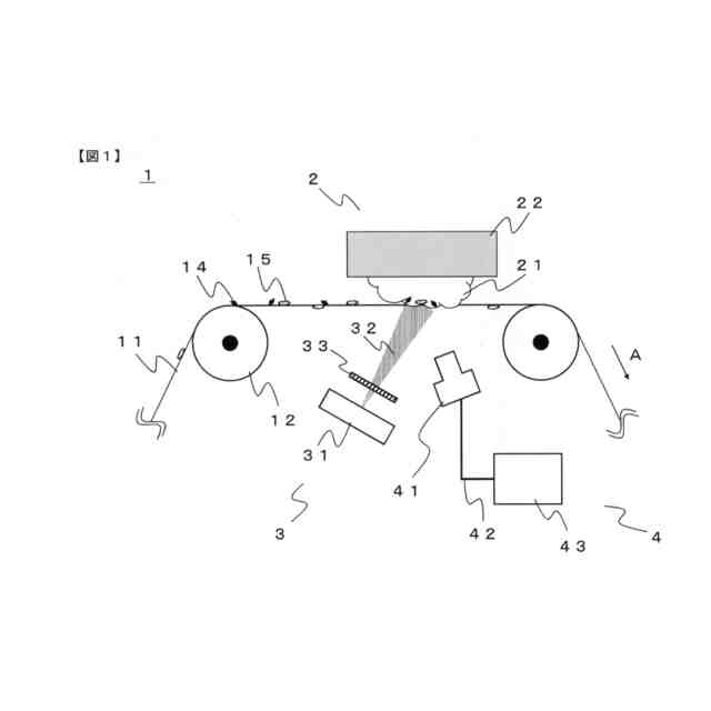
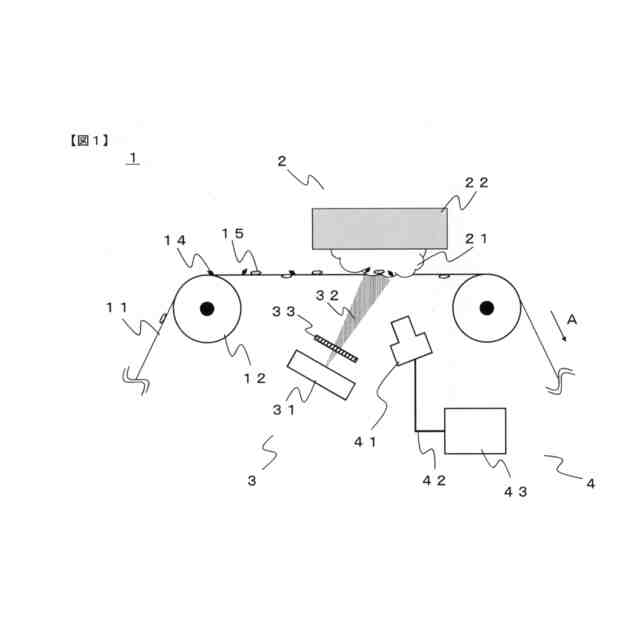
【選択図】図1
特許請求の範囲
【請求項1】
搬送中のウェブにおいて、特定異物の付着を検査する装置であって、
ウェブに付着している前記特定異物を含む異物を捕集する異物捕集領域を有する捕集部と、
前記異物捕集領域に光を照射する照射部と、
前記照射部によって照射される前記異物捕集領域を観察する観察部と、を備え、
前記異物捕集領域の表面を構成する材質は、前記特定異物とは異なる励起波長をもつ材質、励起による蛍光発光量が前記観察部の検出限界以下である材質、または励起波長を持たない材質であり、
前記照射部から照射される光の波長が、当該波長の半値全幅の波長範囲が、前記特定異物の励起波長の半値全幅と少なくとも一部で重なっている、
異物検査装置。
続きを表示(約 520 文字)
【請求項2】
前記捕集部が粘着面を前記捕集領域とする粘着ロールである、請求項1の異物検査装置。
【請求項3】
前記異物捕集領域を、異物を捕集する位置から捕集した異物を保持したまま前記観察部で観察する位置まで移動させる移動手段を備える、請求項1または2の異物検査装置。
【請求項4】
ウェブを搬送する搬送系を駆動する手段とは別に、前記捕集部を動かす駆動手段を備える、請求項3の異物検査装置。
【請求項5】
搬送中のウェブにおいて、特定異物の付着を検査する方法であって、
前記ウェブに付着している前記特定異物を含む異物を、前記特定異物とは異なる励起波長を持つ材質、または励起による蛍光発光量が観察する手段の検出限界以下である材質、または励起波長をもたない材質で構成された表面を有する捕集部で捕集し、
前記捕集部の異物を捕集している表面に、前記特定異物の励起波長の半値全幅の波長範囲と少なくとも一部で重なっている半値全幅の波長範囲を持つ光を照射し、
前記特定異物の蛍光波長が観察されれば、前記定異物が前記ウェブに付着していたと判定する、
異物物検査方法。
発明の詳細な説明
【技術分野】
【0001】
本発明はフィルムなどのウェブに付着した異物を検査する装置と方法に関する。
続きを表示(約 1,600 文字)
【背景技術】
【0002】
フィルムなどのウェブを連続的に製造する工程において、空間に浮遊する浮遊塵埃や工程で発生する工程塵埃がウェブの表面に付着することにより、欠陥が発生することが問題となることがある。この異物を検査する方法として、ラインカメラを用いて搬送中のウェブを直接観察する方法や、所望のサイズにウェブを切り取ったものをエリアカメラや顕微鏡で観察する方法が一般に用いられている。
【0003】
しかしながら、上記のような搬送中のウェブを直接観察する方法では、微小な付着異物を認識できる解像度を保ちつつ、ウェブの搬送方向を連続的に撮像して検査することは困難である。また、所望のサイズにウェブを切り取ってから観察する方法では、所望のサイズにウェブを切り取る工程が煩雑であり、かつサンプルの取り扱いによって付着異物が紛失する、もしくは付着位置が移動してしまう、さらにはサンプリング時や観察時に別の異物が付着してしまうといった問題が生じる。
【0004】
上記のような問題に対して、例えば特許文献1では、搬送中のウェブからウェブ表面の付着異物を捕捉する、捕捉体を備えた異物検査装置および異物検査方法が提案されている。
【先行技術文献】
【特許文献】
【0005】
特開2023-79150号公報
【発明の概要】
【発明が解決しようとする課題】
【0006】
特許文献1に記載されている異物検査装置と異物検査方法は、異物の発生原因や発生場所特定のために異物の材質を特定したい場合、異物を別途採取して元素分析する必要がある。そのため、より簡易に、異物の種類ごとに付着量を定量的に把握できる検査方法が望まれていた。
【0007】
また、特許文献1に記載の異物検査装置と異物検査方法は、検査時に明度の差を基準にして異物の有無を判別している。そのため、明度の差が小さい透明な異物も発見できる検査方法が望まれていた。
【0008】
本発明は上記課題を解決し、ウェブ表面に付着した異物の検査において、ウェブに付着する特定異物を検知し、さらにそれらの個数や大きさを評価できる異物検査装置および異物検査方法を提供する。
【課題を解決するための手段】
【0009】
[1]上記課題を解決する本発明は、搬送中のウェブにおいて、特定異物の付着を検査する異物検査装置であって、
ウェブに付着している上記特定異物を含む異物を捕集する異物捕集領域を有する捕集部と、
上記異物捕集領域に光を照射する照射部と、
上記照射部によって照射される上記異物捕集領域を観察する観察部と、を備え、
上記異物捕集領域の表面を構成する材質が、上記特定異物とは異なる励起波長をもつ材質、励起による蛍光発光量が上記観察部の検出限界以下である材質、または励起波長をもたない材質であり、
上記照射部から照射される光の波長が、当該波長の半値全幅の波長範囲が、上記特定異物の励起波長の半値全幅の波長範囲の波長範囲と少なくとも一部で重なっている。
【0010】
本発明の異物検査装置は以下の[2]~[4]のいずれかの態様であることが好ましい。
[2]上記捕集部が粘着面を上記異物捕集領域とする粘着ロールである、上記[1]の異物検査装置。
[3]上記異物捕集領域を、異物を捕集する位置から捕集した異物を保持したまま上記観察部で観察する位置まで移動させる移動手段を備える、上記[1]または[2]の異物検査装置。
[4]ウェブを搬送する搬送系を駆動する手段とは別に、上記捕集部を動かす駆動手段を備えている、上記[3]の異物検査装置。
(【0011】以降は省略されています)
この特許をJ-PlatPat(特許庁公式サイト)で参照する
関連特許
東レ株式会社
電池
25日前
東レ株式会社
化粧料
1か月前
東レ株式会社
浄水器
2か月前
東レ株式会社
防護服
2か月前
東レ株式会社
積層フィルム
2か月前
東レ株式会社
無配向フィルム
1か月前
東レ株式会社
黒色樹脂組成物
2か月前
東レ株式会社
光透過性表皮材
2か月前
東レ株式会社
加飾用フィルム
2か月前
東レ株式会社
飛翔体用ブレード
1か月前
東レ株式会社
赤外線遮蔽構成体
1か月前
東レ株式会社
不織布の製造装置
1か月前
東レ株式会社
貼合体の製造方法
1か月前
東レ株式会社
車両用衝撃吸収部材
1か月前
東レ株式会社
中空糸膜モジュール
2か月前
東レ株式会社
フィルムの製造装置
1か月前
東レ株式会社
遮熱性アクリル繊維
2か月前
東レ株式会社
溶融紡糸口金パック
2か月前
東レ株式会社
繊維断面の検査方法
2か月前
東レ株式会社
テーパ付き円筒部材
2か月前
東レ株式会社
太陽電池モジュール
2か月前
東レ株式会社
遠心ポッティング方法
1か月前
東レ株式会社
ポリエステルフィルム
2か月前
東レ株式会社
ポリエステルフィルム
1か月前
東レ株式会社
複合成形体の製造方法
2か月前
東レ株式会社
複合成形体の製造方法
1か月前
東レ株式会社
ポリプロピレンフィルム
2か月前
東レ株式会社
ゴム補強用合成繊維コード
2か月前
東レ株式会社
ゴム補強用合成繊維コード
2か月前
東レ株式会社
シート、硬化物、硬化接着物
2日前
東レ株式会社
糸送り装置および糸送り方法
2か月前
東レ株式会社
着色樹脂組成物および着色膜
2か月前
東レ株式会社
ポリエステル組成物の製造方法
2か月前
東レ株式会社
先端に凸面を有する光ファイバ
2か月前
東レ株式会社
二軸配向ポリオレフィンフィルム
1か月前
東レ株式会社
ポリオレフィン系樹脂発泡シート
1か月前
続きを見る
他の特許を見る