TOP
|
特許
|
意匠
|
商標
特許ウォッチ
Twitter
他の特許を見る
公開番号
2025152337
公報種別
公開特許公報(A)
公開日
2025-10-09
出願番号
2024054179
出願日
2024-03-28
発明の名称
結露対策設定装置
出願人
株式会社フジタ
代理人
弁理士法人高橋・林アンドパートナーズ
主分類
G06Q
50/163 20240101AFI20251002BHJP(計算;計数)
要約
【課題】精度の高い結露リスクの予測を可能にする。
【解決手段】一実施形態に係る結露対策設定装置は、建物の対象空間の運用設定情報に基づいて、将来の所望の時間帯における対象空間の温湿度予測値を特定する第1予測部と、温湿度予測値、所望の時間帯における運用設定情報および対象空間の体積情報に基づいて、所望の時間帯における対象空間の絶対湿度予測値を特定する第2予測部と、温湿度予測値に基づいて、所望の時間帯における、対象空間を定義する1つ以上の平面に対する飽和水蒸気量予測値を特定する第3予測部と、対象空間の絶対湿度予測値および飽和水蒸気量予測値に基づいて、所望の時間帯における、結露水量および蒸発水量の変動を予測して、所望の時間帯における対象空間の結露水量予測値を特定する第4予測部と、を備える。
【選択図】図3
特許請求の範囲
【請求項1】
建物の対象空間の運用設定情報に基づいて、将来の所望の時間帯における前記対象空間の温湿度予測値を特定する第1予測部と、
前記温湿度予測値、前記所望の時間帯における前記運用設定情報および前記対象空間の体積情報に基づいて、前記所望の時間帯における前記対象空間の絶対湿度予測値を特定する第2予測部と、
前記温湿度予測値に基づいて、前記所望の時間帯における、前記対象空間を定義する1つ以上の平面に対する飽和水蒸気量予測値を特定する第3予測部と、
前記対象空間の絶対湿度予測値および前記飽和水蒸気量予測値に基づいて、前記所望の時間帯における、結露水量および蒸発水量の変動を予測して、前記所望の時間帯における前記対象空間の結露水量予測値を特定する第4予測部と、
を備える、結露対策設定装置。
続きを表示(約 1,000 文字)
【請求項2】
前記第1予測部は、基準時点から前記将来の所望の時間帯までを1つ以上の時間帯に分割した単位時間帯ごとの前記温湿度予測値を特定し、所定の単位時間帯の前記温湿度予測値に基づいて、次の単位時間帯の前記温湿度予測値を特定する、請求項1に記載の結露対策設定装置。
【請求項3】
前記第1予測部は、予め設定された前記運用設定情報、前記建物の仕様情報、前記体積情報および前記対象空間の面積情報を含む対象空間情報、前記対象空間の温湿度情報、外気温湿度情報および外気温湿度予測情報に基づいて、前記単位時間帯ごとの前記対象空間の温湿度予測値を特定する、請求項1に記載の結露対策設定装置。
【請求項4】
前記温湿度情報は、予め設定されているか、または所定の単位時間帯の直前の単位時間帯の前記温湿度予測値である、請求項3に記載の結露対策設定装置。
【請求項5】
前記第1予測部は、前記所望の時間帯に達するまで、時系列に前記単位時間帯ごとに前記温湿度予測値の特定を繰り返す、請求項2に記載の結露対策設定装置。
【請求項6】
前記対象空間の予め設定されている運用設定情報は、予め設定された前記対象空間の換気情報、予め設定された前記対象空間における発熱物情報、および予め設定された前記対象空間における発湿情報のうち少なくとも一つを含む、請求項3または4に記載の結露対策設定装置。
【請求項7】
前記温湿度予測値は、前記対象空間における1つ以上の観測点における温湿度予測値を含む、請求項1に記載の結露対策設定装置。
【請求項8】
前記第1予測部は、流体解析により前記温湿度予測値を算出する、請求項1に記載の結露対策設定装置。
【請求項9】
特定した前記結露水量予測値が前記所望の時間帯に対応する所定の閾値を超えた回数が所定の回数以上か否かを判定する判定部をさらに備える、請求項5に記載の結露対策設定装置。
【請求項10】
前記判定部は、前記特定した結露水量予測値が前記閾値を超えた回数が所定の回数以上である場合、判定結果を前記第1予測部に出力し、
前記第1予測部は、前記判定結果を受けて、前記運用設定情報を変更し、前記所望の時間帯における結露水量予測値をさらに特定する、請求項9に記載の結露対策設定装置。
発明の詳細な説明
【技術分野】
【0001】
本発明は、建物の対象空間における結露発生リスクを予測する結露対策設定装置に関する。
続きを表示(約 1,700 文字)
【背景技術】
【0002】
従来、倉庫などの施設内で発生する結露は、当該施設で保管される物品に悪影響を及ぼす虞があることが知られている。結露への対策として、施設内で発生し得る結露リスクを予測して、管理者に報知することが知られている。管理者は、予測結果に基づいて結露を抑制するための対策を講じることができる。例えば、特許文献1には、対象施設の所在地域における気象予報情報に基づいて、該所在地域の気温と露点温度とを予測して結露リスクを予測する技術が開示されている。
【先行技術文献】
【特許文献】
【0003】
特開2023-111331号公報
【発明の概要】
【発明が解決しようとする課題】
【0004】
施設内に発生し得る結露を効果的に予防するために、より精度の高い結露リスクの予測が所望されている。
【0005】
本発明の目的の一つは、より精度の高い結露リスクの予測を可能にすることにある。
【課題を解決するための手段】
【0006】
一実施形態によると、建物の対象空間の運用設定情報に基づいて、将来の所望の時間帯における前記対象空間の温湿度予測値を特定する第1予測部と、前記温湿度予測値、前記所望の時間帯における前記運用設定情報および前記対象空間の体積情報に基づいて、前記所望の時間帯における前記対象空間の絶対湿度予測値を特定する第2予測部と、前記温湿度予測値に基づいて、前記所望の時間帯における、前記対象空間を定義する1つ以上の平面に対する飽和水蒸気量予測値を特定する第3予測部と、前記対象空間の絶対湿度予測値および前記飽和水蒸気量予測値に基づいて、前記所望の時間帯における、結露水量および蒸発水量の変動を予測して、前記所望の時間帯における前記対象空間の結露水量予測値を特定する第4予測部と、を備える、結露対策設定装置が提供される。
【発明の効果】
【0007】
本発明によると、より精度の高い結露リスクの予測が可能になる。
【図面の簡単な説明】
【0008】
本発明の一実施形態に係る結露対策システムの構成を示すブロック図である。
本発明の一実施形態に係る結露対策設定装置の構成を示すブロック図である。
本発明の一実施形態に係る結露リスク予測機能によって実行される結露リスク予測処理の一例を説明するためのフローチャートである。
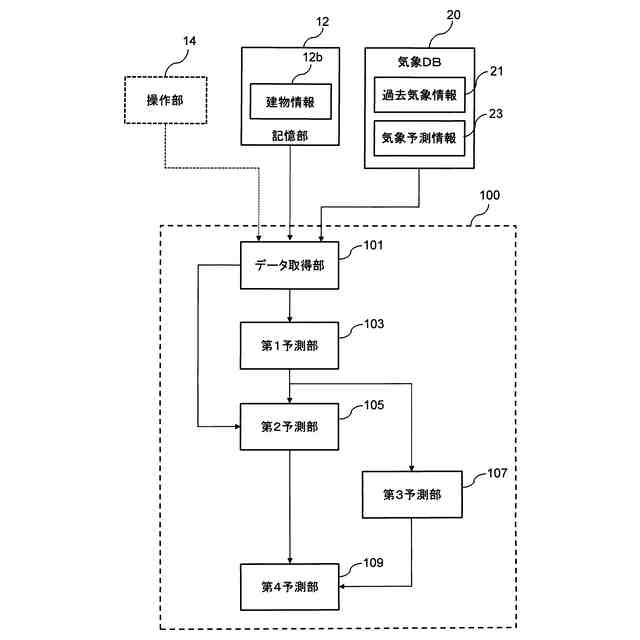
本発明の一実施形態に係る結露リスク予測機能の構成を示すブロック図である。
第1予測部によって実行される温湿度予測処理の一例を説明するためのフローチャートである。
第4予測部によって実行される結露水量予測処理の一例を説明するためのフローチャートである。
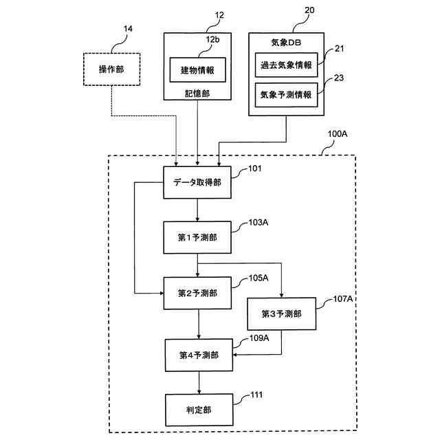
一変形例に係る結露リスク予測機能の構成を示すブロック図である。
【発明を実施するための形態】
【0009】
以下、本発明の一実施形態について、図面を参照しながら詳細に説明する。以下に示す実施形態は一例であって、本発明はこれらの実施形態に限定して解釈されるものではない。本実施形態で参照する図面において、同一部分または同様な機能を有する部分には同一の符号または類似の符号(数字の後にA、Bなど付しただけの符号)を付し、その繰り返しの説明は省略する場合がある。図面は、説明を明確にするために、寸法比率が実際の比率とは異なったり、構成の一部が図面から省略されたりして、模式的に説明される場合がある。
【0010】
<第1実施形態>
[結露対策システムの構成]
図1は、本発明の一実施形態に係る結露対策システムの構成を示すブロック図である。結露対策システム1は、結露対策設定装置10および気象データベース(気象DB)20を含む。結露対策設定装置10と気象DB20とは互いに通信可能である。結露対策設定装置10と気象DB20とは、ネットワークを介して互いに通信可能であってもよい。
(【0011】以降は省略されています)
この特許をJ-PlatPat(特許庁公式サイト)で参照する
関連特許
株式会社フジタ
水電解装置
今日
株式会社フジタ
清掃ロボット
1日前
個人
詐欺保険
23日前
個人
縁伊達ポイン
23日前
個人
RFタグシート
10日前
個人
地球保全システム
1か月前
個人
ペルソナ認証方式
7日前
個人
QRコードの彩色
27日前
個人
自動調理装置
9日前
個人
情報処理装置
2日前
個人
表変換編集支援システム
1か月前
個人
農作物用途分配システム
22日前
個人
残土処理システム
29日前
個人
インターネットの利用構造
6日前
個人
知的財産出願支援システム
1か月前
個人
タッチパネル操作指代替具
16日前
個人
パスワード管理支援システム
1か月前
個人
行動時間管理システム
1か月前
個人
スケジュール調整プログラム
15日前
個人
携帯端末障害問合せシステム
15日前
個人
システム及びプログラム
1か月前
株式会社キーエンス
受発注システム
1か月前
個人
食品レシピ生成システム
1か月前
株式会社キーエンス
受発注システム
1か月前
株式会社キーエンス
受発注システム
1か月前
個人
海外支援型農作物活用システム
1か月前
個人
エリアガイドナビAIシステム
7日前
個人
AIキャラクター制御システム
1か月前
トヨタ自動車株式会社
通知装置
13日前
キヤノン株式会社
表示システム
1か月前
株式会社ケアコム
項目選択装置
2日前
株式会社ケアコム
項目選択装置
2日前
個人
未来型家系図構築システム
1か月前
キヤノン株式会社
情報処理装置
今日
エッグス株式会社
情報処理装置
16日前
個人
音声対話型帳票生成支援システム
1か月前
続きを見る
他の特許を見る