TOP
|
特許
|
意匠
|
商標
特許ウォッチ
Twitter
他の特許を見る
公開番号
2025165681
公報種別
公開特許公報(A)
公開日
2025-11-05
出願番号
2024069905
出願日
2024-04-23
発明の名称
清掃ロボット
出願人
株式会社フジタ
代理人
個人
,
個人
,
個人
主分類
A47L
1/02 20060101AFI20251028BHJP(家具;家庭用品または家庭用設備;コーヒーひき;香辛料ひき;真空掃除機一般)
要約
【課題】仮設の清掃ロボットであっても、清掃品質が低下してしまうことを回避することができる清掃ロボットを提供する。
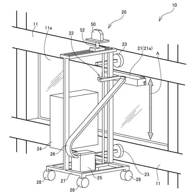
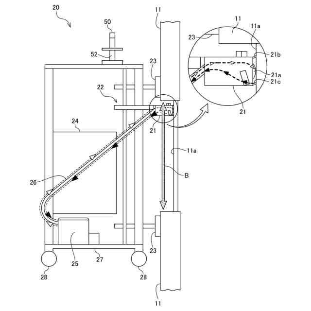
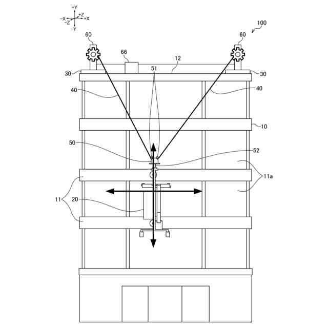
【解決手段】窓清掃ロボット20は、建物10に仮設した揚重装置100に吊下げられる装置であり、建物10の壁面11に沿って揚重下で清掃作業を行う。窓清掃ロボット20は、建物10の窓11aにブラシ21aを押し付けながら移動することにより建物10の窓11aを清掃する清掃部21と、窓清掃ロボット20を建物10の壁面11や窓11aに固定する装置であり、清掃部21を上下に挟み込む位置に配置された2つの吸着装置23と、を備える。清掃部21を挟み込む位置に2つ吸着装置23が配置されているため、挟み込みの固定によって吸着力を安定させることができ、仮設の窓清掃ロボット20においても清掃部21による強力な窓清掃が可能となり、清掃品質の高い窓清掃ロボット20を提供することができる。
【選択図】図4
特許請求の範囲
【請求項1】
建物に仮設した揚重装置に吊下げられる清掃ロボットであって、
前記建物の清掃対象面に押し付けながら移動することにより前記清掃対象面を清掃する清掃部と、
前記建物に前記清掃ロボットを固定する装置であり、前記清掃部を挟み込む位置に配置された2以上の吸着装置と、
を備える清掃ロボット。
続きを表示(約 570 文字)
【請求項2】
請求項1に記載の清掃ロボットにおいて、
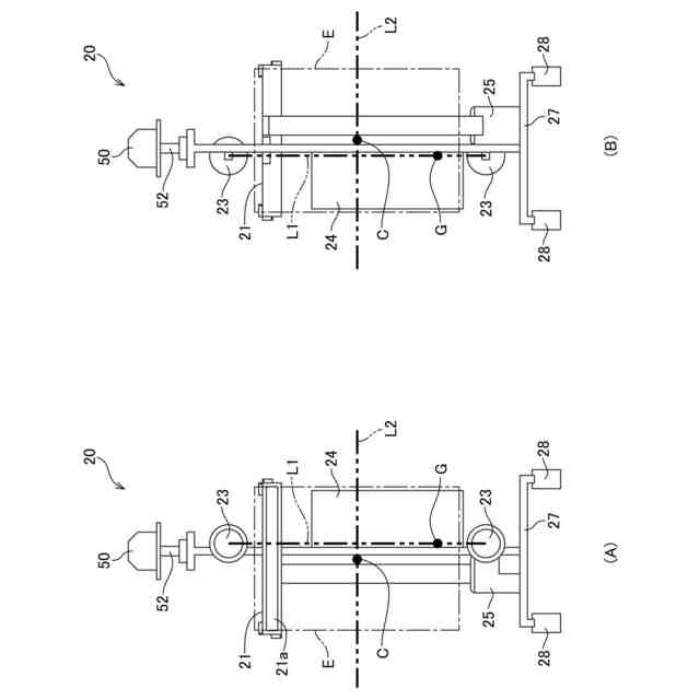
前記吸着装置は、前記清掃部の上下に2つ配置されており、前記清掃ロボットの重心が2つの前記吸着装置を結ぶ線上に位置するように配置されていることを特徴とする清掃ロボット。
【請求項3】
請求項1に記載の清掃ロボットにおいて、
前記清掃ロボットの重心は、前記清掃ロボットの下方に配置されていることを特徴とする清掃ロボット。
【請求項4】
請求項1に記載の清掃ロボットにおいて、
前記吸着装置は、2つ配置されており、
2つの前記吸着装置は、前記清掃部の移動領域の中心を基準として対称となる位置に配置されていることを特徴とする清掃ロボット。
【請求項5】
請求項1に記載の清掃ロボットにおいて、
前記清掃部は、上下方向に移動可能であり、
前記吸着装置は、2つ配置されており、
2つの前記吸着装置は、前記清掃部を上下に挟み込む位置に配置されていることを特徴とする清掃ロボット。
【請求項6】
請求項1に記載の清掃ロボットにおいて、
前記清掃部は、上下方向に移動可能であり、
前記清掃部で用いる清掃水を循環させて利用する循環部を備えることを特徴とする清掃ロボット。
発明の詳細な説明
【技術分野】
【0001】
本発明は、清掃ロボットに関する。
続きを表示(約 1,700 文字)
【背景技術】
【0002】
従来、建物の清掃ロボットとして、特許文献1や特許文献2のように、ブラシやワイパーを窓に押し付けながら移動することで窓を清掃するロボットが使用されてきた。これらの清掃ロボットは、建設時からの設置が必要なその建物専用の本設の清掃ロボットであり、壁面にロボット移動用のガイドレールを設けたり、屋上にロボット吊下げ用の装置を設けたりする必要がある。この本設の清掃ロボットは、壁面に設置されたガイドレールに沿って移動するため、ブラシやワイパーを強く押し付けてもレールを介してその反力を得ることが可能となっている。また、従来の技術として、特許文献3~5のような技術もある。
【先行技術文献】
【特許文献】
【0003】
特開平03-109016号公報
特開1989-121025号公報
特開2019-535403号公報
特開2023-102091号公報
特開2017-510402号公報
【発明の概要】
【発明が解決しようとする課題】
【0004】
これに対し、本件発明者らは、既存建物に後から設置・撤去が可能な仮設の清掃ロボットを開発している。これらの仮設の清掃ロボットは、本設の清掃ロボットと比較して小型・軽量のため可搬性があり、適宜清掃したい建物に揚重装置を据え付けて仮設の清掃ロボットを吊るすことで、壁面上を移動しながら窓を清掃することが可能となっている。これにより、本設の清掃ロボットが設置されていない任意の建物についても、仮設の窓清掃ロボットによる清掃が可能となる。
【0005】
しかし、同じような清掃ロボットであっても、仮設の清掃ロボットと本設の清掃ロボットとでは、必要な構成が異なる。すなわち、仮設の清掃ロボットは、壁面上にレールがないため、宙づりの状態で清掃・移動する必要がある。また、仮設の清掃ロボットは、そのまま宙づり状態でブラシやワイパーを窓に押しつけても清掃することができないため、清掃作業を行うに当たっては窓面に対して垂直方向に働く反力を得る必要がある。
【0006】
この反力の生成方法として、特許文献3の技術では、ファンの風圧力を発生させることで窓に張り付く案が提案されているが、風圧力による反力ではブラシなどを強固に押し付けることができないため、鳥の糞などの頑固な汚れを除去できない。
【0007】
また、特許文献4や特許文献5のように、清掃部自体が窓に吸着しながら移動することで窓を清掃する案も存在するが、吸着力が弱いと吸着部分が脱落する一方、吸着力が高すぎると動けないといった精密な吸着力のコントロールを必要とするため、結局のところ、前述の通り強力な洗浄ができず清掃品質が低下してしまう。
【0008】
そこで、本発明は、仮設の清掃ロボットであっても、清掃品質が低下してしまうことを回避することができる清掃ロボットを提供することを課題とする。
【課題を解決するための手段】
【0009】
本発明は、上記の課題を解決するため以下の解決手段を採用する。なお、以下の解決手段及び括弧書中の文言はあくまで例示であり、本発明はこれに限定されるものではない。また、本発明は、以下の解決手段に示す各発明特定事項を少なくとも1つ含む発明とすることができる。さらに、以下の解決手段に示す各発明特定事項には、発明特定事項を限定する要素を追加して下位概念化することができ、発明特定事項を限定する要素を削除して上位概念化することもできる。
【0010】
解決手段1:本解決手段の清掃ロボットは、建物に仮設した揚重装置に吊下げられる清掃ロボットであって、前記建物の清掃対象面に押し付けながら移動することにより前記清掃対象面を清掃する清掃部と、前記建物に前記清掃ロボットを固定する装置であり、前記清掃部を挟み込む位置に配置された2以上の吸着装置と、を備える清掃ロボットである。
(【0011】以降は省略されています)
この特許をJ-PlatPat(特許庁公式サイト)で参照する
関連特許
個人
箸
1か月前
個人
家具
5か月前
個人
椅子
3か月前
個人
自助箸
7か月前
個人
掃除機
9か月前
個人
掃除用具
4か月前
個人
屋外用箒
7か月前
個人
体洗い具
11か月前
個人
枕
9か月前
個人
ソファー
2か月前
個人
掃除道具
9か月前
個人
多用途紐
1か月前
個人
枕
5か月前
個人
耳拭き棒
11か月前
個人
ハンガー
7か月前
個人
開閉トング
6か月前
個人
物品
3か月前
個人
片手代替具
12か月前
個人
省煙消臭器
9か月前
個人
掃除シート
10か月前
個人
組立式棚板
8か月前
個人
ゴミ袋保持枠
7か月前
個人
経典表示装置
5か月前
個人
洗面台
11か月前
個人
靴ベラ
2か月前
個人
紙コップ 蓋
2か月前
個人
中身のない枕
8か月前
個人
シャワー装置
6か月前
個人
バターナイフ
1か月前
個人
転倒防止装置
5か月前
個人
受け皿
6か月前
個人
簡易防災トイレ
2か月前
個人
補助寝具
8か月前
個人
ホバー掃除機。
6か月前
個人
展示装置
17日前
個人
コーナーシール
10か月前
続きを見る
他の特許を見る