TOP
|
特許
|
意匠
|
商標
特許ウォッチ
Twitter
他の特許を見る
公開番号
2025145053
公報種別
公開特許公報(A)
公開日
2025-10-03
出願番号
2024045031
出願日
2024-03-21
発明の名称
緑化装置
出願人
株式会社フジタ
代理人
弁理士法人高橋・林アンドパートナーズ
主分類
A01G
20/00 20180101AFI20250926BHJP(農業;林業;畜産;狩猟;捕獲;漁業)
要約
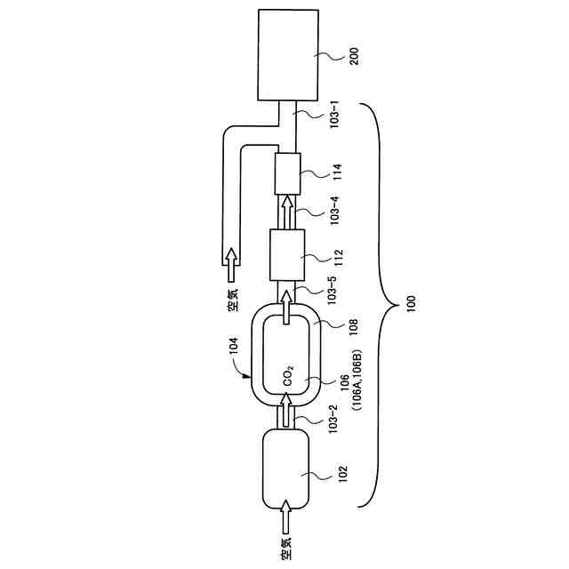
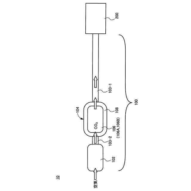
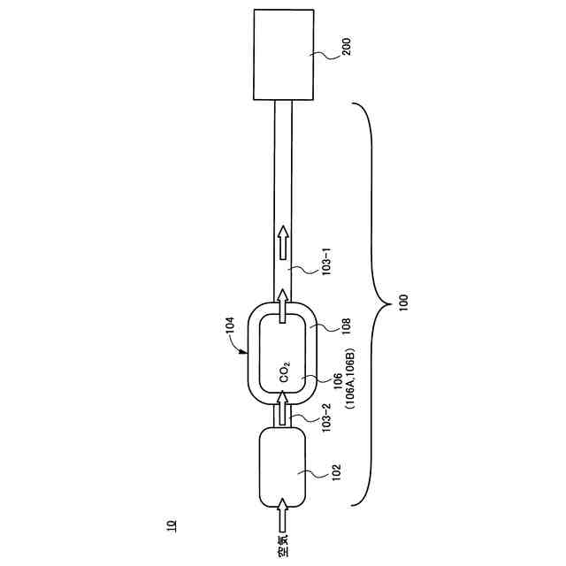
【課題】照度の低い居住空間において、二酸化炭素を利用して植物を健全に生育することができる緑化装置を提供することにある。また、外部電源等のエネルギー源を用いずに、植物に高濃度な二酸化炭素を供給することができる緑化装置を提供することにある。
【解決手段】緑化装置は、室内から吸引した空気よりも二酸化炭素の濃度が高い二酸化炭素含有ガスを排出する二酸化炭素濃度制御装置と、二酸化炭素含有ガスを植物に供給する栽培装置と、を含み、栽培装置は、植物が植栽される植栽基盤と、植栽基盤の上に設けられ、二酸化炭素濃度制御装置から供給された二酸化炭素含有ガスを通過させる貫通孔を有し、光を反射する反射板と、を有し、二酸化炭素濃度制御装置は、空気に含まれる水蒸気を除去する除湿部と、二酸化炭素を吸着放出可能なアミン化合物を含む二酸化炭素吸着放出材を備え、二酸化炭素含有ガスを排出する二酸化炭素供給部と、を有する。
【選択図】図1
特許請求の範囲
【請求項1】
室内から吸引した空気よりも二酸化炭素の濃度が高い二酸化炭素含有ガスを排出する二酸化炭素濃度制御装置と、
前記二酸化炭素含有ガスを植物に供給する栽培装置と、を含み、
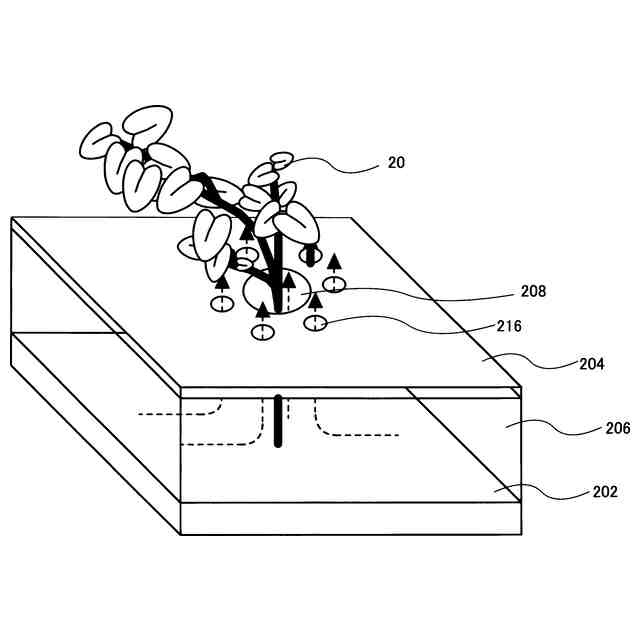
前記栽培装置は、
前記植物が植栽される植栽基盤と、
前記植栽基盤の上に設けられ、前記二酸化炭素濃度制御装置から供給された前記二酸化炭素含有ガスを通過させる貫通孔を有し、光を反射する反射板と、
を有し、
前記二酸化炭素濃度制御装置は、
前記空気に含まれる水蒸気を除去する除湿部と、
二酸化炭素を吸着放出可能なアミン化合物を含む二酸化炭素吸着放出材を備え、前記二酸化炭素含有ガスを排出する二酸化炭素供給部と、を有し、
前記二酸化炭素吸着放出材は、前記除湿部を通過した空気中の二酸化炭素を吸着し、前記二酸化炭素を吸着させた温度より高い温度で加熱されることで、前記二酸化炭素を放出する、緑化装置。
続きを表示(約 1,000 文字)
【請求項2】
前記二酸化炭素濃度制御装置は、
前記二酸化炭素供給部から排出された前記二酸化炭素含有ガスを攪拌する乱流部をさらに含む請求項1に記載の緑化装置。
【請求項3】
前記二酸化炭素濃度制御装置は、
前記二酸化炭素供給部から排出された前記二酸化炭素含有ガスに含まれる二酸化炭素を水に溶解させる二酸化炭素貯留部と、
前記二酸化炭素貯留部から排出された前記二酸化炭素が溶解された水をミスト化するミスト発生部と、をさらに有し、
前記ミスト発生部は、前記二酸化炭素供給部から排出された前記二酸化炭素含有ガスの湿度よりも高い湿度の二酸化炭素含有ガスを放出する、請求項1に記載の緑化装置。
【請求項4】
前記二酸化炭素供給部は、前記アミン化合物と、前記アミン化合物を担持可能な細孔を有する多孔質基材と、
前記多孔質基材を加熱する熱源と、を有する、請求項1に記載の緑化装置。
【請求項5】
前記二酸化炭素供給部は、前記アミン化合物と、前記アミン化合物が表面に塗布された管と、
前記管を加熱する熱源と、を有する、請求項1に記載の緑化装置。
【請求項6】
前記栽培装置は、前記栽培装置内に前記二酸化炭素含有ガスを吸引するファンと、
前記植栽基盤と前記反射板との間に設けられ、前記二酸化炭素含有ガスを通気する通気層と、をさらに有する、請求項1に記載の緑化装置。
【請求項7】
前記通気層において、前記ファンから吸引された前記二酸化炭素含有ガスを前記貫通孔に誘導する誘導管をさらに有する、請求項6に記載の緑化装置。
【請求項8】
前記反射板は、前記栽培装置内に供給された前記二酸化炭素含有ガスを通気可能な通気部をさらに有する、請求項1記載の緑化装置。
【請求項9】
前記二酸化炭素濃度制御装置と前記栽培装置との間に、前記栽培装置内に前記二酸化炭素含有ガスを吸引するファンをさらに有する、請求項1に記載の緑化装置。
【請求項10】
前記反射板は、
前記貫通孔の近傍に配置されたLEDと、
前記LEDの下に設けられた集熱部と、
前記集熱部の下に設けられ、二酸化炭素を吸着放出するアミン化合物を含む二酸化炭素吸着放出材と、をさらに有する、請求項1に記載の緑化装置。
(【請求項11】以降は省略されています)
発明の詳細な説明
【技術分野】
【0001】
本発明は、緑化装置に関する。
続きを表示(約 1,300 文字)
【背景技術】
【0002】
従来、植物工場などに設置される植物栽培装置は、室内で作物を生産するために、作物の生育に適した環境を人工的に作り出すものであった。例えば、特許文献1には、高圧ボンベから二酸化炭素を植物に提供する装置が開示されている。
【先行技術文献】
【特許文献】
【0003】
特開2017-205072号公報
【発明の概要】
【発明が解決しようとする課題】
【0004】
しかしながら、植物工場などに設置される植物栽培装置を室内緑化のために居住空間に設置すると、植物に供給する二酸化炭素を高圧ボンベなどから供給されるため、室内における二酸化炭素の濃度が増加する。このような室内環境では、人が室内に長期滞在できなくなり、装置と人との共存が困難となり、室内緑化のために二酸化炭素を増加させる処理は困難であった。
【0005】
本発明の一実施形態の課題の一つは、照度の低い居住空間において、二酸化炭素を利用して植物を健全に生育することができる緑化装置を提供することにある。また、外部電源等のエネルギー源を用いずに、植物に高濃度な二酸化炭素を供給することができる緑化装置を提供することにある。
【課題を解決するための手段】
【0006】
本発明の一実施形態に係る緑化装置は、室内から吸引した空気よりも二酸化炭素の濃度が高い二酸化炭素含有ガスを排出する二酸化炭素濃度制御装置と、二酸化炭素含有ガスを植物に供給する栽培装置と、を含み、栽培装置は、植物が植栽される植栽基盤と、植栽基盤の上に設けられ、二酸化炭素濃度制御装置から供給された二酸化炭素含有ガスを通過させる貫通孔を有し、光を反射する反射板と、を有し、二酸化炭素濃度制御装置は、空気に含まれる水蒸気を除去する除湿部と、二酸化炭素を吸着放出可能なアミン化合物を含む二酸化炭素吸着放出材を備え、二酸化炭素含有ガスを排出する二酸化炭素供給部と、を有し、二酸化炭素吸着放出材は、除湿部を通過した空気中の二酸化炭素を吸着し、二酸化炭素を吸着させた温度より高い温度で加熱されることで、二酸化炭素を放出する。
【0007】
二酸化炭素濃度制御装置は、二酸化炭素供給部から排出された二酸化炭素含有ガスを攪拌する乱流部をさらに含んでもよい。
【0008】
二酸化炭素濃度制御装置は、二酸化炭素供給部から排出された二酸化炭素含有ガスに含まれる二酸化炭素を水に溶解させる二酸化炭素貯留部と、二酸化炭素貯留部から排出された二酸化炭素が溶解された水をミスト化するミスト発生部と、をさらに有し、ミスト発生部は、二酸化炭素供給部から排出された二酸化炭素含有ガスの湿度よりも高い湿度の二酸化炭素含有ガスを放出してもよい。
【0009】
二酸化炭素供給部は、アミン化合物と、アミン化合物を担持可能な細孔を有する多孔質基材と、多孔質基材を加熱する熱源と、を有してもよい。
【0010】
二酸化炭素供給部は、アミン化合物と、アミン化合物が表面に塗布された管と、管を加熱する熱源と、を有してもよい。
(【0011】以降は省略されています)
この特許をJ-PlatPat(特許庁公式サイト)で参照する
関連特許
株式会社フジタ
合成床
1か月前
株式会社フジタ
保護具
26日前
株式会社フジタ
緑化装置
1か月前
株式会社フジタ
水処理装置
1か月前
株式会社フジタ
木質建築部材
1か月前
株式会社フジタ
ビス打ち装置
1か月前
株式会社フジタ
センサユニット
1か月前
株式会社フジタ
窓用カバー部材
25日前
株式会社フジタ
情報取得システム
1か月前
株式会社フジタ
結露対策設定装置
25日前
株式会社フジタ
駐車場緑化システム
1か月前
株式会社フジタ
バイオガス改質装置
1か月前
株式会社フジタ
地質性状予測システム
26日前
株式会社フジタ
バイオガス改質システム
1か月前
株式会社フジタ
床衝撃音レベル予測システム
1か月前
株式会社フジタ
荷物昇降装置用の荷物載置機構
1か月前
株式会社フジタ
昆虫および昆虫の幼虫の飼育装置
27日前
株式会社明電舎
電力系統システム
1か月前
株式会社フジタ
合成床、及び合成床と梁の接合構造
1か月前
株式会社フジタ
ビス補給装置およびビス打ちシステム
1か月前
株式会社フジタ
ハーフプレキャスト梁とその製作方法
1か月前
株式会社フジタ
飛沫感染、飛沫核感染防止のための衝立
25日前
株式会社フジタ
修繕計画支援システム及び修繕計画支援プログラム
1か月前
株式会社フジタ
バイオマスの乾燥システム及びバイオマスの乾燥方法
1か月前
株式会社フジタ
コンクリート養生装置およびコンクリートの養生方法
26日前
株式会社フジタ
構造物の補強構造、構造物の補強方法、及び、補強部材の挿入装置
1か月前
株式会社フジタ
連絡情報提供装置、連絡情報提供方法、及び連絡情報提供プログラム
1か月前
株式会社フジタ
フレッシュコンクリートの品質評価装置およびフレッシュコンクリートの品質評価方法
1か月前
株式会社フジタ
建物の内部を3次元計測するために計測位置を演算処理するための前処理方法、プログラム、及び前処理装置
1か月前
株式会社フジタ
建物の内部を3Dスキャナを用いて3次元計測するための計測位置を決定するための探索方法、及びプログラム
1か月前
個人
虫捕り器
1か月前
個人
蠅捕獲器
13日前
個人
草刈り鋏
17日前
個人
刈込鋏保持具
1か月前
個人
蜜蜂保護装置
4日前
個人
種子の製造方法
10日前
続きを見る
他の特許を見る