TOP
|
特許
|
意匠
|
商標
特許ウォッチ
Twitter
他の特許を見る
10個以上の画像は省略されています。
公開番号
2025131192
公報種別
公開特許公報(A)
公開日
2025-09-09
出願番号
2024028778
出願日
2024-02-28
発明の名称
状態評価システム
出願人
株式会社フジタ
,
株式会社シスミック
代理人
弁理士法人高橋・林アンドパートナーズ
主分類
G01N
29/04 20060101AFI20250902BHJP(測定;試験)
要約
【課題】大面積を有する検査対象物に対して安定した打撃動作を行い、検査対象物の状態を評価することができる状態評価システムを提供すること。
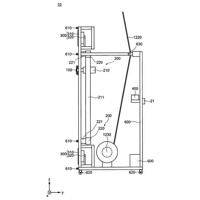
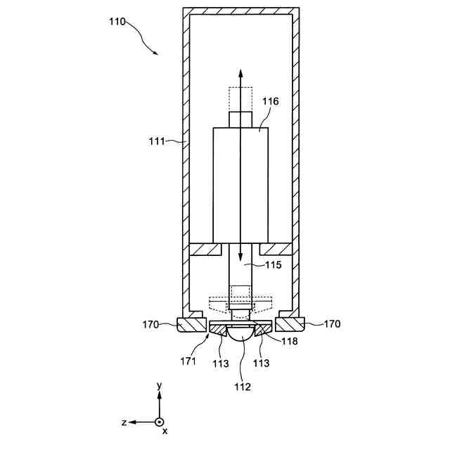
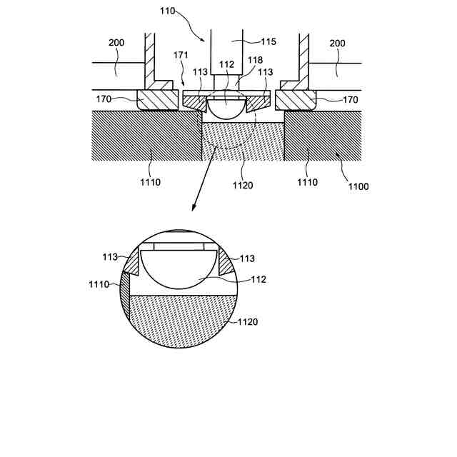
【解決手段】状態評価システムは、状態評価装置および情報処理装置を含み、状態評価装置は、検査対象物の表面に対して状態評価装置を固定する固定装置と、検査対象物の表面を打撃した打音を検出する打撃装置と、検査対象物表面と略平行に打撃装置を移動する駆動装置と、移動する打撃装置を含む画像を生成する撮像装置と、打音に基づいて評価値を生成する制御装置と、を含み、情報処理装置は、画像の中の評価対象領域を画定する評価対象領域生成部と、画像の中の評価対象領域における打撃装置の位置に対応する打撃位置情報を生成する打撃位置情報生成部と、評価値と打撃位置情報とが対応付けられた評価データを生成する評価データ生成部と、を含む。
【選択図】図1
特許請求の範囲
【請求項1】
検査対象物の表面を評価する状態評価装置と、
前記状態評価装置と通信可能に接続される情報処理装置と、を含み、
前記状態評価装置は、
前記検査対象物の前記表面に対して前記状態評価装置を固定する固定装置と、
前記検査対象物の前記表面を打撃した打音を検出する打撃装置と、
前記検査対象物の前記表面と略平行に前記打撃装置を移動する駆動装置と、
移動する前記打撃装置を含む画像を生成する撮像装置と、
検出された前記打音に基づいて評価値を生成する制御装置と、を含み、
前記情報処理装置は、
前記画像の中の評価対象領域を画定する評価対象領域生成部と、
前記画像の中の前記打撃装置を特定し、前記評価対象領域における前記打撃装置の位置に対応する打撃位置情報を生成する打撃位置情報生成部と、
前記評価値と前記打撃位置情報とが対応付けられた評価データを生成する評価データ生成部と、を含む、状態評価システム。
続きを表示(約 1,400 文字)
【請求項2】
検査対象物の表面を評価する状態評価装置と、
前記状態評価装置と通信可能に接続される情報処理装置と、を含み、
前記状態評価装置は、
前記検査対象物の前記表面に対して前記状態評価装置を固定する固定装置と、
前記検査対象物の前記表面を打撃した打音を検出する打撃装置と、
前記検査対象物の前記表面と略平行に前記打撃装置を移動する駆動装置と、
検出された前記打音に基づいて評価値を生成する制御装置と、を含み、
前記情報処理装置は、
固定された前記状態評価装置において、前記打撃装置が移動可能な領域を評価対象領域として画定する評価対象領域生成部と、
前記駆動装置の位置情報から前記打撃装置の位置を算出し、前記評価対象領域における前記打撃装置の位置に対応する打撃位置情報を生成する打撃位置情報生成部と、
前記評価値と前記打撃位置情報とが対応付けられた評価データを生成する評価データ生成部と、を含む、状態評価システム。
【請求項3】
さらに、前記情報処理装置と通信可能に接続され、前記状態評価装置の位置を測量する測量装置を含み、
前記評価対象領域生成部は、測量された前記状態評価装置の前記位置に基づき、前記検査対象物に対する前記状態評価装置の位置に対応する状態評価装置位置情報を生成し、前記評価対象領域と前記状態評価装置位置情報とを対応付ける、請求項1に記載の状態評価システム。
【請求項4】
前記測量装置は、前記状態評価装置に設置された反射体からの反射光に基づき、前記状態評価装置の前記位置を測量する、請求項3に記載の状態評価システム。
【請求項5】
前記情報処理装置は、さらに、前記状態評価装置位置情報に基づき、複数の前記評価対象領域を結合して前記検査対象物の全体評価マップを生成する全体評価マップ生成部を含む、請求項3に記載の状態評価システム。
【請求項6】
さらに、前記状態評価装置の上に設置され、前記検査対象物に配置されたマーカの位置を測量する測量装置を含み、
前記評価対象領域生成部は、測量された前記マーカの前記位置に基づき、前記検査対象物に対する前記状態評価装置の位置に対応する状態評価装置位置情報を生成し、前記評価対象領域と前記状態評価装置位置情報とを対応付ける、請求項1または請求項2に記載の状態評価システム。
【請求項7】
前記情報処理装置は、さらに、前記状態評価装置位置情報に基づき、複数の前記評価対象領域を結合して前記検査対象物の全体評価マップを生成する全体評価マップ生成部を含む、請求項6に記載の状態評価システム。
【請求項8】
前記打撃位置情報生成部は、前記打撃装置に設置されたマーカを検出することにより前記打撃装置の位置を特定する、請求項1または請求項2に記載の状態評価システム。
【請求項9】
前記打撃位置情報生成部は、前記打撃装置の特徴点を検出することにより前記打撃装置の位置を特定する、請求項1または請求項2に記載の状態評価システム。
【請求項10】
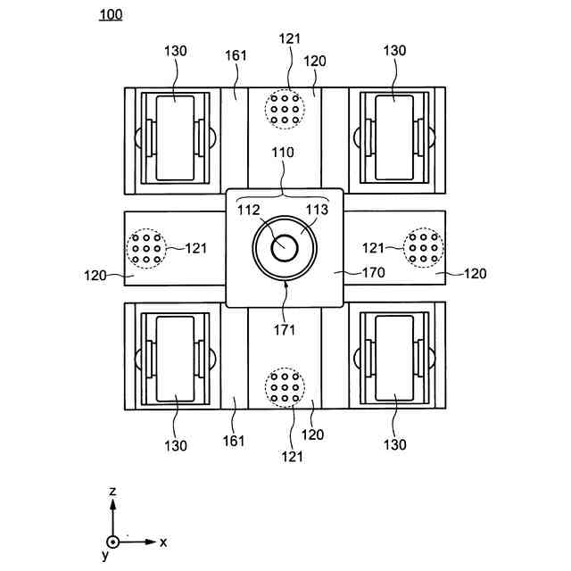
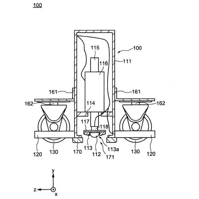
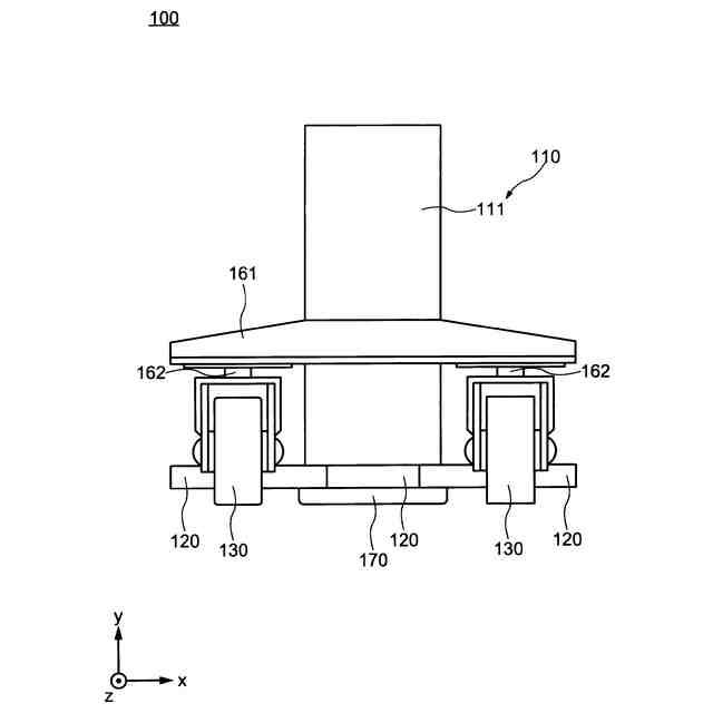
前記固定装置は、前記検査対象物の前記表面に吸着する吸着部を含む、請求項1または請求項2に記載の状態評価システム。
(【請求項11】以降は省略されています)
発明の詳細な説明
【技術分野】
【0001】
本発明の一実施形態は、検査対象物の状態を評価する状態評価システムに関する。
続きを表示(約 1,700 文字)
【背景技術】
【0002】
建物の外装材(外壁材)の剥離または剥落を未然に防止するため、建物の状態を診断するさまざまな方法が提案されている。例えば、建物躯体に接着された外装材の表面をハンマーで打撃した際に発生する打音をマイクで検出し、マイクからの検出信号に基づいて外装材の状態を評価する方法が知られている(特許文献1~特許文献3参照)。
【先行技術文献】
【特許文献】
【0003】
特開2017-203711号公報
特開2021-021667号公報
特開2021-021668号公報
【発明の概要】
【発明が解決しようとする課題】
【0004】
本発明の一実施形態は、大面積を有する検査対象物の表面に対して安定した打撃動作を行い、検査対象物の状態を評価することができる状態評価システムを提供することを目的の一つとする。
【課題を解決するための手段】
【0005】
本発明の一実施形態に係る状態評価システムは、検査対象物の表面を評価する状態評価装置と、状態評価装置と通信可能に接続される情報処理装置と、を含み、状態評価装置は、検査対象物の表面に対して状態評価装置を固定する固定装置と、検査対象物の表面を打撃した打音を検出する打撃装置と、検査対象物の表面と略平行に打撃装置を移動する駆動装置と、移動する打撃装置を含む画像を生成する撮像装置と、検出された打音に基づいて評価値を生成する制御装置と、を含み、情報処理装置は、画像の中の評価対象領域を画定する評価対象領域生成部と、画像の中の打撃装置を特定し、評価対象領域における打撃装置の位置に対応する打撃位置情報を生成する打撃位置情報生成部と、評価値と打撃位置情報とが対応付けられた評価データを生成する評価データ生成部と、を含む。
【0006】
本発明の一実施形態に係る状態評価システムは、検査対象物の表面を評価する状態評価装置と、状態評価装置と通信可能に接続される情報処理装置と、を含み、状態評価装置は、検査対象物の表面に対して状態評価装置を固定する固定装置と、検査対象物の前記表面を打撃した打音を検出する打撃装置と、検査対象物の表面と略平行に打撃装置を移動する駆動装置と、検出された打音に基づいて評価値を生成する制御装置と、を含み、情報処理装置は、固定された状態評価装置において、打撃装置が移動可能な領域を評価対象領域として画定する評価対象領域生成部と、駆動装置の位置情報から打撃装置の位置を算出し、評価対象領域における打撃装置の位置に対応する打撃位置情報を生成する打撃位置情報生成部と、評価値と打撃位置情報とが対応付けられた評価データを生成する評価データ生成部と、を含む。
【0007】
状態評価システムは、さらに、情報処理装置と通信可能に接続され、状態評価装置の位置を測量する測量装置を含み、評価対象領域生成部は、測量された状態評価装置の位置に基づき、検査対象物に対する状態評価装置の位置に対応する状態評価装置位置情報を生成し、評価対象領域と状態評価装置位置情報とを対応付けてもよい。測量装置は、状態評価装置に設置された反射体からの反射光に基づき、状態評価装置の位置を測量してもよい。
【0008】
状態評価システムは、さらに、状態評価装置の上に設置され、検査対象物に配置されたマーカの位置を測量する測量装置を含み、評価対象領域生成部は、測量されたマーカの位置に基づき、検査対象物に対する状態評価装置の位置に対応する状態評価装置位置情報を生成し、評価対象領域と状態評価装置位置情報とを対応付けてもよい。
【0009】
情報処理装置は、さらに、状態評価装置位置情報に基づき、複数の評価対象領域を結合して検査対象物の全体評価マップを生成する全体評価マップ生成部を含んでもよい。
【0010】
打撃位置情報生成部は、打撃装置に設置されたマーカを検出することにより打撃装置の位置を特定してもよい。
(【0011】以降は省略されています)
この特許をJ-PlatPat(特許庁公式サイト)で参照する
関連特許
株式会社フジタ
保護具
今日
株式会社フジタ
掘削機
28日前
株式会社フジタ
合成床
7日前
株式会社フジタ
合成床
19日前
株式会社フジタ
緑化装置
5日前
株式会社フジタ
制振装置
19日前
株式会社フジタ
制振装置
19日前
株式会社フジタ
水処理装置
9日前
株式会社フジタ
ビス打ち装置
6日前
株式会社フジタ
柱梁接合構造
2か月前
株式会社フジタ
昇降システム
1か月前
株式会社フジタ
昇降システム
1か月前
株式会社フジタ
木質建築部材
9日前
株式会社フジタ
昇降システム
29日前
株式会社フジタ
センサユニット
6日前
株式会社フジタ
情報取得システム
9日前
株式会社フジタ
情報提供システム
2か月前
株式会社フジタ
状態評価システム
29日前
株式会社フジタ
エネルギーシステム
19日前
株式会社フジタ
コンクリート構造物
20日前
株式会社フジタ
バイオガス改質装置
5日前
株式会社フジタ
駐車場緑化システム
5日前
株式会社フジタ
地質性状予測システム
今日
株式会社フジタ
木質梁と床の取合構造
20日前
株式会社フジタ
建築物とその施工方法
19日前
株式会社フジタ
環境音快音化システム
1か月前
株式会社フジタ
建築物とその施工方法
2か月前
株式会社フジタ
エネルギー制御システム
19日前
株式会社フジタ
コンクリートの作製方法
3か月前
株式会社フジタ
バイオガス改質システム
5日前
株式会社フジタ
柱梁接合構造とその施工方法
2か月前
株式会社フジタ
床衝撃音レベル予測システム
9日前
株式会社フジタ
柱梁接合構造とその施工方法
2か月前
株式会社フジタ
二酸化炭素分離回収供給装置
28日前
株式会社フジタ
二酸化炭素分離回収供給装置
28日前
株式会社フジタ
荷物昇降装置用の荷物載置機構
5日前
続きを見る
他の特許を見る