TOP
|
特許
|
意匠
|
商標
特許ウォッチ
Twitter
他の特許を見る
10個以上の画像は省略されています。
公開番号
2025136865
公報種別
公開特許公報(A)
公開日
2025-09-19
出願番号
2024035775
出願日
2024-03-08
発明の名称
合成床
出願人
株式会社フジタ
代理人
個人
,
個人
主分類
E04B
5/43 20060101AFI20250911BHJP(建築物)
要約
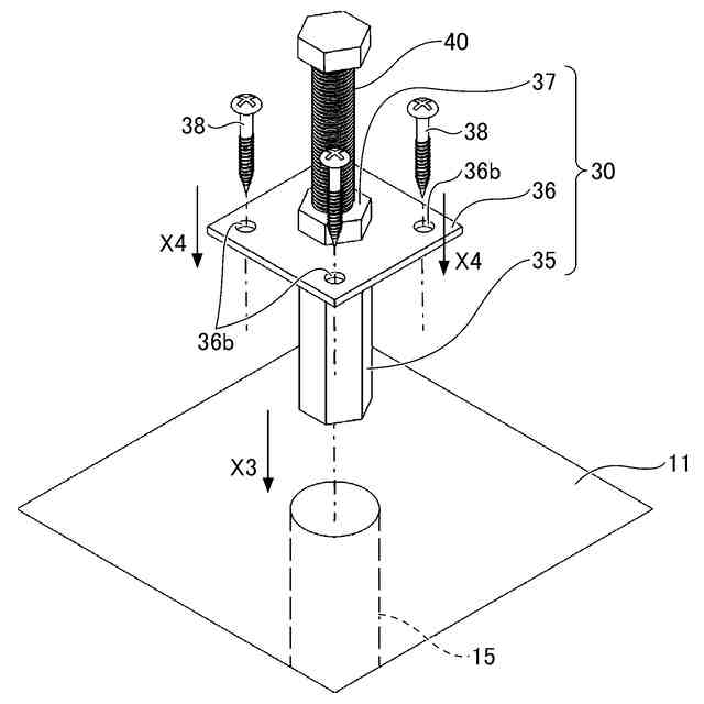
【課題】木質面材とコンクリート床版とを有する合成床に関し、木質面材とコンクリート床版の一体化を図る措置と、他部材を吊り下げる措置が合理的に設けられている、合成床を提供すること。
【解決手段】木質面材10と、木質面材10の一対の広幅面11,12のうち、上方の広幅面11に配設されるコンクリート床版20とを有する、合成床60であり、木質面材10には、一対の広幅面11,12の間を貫通する貫通孔15が設けられ、貫通孔15には雌ネジ32を備えたナット30が配設されており、ナット30の雌ネジ32の上方に接合用軸部材40の一端が螺合し、接合用軸部材40の一部が上方の広幅面11の上方に突設してコンクリート床版20に埋設され、ナット30の雌ネジ32の下方に対して、木質面材10の下方の広幅面12から下方に突設する吊り下げ用軸部材50の一端が螺合自在である。
【選択図】図1
特許請求の範囲
【請求項1】
木質面材と、該木質面材の一対の広幅面のうち、上方の広幅面に配設されるコンクリート床版とを有する、合成床であって、
前記木質面材には、前記一対の広幅面の間を貫通する貫通孔が設けられ、該貫通孔には雌ネジを備えたナットが配設されており、
前記ナットの雌ネジの上方に接合用軸部材の一端が螺合し、該接合用軸部材の一部が前記上方の広幅面の上方に突設して、前記コンクリート床版に埋設され、
前記ナットの雌ネジの下方に対して、前記木質面材の下方の広幅面から下方に突設する吊り下げ用軸部材の一端が螺合自在であることを特徴とする、合成床。
続きを表示(約 630 文字)
【請求項2】
前記ナットの外周面に雄ネジが設けられ、前記貫通孔の壁面に該雄ネジが埋め込まれていることを特徴とする、請求項1に記載の合成床。
【請求項3】
前記ナットの外周面と前記貫通孔の壁面が、接着剤を介して接着されていることを特徴とする、請求項1に記載の合成床。
【請求項4】
前記ナットが、高ナットと、該高ナットの一端が接合される板材とを有する、板ナットユニットにより形成され、該板材は、前記接合用軸部材が挿通する軸部材孔と、留め具孔を備えており、
前記高ナットが前記貫通孔に挿通され、前記板材が前記上方の広幅面に当接され、前記留め具孔を挿通する留め具が該板材を該上方の広幅面に固定していることを特徴とする、請求項1に記載の合成床。
【請求項5】
前記貫通孔に配設される前記ナットが、該貫通孔の上方に位置していることを特徴とする、請求項1に記載の合成床。
【請求項6】
前記木質面材の前記上方の広幅面に凹部が設けられ、該上方の広幅面における該凹部とは異なる凸部に前記貫通孔が設けられており、
前記凹部に前記コンクリート床版の一部が入り込んでいることを特徴とする、請求項1乃至5のいずれか一項に記載の合成床。
【請求項7】
前記吊り下げ用軸部材は、天井材、天井機器のいずれか一種を吊り下げる部材であることを特徴とする、請求項1乃至5のいずれか一項に記載の合成床。
発明の詳細な説明
【技術分野】
【0001】
本発明は、合成床に関する。
続きを表示(約 1,600 文字)
【背景技術】
【0002】
昨今の環境影響への負荷低減に対する高まりや、環境配慮への盛んな取り組みの中で、建築分野においては木質材を有効に活用した技術開発が盛んに行われており、木造の建物や木と鋼やコンクリート(鉄筋コンクリート:RC(Reinforced concrete))のハイブリット建物等においては、梁や柱、壁、床といった様々な構成部材が木質材により形成されている。木質材は、鉄骨やコンクリート等に比べて軽量であり、比強度が高く、加工性に優れており、その他、断熱性が高く、調湿作用があり、さらには、自然素材の醸し出す外観意匠性を有しており、自然素材故に二酸化炭素排出量が少なく、環境影響負荷への低減効果が高いといった様々な効果を奏する材料である。
【0003】
ここで、集合住宅等の建築物の床に目を向けると、床を木質面材等の木材のみで施工する場合に、耐火性や遮音性といった木材にとって課題となる性能を向上もしくは改善させるべく、木質面材とコンクリート床版が積層された合成床が施工される場合がある。この木質面材は、例えばCLTパネル(CLT:Cross Laminated Timber、直交集成板)等の集成材や無垢材等により形成される。
【0004】
ここで、特許文献1には床構造が提案されている。この床構造は、構造物の構造体として設けられるRCスラブと、RCスラブの下面に沿って設けられるCLTパネルとを有し、CLTパネルとRCスラブとの間にシアキーが設けられている。
【先行技術文献】
【特許文献】
【0005】
特開2022-167555号公報
【発明の概要】
【発明が解決しようとする課題】
【0006】
特許文献1に記載される床構造によれば、シアキーによりCLTパネルとRCスラブを一体化できるとしている。
【0007】
ところで、上記する合成床においても一般のコンクリート床版等と同様に、天井材や天井照明等の天井機器といった他部材を合成床から吊り下げたいとの要請があるが、木質面材とコンクリート床版の一体化を図る措置と、他部材を吊り下げる措置を別途設けることにより、合成床の構造が複雑となり、製作も容易でなくなる。したがって、木質面材とコンクリート床版の一体化を図る措置と、他部材を吊り下げる措置が合理的に設けられている合成床が望まれる。
【0008】
この点に関し、特許文献1には、シアキーによりCLTパネルとRCスラブを一体化する内容は記載されているが、他部材を吊り下げる措置に関する記載はなく、木質面材とコンクリート床版の一体化を図る措置と、他部材を吊り下げる措置の合理化に関する記載は当然に存在しない。
【0009】
本発明は上記課題に鑑みてなされたものであり、木質面材とコンクリート床版とを有する合成床に関し、木質面材とコンクリート床版の一体化を図る措置と、他部材を吊り下げる措置が合理的に設けられている、合成床を提供することを目的としている。
【課題を解決するための手段】
【0010】
前記目的を達成すべく、本発明による合成床の一態様は、
木質面材と、該木質面材の一対の広幅面のうち、上方の広幅面に配設されるコンクリート床版とを有する、合成床であって、
前記木質面材には、前記一対の広幅面の間を貫通する貫通孔が設けられ、該貫通孔には雌ネジを備えたナットが配設されており、
前記ナットの雌ネジの上方に接合用軸部材の一端が螺合し、該接合用軸部材の一部が前記上方の広幅面の上方に突設して、前記コンクリート床版に埋設され、
前記ナットの雌ネジの下方に対して、前記木質面材の下方の広幅面から下方に突設する吊り下げ用軸部材の一端が螺合自在であることを特徴とする。
(【0011】以降は省略されています)
この特許をJ-PlatPat(特許庁公式サイト)で参照する
関連特許
株式会社フジタ
結露対策設定装置
5日前
株式会社フジタ
飛沫感染、飛沫核感染防止のための衝立
5日前
個人
接合構造
8日前
個人
屋台
25日前
個人
タッチミー
7日前
個人
野良猫ハウス
1か月前
個人
転落防止用手摺
1か月前
個人
フェンス
1か月前
個人
ベンリナアングル
7日前
個人
居住車両用駐車場
1か月前
個人
筋交自動設定装置
15日前
積水樹脂株式会社
柵体
1か月前
ニチハ株式会社
建築板
1か月前
個人
熱抵抗多層断熱建材
1か月前
個人
補強部材
1か月前
個人
柵
2か月前
個人
身体用シェルター
15日前
個人
身体用シェルター
15日前
鹿島建設株式会社
壁体
1か月前
成友建設株式会社
建物
1か月前
株式会社熊谷組
床構成材
5日前
三協立山株式会社
構造体
15日前
三協立山株式会社
構造体
15日前
三協立山株式会社
構造体
15日前
三協立山株式会社
構造体
15日前
三協立山株式会社
構造体
15日前
個人
可搬型供養墓
13日前
株式会社熊谷組
吊り治具
12日前
株式会社熊谷組
木質材料
25日前
三協立山株式会社
構造体
15日前
インターマン株式会社
天井構造
2か月前
イワブチ株式会社
組立柱
1か月前
株式会社エフコンサルタント
面材
15日前
鹿島建設株式会社
制震架構
今日
日鉄建材株式会社
屋根構造
1か月前
アイジー工業株式会社
スターター
15日前
続きを見る
他の特許を見る