TOP
|
特許
|
意匠
|
商標
特許ウォッチ
Twitter
他の特許を見る
10個以上の画像は省略されています。
公開番号
2025150744
公報種別
公開特許公報(A)
公開日
2025-10-09
出願番号
2024051794
出願日
2024-03-27
発明の名称
飛沫感染、飛沫核感染防止のための衝立
出願人
株式会社フジタ
,
国立研究開発法人理化学研究所
代理人
弁理士法人高橋・林アンドパートナーズ
主分類
A61L
9/18 20060101AFI20251002BHJP(医学または獣医学;衛生学)
要約
【課題】消費電力が低く、かつ、呼気に由来する飛沫、飛沫核を効果的に捕捉し、飛沫、飛沫核に含まれる感染症の原因となる物質を不活化可能な衝立を提供すること。
【解決手段】衝立は、少なくとも一つのシャッタ、支持機構、および光照射装置を備える。少なくとも一つのシャッタは、水平にストライプ状に配置された複数のスラットを有する。支持機構は、少なくとも一つのシャッタを支持するように構成される。光照射装置は、少なくとも一つのシャッタの一方の側に配置され、下方に光を照射するように構成される。複数のスラットのうちシャッタの下側に位置する一つ以上のスラットは、複数のスラットのうちシャッタの上側に位置する一つ以上のスラットと比較し、シャッタの法線方向において一方の側により近く配置される。
【選択図】図2
特許請求の範囲
【請求項1】
水平にストライプ状に配置された複数のスラットを有する少なくとも一つのシャッタ、
前記少なくとも一つのシャッタを支持する支持機構、および
前記少なくとも一つのシャッタの一方の側に配置され、下方に光を照射するように構成される光照射装置を備え、
前記複数のスラットのうち前記シャッタの下側に位置する一つ以上の前記スラットは、前記複数のスラットのうち前記シャッタの上側に位置する一つ以上の前記スラットと比較し、前記シャッタの法線方向において前記一方の側により近く配置される、飛沫感染または飛沫核感染防止のための衝立。
続きを表示(約 1,000 文字)
【請求項2】
前記複数のスラットの各々は、幅方向において屈曲または湾曲し、
前記複数のスラットの各々は、屈曲部または湾曲部を介して互いに連結され、法線方向が異なる主部と副部を有し、
前記主部の幅は、前記副部の幅より大きい、請求項1に記載の衝立。
【請求項3】
前記複数のスラットの各々は、前記主部が前記副部より上に位置し、かつ、前記主部が前記屈曲部または前記湾曲部よりも前記一方の側に位置するように構成される、請求項2に記載の衝立。
【請求項4】
前記複数のスラットの少なくとも一部は、表面に光触媒を含む層を有する、請求項1に記載の衝立。
【請求項5】
前記支持機構は、フレームを有し、
前記少なくとも一つのシャッタは、前記シャッタの前記法線方向において前記フレームの開口の上部と重なり、前記開口の下部を露出する、請求項1に記載の衝立。
【請求項6】
前記シャッタの前記法線方向において前記開口の前記下部と重なり、前記シャッタの前記法線方向に法線を有する第1の整流板を前記一方の側にさらに備える、請求項5に記載の衝立。
【請求項7】
前記一方の側に対して反対側に第2の整流板をさらに備え、
前記第2の整流板は、前記シャッタの前記下側に位置する一つ以上の前記スラットよりも低い位置に配置され、かつ、上面の法線が鉛直方向から前記一方の側に対して反対側に傾くように配置される、請求項1に記載の衝立。
【請求項8】
前記複数のスラットの上に、前記複数のスラットの延伸方向に平行な方向に延伸する整流補助部材をさらに備え、
前記シャッタの前記一方の側に対して反対側において、前記整流補助部材の表面が湾曲する、請求項1に記載の衝立。
【請求項9】
前記少なくとも一つのシャッタは、互いに対向する一対のシャッタを含み、
前記光照射装置は、前記光を前記一対のシャッタの間の空間に照射するように構成される、請求項1に記載の衝立。
【請求項10】
前記少なくとも一つのシャッタは、互いに対向する一対のシャッタを含み、
前記第1の整流板は、前記一対のシャッタの間に配置される、請求項6に記載の衝立。
(【請求項11】以降は省略されています)
発明の詳細な説明
【技術分野】
【0001】
本発明の実施形態の一つは、飛沫感染、飛沫核感染防止のための衝立(パーティション)に関する。例えば、本発明の実施形態の一つは、呼気中に含まれる飛沫感染、飛沫核感染の原因となる細菌やウイルスなどを効果的に消滅または低減させることが可能な衝立に関する。
続きを表示(約 2,400 文字)
【背景技術】
【0002】
呼吸器から発する病原体を含む粒子が気流によって移動、拡散して起こるのが飛沫感染、飛沫核感染である。室内で飛沫感染、飛沫核感染を防止するための衝立として、電動式のファンと紫外光を照射可能な光源が設けられた衝立が知られている。これらの衝立では、ファンを用いて室内の空気を衝立内に能動的に取り込み、吸引した空気に対して紫外光を照射することで空気が殺菌、浄化される(特許文献1、2参照)。
【先行技術文献】
【特許文献】
【0003】
特許第5916070号公報
実用新案登録第3118531号公報
【発明の概要】
【発明が解決しようとする課題】
【0004】
本発明の実施形態の一つは、飛沫感染と飛沫核感染を効果的に防止可能な衝立を提供することを課題の一つとする。例えば、本発明の実施形態の一つは、消費電力が低く、かつ、呼気に由来する飛沫、飛沫核を効果的に捕捉し、飛沫、飛沫核に含まれる感染症の原因となる物質を不活化可能な衝立を提供することを課題の一つとする。
【課題を解決するための手段】
【0005】
本発明の実施形態の一つは、飛沫感染または飛沫核感染防止のための衝立である。この衝立は、少なくとも一つのシャッタ、支持機構、および光照射装置を備える。少なくとも一つのシャッタは、水平にストライプ状に配置された複数のスラットを有する。支持機構は、少なくとも一つのシャッタを支持するように構成される。光照射装置は、少なくとも一つのシャッタの一方の側に配置され、下方に光を照射するように構成される。複数のスラットのうちシャッタの下側に位置する一つ以上のスラットは、複数のスラットのうちシャッタの上側に位置する一つ以上のスラットと比較し、シャッタの法線方向において上記一方の側により近く配置される。
【図面の簡単な説明】
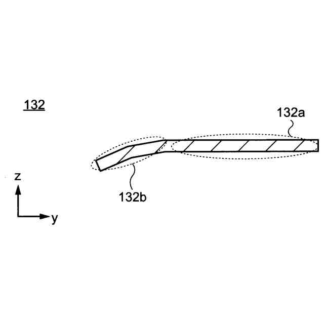
【0006】
本発明の実施形態の一つに係る衝立の模式的正面図。
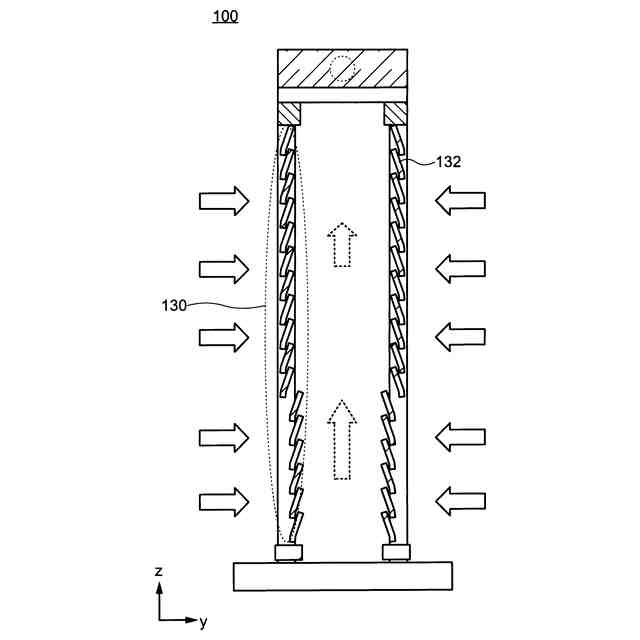
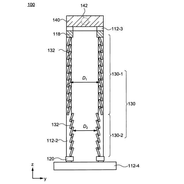
本発明の実施形態の一つに係る衝立の模式的側面図。
本発明の実施形態の一つに係る衝立のスラットの模式的側面図。
本発明の実施形態の一つに係る衝立のスラットの模式的側面図。
本発明の実施形態の一つに係る衝立のスラットの模式的側面図。
本発明の実施形態の一つに係る衝立の機能を示す模式的側面図。
本発明の実施形態の一つに係る衝立の機能を示す模式的側面図。
本発明の実施形態の一つに係る衝立のスラットの模式的斜視図。
本発明の実施形態の一つに係る衝立のスラットの模式的側面図。
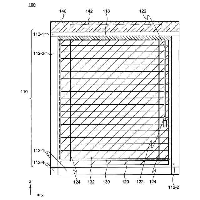
本発明の実施形態の一つに係る衝立の模式的正面図。
本発明の実施形態の一つに係る衝立の一部の模式的斜視図。
本発明の実施形態の一つに係る衝立の模式的側面図。
本発明の実施形態の一つに係る衝立の模式的正面図。
本発明の実施形態の一つに係る衝立の模式的側面図。
本発明の実施形態の一つに係る衝立の第1の整流板の模式的斜視図。
本発明の実施形態の一つに係る衝立の模式的正面図。
本発明の実施形態の一つに係る衝立の模式的側面図。
本発明の実施形態の一つに係る衝立の第2の整流板の模式的斜視図。
本発明の実施形態の一つに係る衝立の模式的正面図。
本発明の実施形態の一つに係る衝立の一部の模式的側面図。
本発明の実施形態の一つに係る衝立の模式的側面図。
本発明の実施形態の一つに係る衝立の一部の模式的正面図。
本発明の実施形態の一つに係る衝立の模式的側面図。
本発明の実施形態の一つに係る衝立の模式的上面図。
【発明を実施するための形態】
【0007】
以下、本発明の各実施形態について、図面などを参照しつつ説明する。ただし、本発明は、その要旨を逸脱しない範囲において様々な態様で実施することができ、以下に例示する実施形態の記載内容に限定して解釈されるものではない。
【0008】
図面は、説明をより明確にするため、実際の態様に比べ、各部の幅、厚さ、形状などについて模式的に表される場合があるが、あくまで一例であって、本発明の解釈を限定するものではない。
【0009】
1.衝立の構造
以下、本発明の実施形態の一つに係る、飛沫感染、飛沫核感染防止のための衝立について説明する。衝立は、人の呼気に含まれ、飛沫感染、飛沫核感染の原因となる物質である細菌やウイルス、真菌などを含む粒子を捕捉し、これらを消滅または低減する間仕切り板として機能する。衝立は、床面の上、机などの移動可能な家具の上、腰高窓のテーブル板、あるいはカウンターなどの室内に固定された備品上など、様々な場所に設置することができる。
【0010】
衝立100の模式的正面図と側面図をそれぞれ図1と図2に示す。これらの図に示すように、衝立100は、基本的な構成として、図1において破線で囲まれた少なくとも一つのシャッタ130、シャッタ130を支持する支持機構110、および光照射装置140を備える。図2には、互いに対向し、対称に配置される一対のシャッタ130を備える衝立100が示されている。図示しないが、衝立100は、移動のためのキャスタを備えてもよい。以下、衝立100が設置された際の鉛直方向をz方向、x方向とy方向が水平方向として説明を行う。x方向とy方向は、それぞれ水平面における衝立100の長手方向とそれに垂直な方向であり、y方向は、シャッタ130の法線方向でもある。
(【0011】以降は省略されています)
この特許をJ-PlatPat(特許庁公式サイト)で参照する
関連特許
株式会社フジタ
合成床
今日
株式会社フジタ
水電解装置
29日前
株式会社フジタ
清掃ロボット
今日
株式会社フジタ
清掃ロボット
1か月前
株式会社フジタ
結露対策設定装置
1か月前
株式会社フジタ
BIMモデル生成システム
2日前
株式会社フジタ
コンクリート吹付け作業支援システム
15日前
株式会社フジタ
シーリング材均し器具及びシーリング装置
28日前
株式会社フジタ
音響解析システム及び音響解析プログラム
28日前
公立大学法人公立諏訪東京理科大学
頭部装着装置、熱中症予防システム及び水分補給警告システム
7日前
個人
貼付剤
1か月前
個人
簡易担架
21日前
個人
腋臭防止剤
21日前
個人
短下肢装具
4か月前
個人
足踏み器具
28日前
個人
前腕誘導装置
4か月前
個人
排尿補助器具
1か月前
個人
洗井間専家。
8か月前
個人
嚥下鍛錬装置
5か月前
個人
矯正椅子
6か月前
個人
胸骨圧迫補助具
3か月前
個人
ホバーアイロン
8か月前
個人
バッグ式オムツ
5か月前
個人
汚れ防止シート
2か月前
個人
水分吸収性物品
今日
個人
ウォート指圧法
1か月前
個人
歯の修復用材料
5か月前
個人
アイマスク装置
3か月前
個人
テスト肺
2日前
個人
腰ベルト
1か月前
個人
シャンプー
7か月前
個人
哺乳瓶冷まし容器
4か月前
個人
排尿排便補助器具
23日前
個人
介護移乗アシスト
今日
個人
陣痛緩和具
5か月前
三生医薬株式会社
錠剤
8か月前
続きを見る
他の特許を見る