TOP
|
特許
|
意匠
|
商標
特許ウォッチ
Twitter
他の特許を見る
公開番号
2025168463
公報種別
公開特許公報(A)
公開日
2025-11-07
出願番号
2025145521,2021160392
出願日
2025-09-02,2021-09-30
発明の名称
音響解析システム及び音響解析プログラム
出願人
株式会社フジタ
代理人
個人
,
個人
,
個人
主分類
G06F
30/20 20200101AFI20251030BHJP(計算;計数)
要約
【課題】各種の建造物に対応した音響解析技術を提供する。
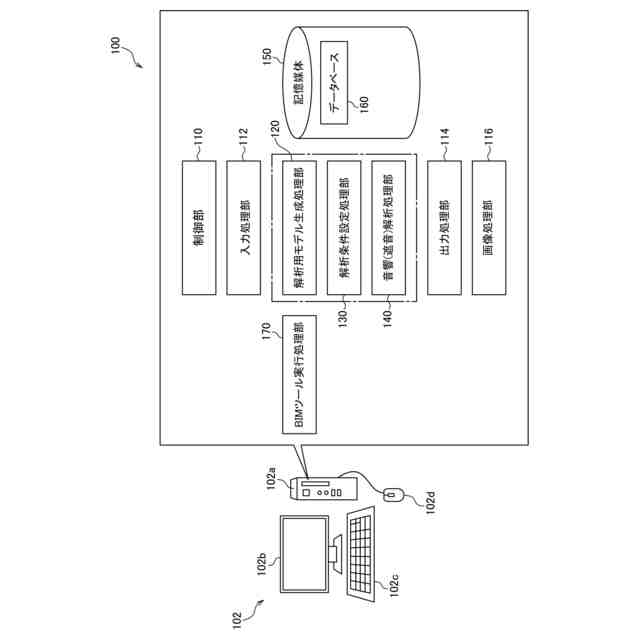
【解決手段】音響解析システム100は、解析対象となる建造物の構造及び仕様を3次元データで表したBIMモデルを用いて、建造物内に複数の室空間を定義した解析用モデルを生成する解析用モデル生成処理部120と、定義した複数の室空間のうち、音源室から受音室にまで音が伝搬する伝搬経路上に存在するパラメータを解析用モデルから抽出し、音源室を音源とした受音室の音圧レベルを算出する音響解析処理部140と、算出結果を出力する出力処理部114とを備える。
【選択図】図1
特許請求の範囲
【請求項1】
解析対象となる建造物の構造及び仕様を3次元データで表したBIMモデルを用いて、建造物内に居室及び居室以外の複数の室空間を定義した解析用モデルを生成する生成手段と、
前記複数の室空間のうち所定の音源室から受音室にまで音が伝搬する間に、音が通過する通過要素の数を任意の数に設定可能な設定手段と、
前記解析用モデル上で前記音源室から前記受音室に至る音の伝搬経路を、前記設定手段で設定された通過要素の数に応じて探索する探索手段と、
前記探索手段で前記通過要素の数に応じて探索した音の伝搬経路上に存在するパラメータを前記解析用モデルから抽出し、前記パラメータを用いて少なくとも前記音源室を音源とした前記受音室の音圧レベルを算出する算出手段と、
前記算出手段の算出結果を出力する出力手段と
を備えた音響解析システム。
続きを表示(約 550 文字)
【請求項2】
請求項1に記載の音響解析システムにおいて、
前記探索手段は、
前記設定手段で設定された通過要素の数に応じて、前記音源室から前記受音室に至る音の伝搬経路を前記解析用モデル上で複数通りに探索可能であることを特徴とする音響解析システム。
【請求項3】
コンピュータに、
解析対象となる建造物の構造及び仕様を3次元データで表したBIMモデルを用いて、建造物内に居室及び居室以外の複数の室空間を定義した解析用モデルを生成する生成ステップと、
前記複数の室空間のうち所定の音源室から受音室にまで音が伝搬する間に、音が通過する通過要素の数を任意の数に設定する設定ステップと、
前記解析用モデル上で前記音源室から前記受音室に至る音の伝搬経路を、前記設定ステップで設定された通過要素の数に応じて探索する探索ステップと、
前記探索ステップで前記通過要素の数に応じて探索した音の伝搬経路上に存在するパラメータを前記解析用モデルから抽出し、前記パラメータを用いて少なくとも前記音源室を音源とした前記受音室の音圧レベルを算出する算出ステップと、
前記算出ステップでの算出結果を出力する出力ステップと
を実行させる音響解析プログラム。
発明の詳細な説明
【技術分野】
【0001】
本発明は、例えばBIMモデルを用いて建造物内の騒音レベル等を解析する音響解析システム及び音響解析プログラムに関する。
続きを表示(約 2,000 文字)
【背景技術】
【0002】
建造物内での騒音レベルは、その居住性において重要な要素を占めており、このため、工事の前段階から建造物内での騒音レベルを解析し、必要に応じて構造を再検討する等の騒音対策を施す必要がある。例えば、室内騒音の予測に関して、住宅内の界壁だけでなく、設計者が想定した音の伝搬経路(部屋、廊下、吹き抜け等)上の構造物による影響を間取り図上で検出し、出入り口等の開口部の面積やターゲットとの距離等から開口部を介した騒音レベルを計算する住宅設計システムの先行技術が知られている(例えば、特許文献1参照。)。
【先行技術文献】
【特許文献】
【0003】
特開2017-40128号公報
【発明の概要】
【発明が解決しようとする課題】
【0004】
先行技術のシステムは、標準的な構造を有する住宅の騒音予測にはある程度対応するものの、多種多様な構造を有する建造物に広く対応していない。すなわち近年、騒音レベルの解析対象は、建造物(例えば、ホテル、集合住宅、病院、工場、スタジオ等)の目的や種類によって構造が多様化している上、建造物に設けられた対象室(例えば、講堂、会議室、食堂、宴会場、機械室等)で発生する騒音の波長域や大きさは種々に異なるため、住宅内の生活騒音だけに対応したシステムでは限界がある。
【0005】
そこで本発明は、各種の建造物に対応した音響解析技術を提供するものである。
【課題を解決するための手段】
【0006】
本発明は、音響解析システム及び音響解析プログラムを提供する。本発明の音響解析システムは、解析対象となる建造物のBIMモデルを使用し、解析用モデルを生成する(生成手段)。解析用モデルは、建造物内に居室及び居室以外の複数の室空間を定義した3次元構造モデルとなる。また、音響解析システムは、解析用モデルに定義した複数の室空間のうち、所定の音源室から受音室にまで音が伝搬する伝搬経路上に存在する各種のパラメータを解析用モデルから抽出し、それらを用いて音源室を音源とした受音室の音圧レベルを算出する(算出手段)。そして、音響解析システムは、算出結果を出力する(出力手段)。音響解析プログラムは、以上の各機能を実行するステップをコンピュータに実行させるものである。
【0007】
BIMモデルは、建造物の構造及び仕様を3次元データで表したものであり、設計段階で作成されている。BIMモデルを使用することにより、ここから生成した解析用モデルにおいても、建造物の各部屋の面積や容積、サッシ間の距離等を簡便に利用することができる。また、解析用モデルの生成にBIMモデルを使用することで、建造物の界壁の構造や界床・天井の構造等も容易に利用することができる。これにより、実際の建造物内で音が伝搬する場合と同様の条件での音響解析が可能となり、算出結果の信頼性を高めることができる。
【0008】
また、解析用モデルにおいては、「室空間」を対象に音が伝搬する際の計算が行われる。このため、本発明の音響解析システムは、建造物内の居室だけでなく、居室以外の天井裏や空きスペース等の空間にも「室空間」を定義する。そして、定義された複数の「室空間」の中から「音源室」及び「受音室」に該当するものを任意に設定すると、「音源室」から「受音室」にまで音が伝搬する伝搬経路上に存在する各種パラメータ(例えば、仕上げ材、サッシ、床、天井等の各マテリアルの音響透過損失、吸音率等)を解析用モデルから抽出する。これにより、各種パラメータを用いて解析モデル中の任意の「音源室」で発生させた音が「受音室」に伝搬する際の音響解析が可能となり、「音源室」を音源とした「受音室」での音圧レベルが算出される。合わせて、途中の伝搬経路上に存在する「室空間」ごとの音圧レベルも算出されることで、建造物内の音源室から周囲の室空間へどのように音が伝搬していくかを解析することが可能となる。
【0009】
そして、算出結果の出力は、解析値をまとめたレポート形式としたり、解析値をプロットした図表形式としたりすることができる。このような算出結果を参照することで、解析対象となる建造物内での騒音対策(遮音性が十分な設計又は過剰な設計であるか、要求性能に達しているか否か等の検討)に資することができる。
【0010】
特に、建造物が大きな室空間を有する場合、「音源室」となる対象の室空間(例えば、講堂、会議室、食堂、宴会場、機械室等)から界壁・界床・天井を介した他の居室に対しての騒音の回り込みは、騒音対策が必要とされる課題となっているため、本発明による音響解析が騒音対策には極めて有用となる。
(【0011】以降は省略されています)
この特許をJ-PlatPat(特許庁公式サイト)で参照する
関連特許
株式会社フジタ
合成床
今日
株式会社フジタ
水電解装置
29日前
株式会社フジタ
清掃ロボット
今日
株式会社フジタ
清掃ロボット
1か月前
株式会社フジタ
結露対策設定装置
1か月前
株式会社フジタ
BIMモデル生成システム
2日前
株式会社フジタ
コンクリート吹付け作業支援システム
15日前
株式会社フジタ
シーリング材均し器具及びシーリング装置
28日前
株式会社フジタ
音響解析システム及び音響解析プログラム
28日前
公立大学法人公立諏訪東京理科大学
頭部装着装置、熱中症予防システム及び水分補給警告システム
7日前
個人
詐欺保険
1か月前
個人
縁伊達ポイン
1か月前
個人
5掛けポイント
28日前
個人
職業自動販売機
21日前
個人
RFタグシート
1か月前
個人
地球保全システム
2か月前
個人
QRコードの彩色
1か月前
個人
ペルソナ認証方式
1か月前
個人
情報処理装置
1か月前
個人
自動調理装置
1か月前
個人
立体グラフの利用方法
今日
個人
残土処理システム
1か月前
個人
農作物用途分配システム
1か月前
個人
知的財産出願支援システム
1か月前
個人
タッチパネル操作指代替具
1か月前
個人
サービス情報提供システム
23日前
NISSHA株式会社
入力装置
1日前
個人
インターネットの利用構造
1か月前
個人
学習用データ生成装置
2日前
個人
携帯端末障害問合せシステム
1か月前
個人
スケジュール調整プログラム
1か月前
個人
エリアガイドナビAIシステム
1か月前
株式会社キーエンス
受発注システム
2か月前
個人
食品レシピ生成システム
2か月前
株式会社キーエンス
受発注システム
2か月前
株式会社キーエンス
受発注システム
2か月前
続きを見る
他の特許を見る