TOP
|
特許
|
意匠
|
商標
特許ウォッチ
Twitter
他の特許を見る
公開番号
2025171567
公報種別
公開特許公報(A)
公開日
2025-11-20
出願番号
2024077053
出願日
2024-05-10
発明の名称
コンクリート吹付け作業支援システム
出願人
株式会社フジタ
代理人
個人
,
個人
,
個人
主分類
E04G
21/02 20060101AFI20251113BHJP(建築物)
要約
【課題】コンクリート吹付け機の可動部位の状況を把握可能とする技術の提供。
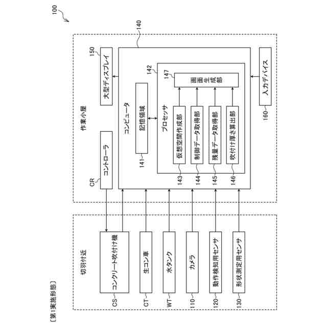
【解決手段】コンクリート吹付け作業支援システム100においては、動作検知用センサ120又は制御データ取得部144が吹付け機CSの動作に関する動作データを取得し、仮想空間作成部143が現場の様子を表した三次元モデル内の仮想空間に、現実空間での吹付け機CS及びその可動部材の様子を動作データに基づいてリアルタイムで再現する。また、吹付け厚さ算出部146がコンクリートの吹付け先を細分化した各領域に吹付けられたコンクリートの厚さを算出し、厚さに応じて仮想空間における各領域が着色される。大型ディスプレイ150には、吹付け先を捉えたカメラ110の映像や吹付け作業に関する様々な情報と共に、仮想空間の様子等が表示される。オペレータは、仮想空間の表示を通じて、吹付け機CSの可動部位の正確な状況や吹付け作業の進捗状況を把握することができる。
【選択図】図1
特許請求の範囲
【請求項1】
コンクリートの吹付け機が配置された建設現場に対応するコンクリート吹付け作業支援システムであって、
前記建設現場の様子を表した三次元モデルを作成し、前記吹付け機及びその可動部位の現実空間における位置と前記三次元モデル内の仮想空間における位置とを対応付け、現実空間における前記吹付け機及びその可動部位の動作に関する動作データに基づいて、現実空間での動作に同期して仮想空間における前記吹付け機及びその可動部位を動作させる仮想空間作成手段と、
前記建設現場におけるコンクリートの吹付け先及びその付近の様子を撮像する撮像手段と、
少なくとも、現実空間における前記吹付け先及びその付近の様子と、仮想空間における前記可動部位の様子と、コンクリートの吹付け作業の進捗に関する情報とを表示する表示手段と
を備えたコンクリート吹付け作業支援システム。
続きを表示(約 1,800 文字)
【請求項2】
請求項1に記載されたコンクリート吹付け作業支援システムにおいて、
現実空間における前記吹付け機及びその可動部位の動作の制御に用いられる制御データを取得する制御データ取得手段をさらに備え、
前記仮想空間作成手段は、
前記制御データに基づいて、仮想空間における前記吹付け機及びその可動部位を動作させることを特徴とするコンクリート吹付け作業支援システム。
【請求項3】
請求項1に記載されたコンクリート吹付け作業支援システムにおいて、
現実空間における前記吹付け機及びその可動部位の動作を捉えた測定データを出力する動作検知手段をさらに備え、
前記仮想空間作成手段は、
前記測定データに基づいて、仮想空間における前記吹付け機及びその可動部位を動作させることを特徴とするコンクリート吹付け作業支援システム。
【請求項4】
請求項1から3の何れかに記載されたコンクリート吹付け作業支援システムにおいて、
前記吹付け先に光を照射して得られる反射光に基づいて前記吹付け先の三次元形状を測定する形状測定手段と、
前記吹付け先へのコンクリートの吹付け作業の進行に伴う前記三次元形状の変化に基づいて、前記吹付け先を細分化した各領域に吹付けられたコンクリートの厚さを算出する吹付け厚さ算出手段と
をさらに備え、
前記表示手段は、
仮想空間における前記各領域に対して前記厚さに対応する表示を行うことを特徴とするコンクリート吹付け作業支援システム。
【請求項5】
請求項1から3の何れかに記載されたコンクリート吹付け作業支援システムにおいて、
コンクリートの残量データを取得する残量データ取得手段と、
前記動作データから特定される前記吹付け機及びその可動部位の動作と、前記残量データの変化から特定されるコンクリートの吹付け量とに基づいて、前記吹付け先を細分化した各領域に吹付けられたコンクリートの厚さを算出する吹付け厚さ算出手段と
をさらに備え、
前記表示手段は、
仮想空間における前記各領域に対して前記厚さに対応する表示を行うことを特徴とするコンクリート吹付け作業支援システム。
【請求項6】
請求項5に記載されたコンクリート吹付け作業支援システムにおいて、
前記表示手段は、
コンクリートの残量を示す表示を行うことを特徴とするコンクリート吹付け作業支援システム。
【請求項7】
請求項5に記載されたコンクリート吹付け作業支援システムにおいて、
前記残量データ取得手段は、
前記撮像手段に吹きかける水の残量データをさらに取得し、
前記表示手段は、
水の残量を示す表示を行うことを特徴とするコンクリート吹付け作業支援システム。
【請求項8】
請求項1から3の何れかに記載されたコンクリート吹付け作業支援システムにおいて、
前記仮想空間における視点の位置又は視線の向きを変更する操作を受け付け可能な入力手段をさらに備え、
前記表示手段は、
前記入力手段により前記操作が受け付けられると、前記仮想空間における前記吹付け機及びその可動部位の様子を変更された視点の位置又は視線の向きに応じた見え方により表示することを特徴とするコンクリート吹付け作業支援システム。
【請求項9】
請求項1から3の何れかに記載されたコンクリート吹付け作業支援システムにおいて、
前記仮想空間作成手段及び前記表示手段は、
コンクリートの吹付け作業により生じるリバウンドや粉塵が及ばない場所に設置されていることを特徴とするコンクリート吹付け作業支援システム。
【請求項10】
請求項1から3の何れかに記載されたコンクリート吹付け作業支援システムにおいて、
様々な建設現場におけるコンクリート吹付け作業で得られたデータを学習させた予測器を用いて、前記可動部位の動作に関する現在の前記吹付け先の状況に適した操作を予測し、作業者による操作が所定の程度を超えて予測から外れた場合に、作業者を補助する制御を実行する補助制御部をさらに備えたコンクリート吹付け作業支援システム。
(【請求項11】以降は省略されています)
発明の詳細な説明
【技術分野】
【0001】
本発明は、コンクリート吹付け機を用いたコンクリートの吹付け作業を支援するシステムに関する。
続きを表示(約 1,800 文字)
【背景技術】
【0002】
近年、山岳トンネルの工事において、地山が露出した切羽での肌落ちによる労働災害が度々発生していることから、肌落ち災害の防止を図るための対策が求められており、ゼネコン各社において様々な取り組みがなされている。
【0003】
例えば、特許文献1には、コンクリート吹付け機において、キャビンの前方に第1撮像装置が設置され、マンケージの下方に第2撮像装置が設置されており、キャビンに搭乗したオペレータが装着するヘッドマウントディスプレイ(以下、「HMD」と略称する。)に第1撮像装置による第1撮像画像と第2撮像装置による第2撮像画像とが並列表示されるよう構成されたコンクリート吹付け支援システムが開示されている。
【先行技術文献】
【特許文献】
【0004】
特開2023-43588号公報
【発明の概要】
【発明が解決しようとする課題】
【0005】
上述した先行技術によれば、オペレータが操作装置を操作する姿勢を維持したままHMDの表示を確認して必要な操作を行えるため操作性が良く、また、オペレータがキャビンで操作を行うためコンクリートの吹付けを安全に行うことができると考えられる。しかしながら、第1撮像装置の死角領域の確認や各ブームの相対位置関係等の確認を行うためには、第2撮像装置をそれに応じた適切な位置に移動させるべく、HMDの表示を確認しながらマンゲージブームを他のブームと干渉しないように注意しながら操作する必要があるため、操作に相当程度の慣れが必要であると推測される。
【0006】
コンクリート吹付け機にはブームやアーム等の多くの可動部位が設けられていることから、複数の撮像画像を設置しても、可動部位の位置や姿勢等の状況によっては死角の発生が避けられず、その度に死角をなくすための操作が必要となるため、撮像装置だけで死角の問題を解決するのは限界がある。とはいえ、コンクリートの吹付けを適切に行うためには、可動部位の状況を把握する必要があり、別の手法が求められている。
【0007】
そこで、本発明は、コンクリート吹付け機の可動部位の状況を把握可能とする技術の提供を課題とする。
【課題を解決するための手段】
【0008】
上記の課題を解決するため、本発明は、以下のコンクリート吹付け作業支援システムを採用する。なお、以下の括弧書中の文言はあくまで例示であり、本発明はこれに限定されるものではない。
【0009】
すなわち、本発明のコンクリート吹付け作業支援システムは、コンクリートの吹付け機が配置された建設現場に対応するコンクリート吹付け作業支援システムであって、建設現場の様子を表した三次元モデルを作成し、吹付け機及びその可動部位の現実空間における位置と三次元モデル内の仮想空間における位置とを対応付け、現実空間における吹付け機及びその可動部位の動作に関する動作データに基づいて、現実空間での動作に同期して仮想空間における吹付け機及びその可動部位を動作させる仮想空間作成手段と、建設現場におけるコンクリートの吹付け先及びその付近の様子を撮像する撮像手段と、少なくとも、現実空間における吹付け先及びその付近の様子と、仮想空間における可動部位の様子と、コンクリートの吹付け作業の進捗に関する情報とを表示する表示手段とを備えている。
【0010】
この態様のコンクリート吹付け作業支援システムによれば、建設現場における吹付け機及びその可動部位の動作が三次元モデル内の仮想空間に再現され、表示手段には、現実空間(コンクリートの吹付け機が配置された建設現場)におけるコンクリートの吹付け先(例えば、切羽や法面等)及びその付近の様子と、仮想空間に再現された吹付け機の可動部位の様子と、コンクリートの吹付け作業の進捗に関する情報とが表示されるため、作業者(オペレータ)は、これらの表示を通じて吹付け作業に必要な情報を確認することができ、吹付け先に近付いてその様子を確認することなく吹付け作業を安全に行うことができる。また、作業者は、仮想空間の表示を通じて、吹付け機の可動部位の状況を正確に把握することができ、その上で可動部位を動作させ(コントローラを操作す)ることで、コンクリートの吹付け作業を適切に行うことが可能となる。
(【0011】以降は省略されています)
この特許をJ-PlatPat(特許庁公式サイト)で参照する
関連特許
株式会社フジタ
水電解装置
16日前
株式会社フジタ
清掃ロボット
17日前
株式会社フジタ
窓用カバー部材
1か月前
株式会社フジタ
結露対策設定装置
1か月前
株式会社フジタ
コンクリート吹付け作業支援システム
2日前
株式会社フジタ
飛沫感染、飛沫核感染防止のための衝立
1か月前
株式会社フジタ
シーリング材均し器具及びシーリング装置
15日前
株式会社フジタ
音響解析システム及び音響解析プログラム
15日前
個人
接合構造
1か月前
個人
屋台
2か月前
個人
タッチミー
1か月前
個人
野良猫ハウス
2か月前
個人
安心補助てすり
1か月前
個人
フェンス
3か月前
個人
転落防止用手摺
2か月前
ニチハ株式会社
建築板
2か月前
個人
筋交自動設定装置
1か月前
個人
ベンリナアングル
1か月前
積水樹脂株式会社
柵体
2か月前
個人
居住車両用駐車場
2か月前
個人
熱抵抗多層断熱建材
2か月前
個人
補強部材
2か月前
個人
柵
3か月前
個人
防災建築物
1か月前
個人
身体用シェルター
1か月前
鹿島建設株式会社
壁体
2か月前
個人
身体用シェルター
1か月前
株式会社シンケン
住宅
1か月前
成友建設株式会社
建物
2か月前
個人
可搬型供養墓
1か月前
三洋工業株式会社
床構造
1か月前
三協立山株式会社
構造体
10日前
インターマン株式会社
天井構造
3か月前
三協立山株式会社
構造体
1か月前
三協立山株式会社
構造体
1か月前
イワブチ株式会社
組立柱
2か月前
続きを見る
他の特許を見る