TOP
|
特許
|
意匠
|
商標
特許ウォッチ
Twitter
他の特許を見る
10個以上の画像は省略されています。
公開番号
2025175722
公報種別
公開特許公報(A)
公開日
2025-12-03
出願番号
2024081943
出願日
2024-05-20
発明の名称
BIMモデル生成システム
出願人
株式会社フジタ
,
株式会社ダイスネクスト
代理人
個人
,
個人
,
個人
主分類
G06F
30/13 20200101AFI20251126BHJP(計算;計数)
要約
【課題】2次元の図面データを基に3次元のBIMモデルの生成を補助する技術の提供
【解決手段】システム100では、設備情報処理において、先ず設備線が抽出され(S31)、設備線の途切れ補完処理が実行される(S32)。この処理では、設備図に含まれる設備の立体交差を表す設備線の途切れや、設備図から不要な情報が除去されることで生じた設備線の途切れが、画像処理及び幾何学処理(第1実施形態)又は幾何学処理(第2実施形態)により補完される。また、設備線及び設備に関する文字情報が抽出され(S33)、設備線と文字情報との紐付け処理が実行される(S34)。この処理では、抽出された各設備線と各文字情報との最短距離を要素とする距離行列が作成され、設備線と文字情報とを接続させる2部グラフについて最大マッチングを求める処理を、距離に関する所定の条件に沿って繰り返した上で、各文字情報がいずれかの設備線に適切に紐付けられる。
【選択図】図8
特許請求の範囲
【請求項1】
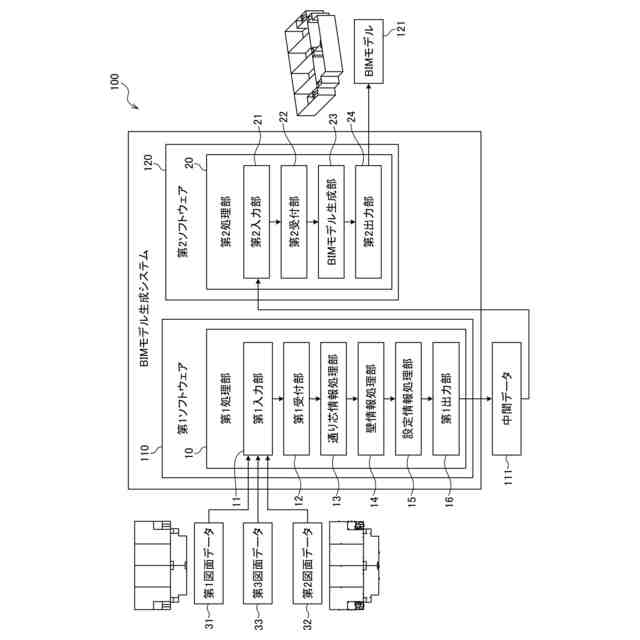
2次元の図面データに基づいて3次元のBIMモデルを生成するBIMモデル生成システムであって、
前記2次元の図面データが入力される入力部と、
入力された前記2次元の図面データから、建物の構成要素に関する要素情報を抽出する抽出部と、
抽出された前記要素情報を3次元化する上での不備を補完する補完部と
を備えたBIMモデル生成システム。
続きを表示(約 1,400 文字)
【請求項2】
請求項1に記載のBIMモデル生成システムにおいて、
前記入力部に入力された前記2次元の図面データに含まれる情報が分類して配置された複数のレイヤーから、不要な情報を除去するための操作を受付可能な受付部をさらに備え、
前記抽出部は、
不要な情報が除去された特定のレイヤーから、特定の前記要素情報を抽出することを特徴とするBIMモデル生成システム。
【請求項3】
請求項1又は2に記載のBIMモデル生成システムにおいて、
前記抽出部は、
前記2次元の図面データに含まれる情報が分類して配置された複数のレイヤーのうち、不要な情報が除去された特定のレイヤーから、建物の内部に引き回される設備に関する設備情報を抽出し、
前記補完部は、
抽出された前記設備情報を3次元化する上での不備を補完することを特徴とするBIMモデル生成システム。
【請求項4】
請求項3に記載のBIMモデル生成システムにおいて、
前記補完部は、
抽出された前記設備情報に対応する初期画像を指向性を持たせて膨張させた後に収縮させ、収縮後の画像と前記初期画像との差分を取得し、前記差分と抽出された前記設備情報とに基づいて、前記設備情報に含まれる設備を示す線の途切れをつなぎ合わせて補完することを特徴とするBIMモデル生成システム。
【請求項5】
請求項4に記載のBIMモデル生成システムにおいて、
前記補完部は、
抽出された前記設備情報から前記設備を示す各線の両端点の座標を取得し、各点間の接続関係及び前記初期画像との対応関係を整理して、前記差分に関し所定の条件を満たす線同士を接続することにより、前記設備情報に含まれる前記線の途切れを補完することを特徴とするBIMモデル生成システム。
【請求項6】
請求項3に記載のBIMモデル生成システムにおいて、
前記補完部は、
抽出された前記設備情報から前記設備を示す各直線の両端点の座標を取得し、各点間の接続関係を整理しつつ各直線の方程式を求め、方程式が同一である直線同士を接続することにより、前記設備情報に含まれる前記直線の途切れを補完することを特徴とするBIMモデル生成システム。
【請求項7】
請求項3に記載のBIMモデル生成システムにおいて、
前記補完部は、
抽出された前記設備情報から前記設備を示す線と前記設備に関する所定の文字情報とを取得して、取得された各前記線と各前記文字情報との間の距離を要素とする距離行列を作成し、前記距離行列において距離が所定の閾値内である前記線と前記文字情報とを接続させる2部グラフを作成して、最大マッチングにより前記線と前記文字情報とを対応付けることにより、前記線と前記文字情報との対応関係を補完することを特徴とするBIMモデル生成システム。
【請求項8】
3次元モデルの生成元とする2次元の図面データに対して事前の調整を行う2次元図面調整プログラムであって、コンピュータを、
前記2次元の図面データから、建物の構成要素に関する要素情報を抽出する設備情報抽出部と、
抽出された前記要素情報を3次元化する上での不備を補完する設備情報補完部
として機能させる2次元図面調整プログラム。
発明の詳細な説明
【技術分野】
【0001】
本発明は、2次元の図面データに基づいて3次元のBIMモデルを生成するBIMモデル生成システムに関するものである。
続きを表示(約 1,300 文字)
【背景技術】
【0002】
今でこそ、ゼネコン各社においては、3次元のBIMモデルによる設計・施工が浸透してきたが、数年前までは2次元の図面を書くのが主流であった。近年、BIMモデルを用いた建物管理(以下、「FM」と称する。)手法が注目される中で、2次元の図面のみで施工された建物はBIMモデルがないため最新の手法が適用できないでいた。また、2次元の図面を下敷きにして、手作業でBIMモデルを作成することもあるが、手間がかかるという問題がある。
【0003】
そこで、AIを用いた図面認識技術が開発されている(非特許文献1)。
【先行技術文献】
【特許文献】
【0004】
株式会社フォトラクションウェブサイト,「建設を限りなくスマートに」,https://www.photoruction.com/,令和6年4月25日検索
【発明の概要】
【発明が解決しようとする課題】
【0005】
非特許文献1の技術は、図面認識はできるが、3次元のBIMモデルにするには至っていない。このように、建築分野では、2次元の図面のBIM化は実用化されていないのが現状である。
【0006】
そこで、本発明は、2次元の図面データを基に3次元のBIMモデルの生成を補助することができる技術の提供を課題とする。
【課題を解決するための手段】
【0007】
上記の課題を解決するため、本発明は、以下のBIMモデル生成システムを採用する。なお、以下の括弧書中の文言はあくまで例示であり、本発明はこれに限定されるものではない。
【0008】
すなわち、本発明のBIMモデル生成システムは、2次元の図面データに基づいて3次元のBIMモデルを生成するBIMモデル生成システムであって、2次元の図面データが入力される入力部と、入力された2次元の図面データから、建物の構成要素に関する要素情報を抽出する抽出部と、抽出された要素情報を3次元化する上での不備を補完する補完部とを備えている。
【0009】
この態様のBIMモデル生成システムによれば、入力された2次元の図面データ(例えば、求積図のデータ、平面図のデータ、設備図のデータ)から様々な要素情報(例えば、壁情報、通り芯情報、各種の設備情報)が抽出され、要素情報を3次元化する上での不備(例えば、線の途切れ、線と文字との対応関係の不明確さ、壁情報の重複等)が補完されるため、補完された要素情報に基づいて正確なBIMモデルを生成することができる。
【0010】
好ましくは、上述した態様のBIMモデル生成システムにおいて、入力部に入力された2次元の図面データに含まれる情報が分類して配置された複数のレイヤーから、不要な情報を除去するための操作を受付可能な受付部をさらに備えており、抽出部は、不要な情報が除去された特定のレイヤーから、特定の要素情報を抽出する。
(【0011】以降は省略されています)
この特許をJ-PlatPat(特許庁公式サイト)で参照する
関連特許
株式会社フジタ
合成床
今日
株式会社フジタ
水電解装置
29日前
株式会社フジタ
清掃ロボット
今日
株式会社フジタ
清掃ロボット
1か月前
株式会社フジタ
窓用カバー部材
1か月前
株式会社フジタ
結露対策設定装置
1か月前
株式会社フジタ
BIMモデル生成システム
2日前
株式会社フジタ
コンクリート吹付け作業支援システム
15日前
株式会社フジタ
飛沫感染、飛沫核感染防止のための衝立
1か月前
株式会社フジタ
シーリング材均し器具及びシーリング装置
28日前
株式会社フジタ
音響解析システム及び音響解析プログラム
28日前
公立大学法人公立諏訪東京理科大学
頭部装着装置、熱中症予防システム及び水分補給警告システム
7日前
個人
詐欺保険
1か月前
個人
縁伊達ポイン
1か月前
個人
5掛けポイント
28日前
個人
RFタグシート
1か月前
個人
職業自動販売機
21日前
個人
QRコードの彩色
1か月前
個人
地球保全システム
2か月前
個人
ペルソナ認証方式
1か月前
個人
自動調理装置
1か月前
個人
情報処理装置
1か月前
個人
立体グラフの利用方法
今日
個人
残土処理システム
1か月前
個人
表変換編集支援システム
2か月前
個人
農作物用途分配システム
1か月前
個人
タッチパネル操作指代替具
1か月前
個人
インターネットの利用構造
1か月前
個人
知的財産出願支援システム
1か月前
NISSHA株式会社
入力装置
1日前
個人
サービス情報提供システム
23日前
個人
パスワード管理支援システム
2か月前
個人
学習用データ生成装置
2日前
個人
スケジュール調整プログラム
1か月前
個人
携帯端末障害問合せシステム
1か月前
個人
システム及びプログラム
2か月前
続きを見る
他の特許を見る