TOP
|
特許
|
意匠
|
商標
特許ウォッチ
Twitter
他の特許を見る
公開番号
2025177597
公報種別
公開特許公報(A)
公開日
2025-12-05
出願番号
2024084589
出願日
2024-05-24
発明の名称
清掃ロボット
出願人
株式会社フジタ
代理人
個人
,
個人
,
個人
主分類
A47L
1/02 20060101AFI20251128BHJP(家具;家庭用品または家庭用設備;コーヒーひき;香辛料ひき;真空掃除機一般)
要約
【課題】立体構造物を傷つけてしまうことながなく、仮設の清掃ロボットであっても、清掃効率や清掃品質が低下してしまうことを回避することができる清掃ロボットを提供する。
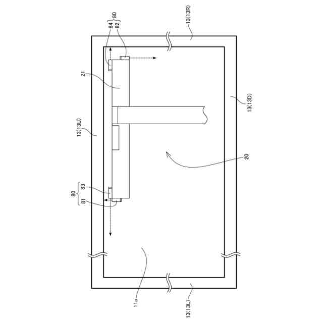
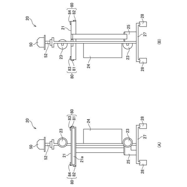
【解決手段】窓清掃ロボット20は、建物の窓11aにブラシを押し付けながら又は建物の窓11aに接近しながら移動することにより建物の窓11aを清掃する清掃部21と、清掃部21に設けられ、建物の窓11aの近傍に配置される窓枠13を非接触で検知可能であり、窓枠13を上下左右の4方向で検知可能な位置に配置された検知部80と、を備える。検知部80は、清掃部21の上方向にある窓枠13(13U)を検知する上方向検知部81と、清掃部21の下方向にある窓枠13(13D)を検知する下方向検知部82と、清掃部21の左方向にある窓枠13(13L)を検知する左方向検知部83と、清掃部21の右方向にある窓枠13(13R)を検知する右方向検知部84と、を備える。
【選択図】図4
特許請求の範囲
【請求項1】
建物に仮設した揚重装置に吊下げられる清掃ロボットであって、
前記建物の清掃対象面に押し付けながら又は前記建物の清掃対象面に接近しながら移動することにより前記清掃対象面を清掃する清掃部と、
前記清掃部に設けられ、前記建物の清掃対象面の近傍に配置される立体構造物を非接触で検知可能であり、前記立体構造物を上下左右の4方向で検知可能な位置に配置された検知部と、
を備える清掃ロボット。
続きを表示(約 1,000 文字)
【請求項2】
請求項1に記載の清掃ロボットにおいて、
前記清掃対象面は、前記建物の窓であり、
前記立体構造物は、前記窓を取り囲む窓枠であることを特徴とする清掃ロボット。
【請求項3】
請求項1に記載の清掃ロボットにおいて、
前記検知部は、
前記清掃部の上方向にある前記立体構造物を検知する上方向検知部と、
前記清掃部の下方向にある前記立体構造物を検知する下方向検知部と、
前記清掃部の左方向にある前記立体構造物を検知する左方向検知部と、
前記清掃部の右方向にある前記立体構造物を検知する右方向検知部と、
を備えることを特徴とする清掃ロボット。
【請求項4】
請求項3に記載の清掃ロボットにおいて、
前記上方向検知部は、前記清掃部の側面に配置されており、
前記下方向検知部は、前記清掃部の側面に配置されており、
前記左方向検知部は、前記清掃部の上面又は下面に配置されており、
前記右方向検知部は、前記清掃部の上面又は下面に配置されていることを特徴とする清掃ロボット。
【請求項5】
請求項3に記載の清掃ロボットにおいて、
前記上方向検知部は、前記清掃部の側面の上端に配置されており、
前記下方向検知部は、前記清掃部の側面の下端に配置されていることを特徴とする清掃ロボット。
【請求項6】
請求項3に記載の清掃ロボットにおいて、
前記左方向検知部は、前記清掃部の上面又は下面の左端に配置されており、
前記右方向検知部は、前記清掃部の上面又は下面の右端に配置されていることを特徴とする清掃ロボット。
【請求項7】
請求項1に記載の清掃ロボットにおいて、
前記検知部は、先端が前記清掃対象面を向くように、水平方向又は鉛直方向を基準として所定の角度傾斜して配置されていることを特徴とする清掃ロボット。
【請求項8】
請求項7に記載の清掃ロボットにおいて、
前記所定の角度は、前記清掃対象面から前記検知部までの距離、前記清掃対象面から前記立体構造物の先端までの距離、及び、前記立体構造物から前記検知部までの距離に基づいて決定されていることを特徴とする清掃ロボット。
【請求項9】
請求項1に記載の清掃ロボットにおいて、
前記検知部は、赤外線を用いたセンサであることを特徴とする清掃ロボット。
発明の詳細な説明
【技術分野】
【0001】
本発明は、清掃ロボットに関する。
続きを表示(約 1,700 文字)
【背景技術】
【0002】
従来、建物の清掃ロボットとして、特許文献1や特許文献2のように、建物にあらかじめガイドレールを設け、そのレールに沿って壁面を移動する清掃ロボットが使用されてきた。これらの清掃ロボットは、その建物の窓形状に合わせたロボット形状となるため、その建物専用の本設の清掃ロボットとなる。そして、これらの本設の清掃ロボットは、清掃対象面を計測する際、窓の周囲にある窓枠がどれくらいの凹凸でどのくらいのスパンにあるのかをあらかじめ把握しているため、窓の幅に合わせた清掃部を装備し、窓面に対して垂直方向に凹凸を検知するレーザーで窓の上端部と下端部を計測すれば清掃が可能となる。また、従来の技術として、特許文献3のような技術もある。
【先行技術文献】
【特許文献】
【0003】
特開平03-109016号公報
特開1989-121025号公報
特開2022-177724号公報
【発明の概要】
【発明が解決しようとする課題】
【0004】
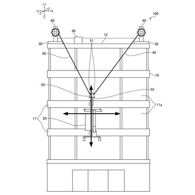
これに対し、本件発明者らは、既存建物に後から設置・撤去が可能な仮設の清掃ロボットを開発している。これらの仮設の清掃ロボットは、本設の清掃ロボットと比較して小型・軽量のため可搬性があり、適宜清掃したい建物に揚重装置を据え付けて仮設の清掃ロボットを吊るすことで、壁面上を移動しながら窓を清掃することが可能となっている。
【0005】
しかし、同じような清掃ロボットであっても、仮設の清掃ロボットと本設の清掃ロボットとでは、必要な構成が異なる。すなわち、仮設の清掃ロボットは、その都度清掃する建物が異なるため、様々な外壁・窓形状をリアルタイムで計測しながら清掃する必要があり、本設の清掃ロボットとは異なる独自の清掃対象面の計測方法が必要となる。
【0006】
例えば、特許文献3の技術では、ロボットアームが清掃部を窓面に押し付けながら上下左右に動かし、窓枠の凹凸に接触した場所を清掃対象面の境界部として検出する方法を採用している。しかし、この接触式の窓枠検知方法では、立体構造物(窓枠、窓のサッシ)を傷つけてしまう可能性があり、清掃部を動かす際の速度やモータートルクを制限する必要もあるため、清掃効率や清掃品質の低下が懸念されてしまう。
【0007】
そこで、本発明は、立体構造物を傷つけてしまうことながなく、仮設の清掃ロボットであっても、清掃効率や清掃品質が低下してしまうことを回避することができる清掃ロボットを提供することを課題とする。
【課題を解決するための手段】
【0008】
本発明は、上記の課題を解決するため以下の解決手段を採用する。なお、以下の解決手段及び括弧書中の文言はあくまで例示であり、本発明はこれに限定されるものではない。また、本発明は、以下の解決手段に示す各発明特定事項を少なくとも1つ含む発明とすることができる。さらに、以下の解決手段に示す各発明特定事項には、発明特定事項を限定する要素を追加して下位概念化することができ、発明特定事項を限定する要素を削除して上位概念化することもできる。
【0009】
解決手段1:本解決手段の清掃ロボットは、建物に仮設した揚重装置に吊下げられる清掃ロボットであって、前記建物の清掃対象面に押し付けながら又は 前記建物の清掃対象面に接近しながら移動することにより前記清掃対象面を清掃する清掃部と、前記清掃部に設けられ、前記建物の清掃対象面の近傍に配置される立体構造物を非接触で検知可能であり、前記立体構造物を上下左右の4方向で検知可能な位置に配置された検知部と、を備える清掃ロボットである。
【0010】
本解決手段によれば、検知部は、立体構造物を非接触で検知するとともに、立体構造物を上下左右の4方向で検知するため、立体構造物に接触せずに立体構造物をあらゆる方向から検知することができ、立体構造物を傷つけてしまうことながなく、仮設の清掃ロボットであっても、清掃効率や清掃品質が低下してしまうことを回避することができる。
(【0011】以降は省略されています)
この特許をJ-PlatPat(特許庁公式サイト)で参照する
関連特許
株式会社フジタ
合成床
今日
株式会社フジタ
水電解装置
29日前
株式会社フジタ
清掃ロボット
今日
株式会社フジタ
清掃ロボット
1か月前
株式会社フジタ
結露対策設定装置
1か月前
株式会社フジタ
BIMモデル生成システム
2日前
株式会社フジタ
コンクリート吹付け作業支援システム
15日前
株式会社フジタ
シーリング材均し器具及びシーリング装置
28日前
株式会社フジタ
音響解析システム及び音響解析プログラム
28日前
公立大学法人公立諏訪東京理科大学
頭部装着装置、熱中症予防システム及び水分補給警告システム
7日前
個人
箸
1か月前
個人
家具
4か月前
個人
椅子
3か月前
個人
自助箸
7か月前
個人
掃除機
9か月前
個人
掃除用具
4か月前
個人
屋外用箒
7か月前
個人
体洗い具
11か月前
個人
枕
9か月前
個人
ソファー
2か月前
個人
掃除道具
9か月前
個人
多用途紐
1か月前
個人
枕
5か月前
個人
耳拭き棒
11か月前
個人
ハンガー
7か月前
個人
開閉トング
6か月前
個人
物品
3か月前
個人
片手代替具
11か月前
個人
省煙消臭器
9か月前
個人
掃除シート
10か月前
個人
組立式棚板
7か月前
個人
ゴミ袋保持枠
7か月前
個人
経典表示装置
5か月前
個人
洗面台
11か月前
個人
靴ベラ
2か月前
個人
紙コップ 蓋
2か月前
続きを見る
他の特許を見る