TOP
|
特許
|
意匠
|
商標
特許ウォッチ
Twitter
他の特許を見る
10個以上の画像は省略されています。
公開番号
2025155416
公報種別
公開特許公報(A)
公開日
2025-10-14
出願番号
2024059238
出願日
2024-04-01
発明の名称
制震架構
出願人
鹿島建設株式会社
代理人
個人
主分類
E04H
9/02 20060101AFI20251006BHJP(建築物)
要約
【課題】建物内の空間の有効利用につながる制震架構等を提供する。
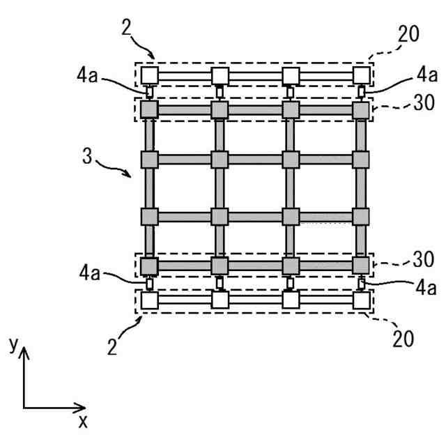
【解決手段】制震架構1は木質架構部2と高剛性架構部3を有する。木質架構部2は木質材を用いて形成され、構面を平面のx方向としたラーメン架構20を備える。高剛性架構部3は、構面をx方向としたラーメン架構30を備え、木質架構部2よりもx方向における剛性が高い。平面視でy方向に離隔した木質架構部2のラーメン架構20と高剛性架構部3のラーメン架構30とが、水平方向に設けられた水平ダンパ4を介して接続され、水平ダンパ4により、x方向の振動を、木質架構部2と高剛性架構部3のx方向の変位差を利用して吸収する。
【選択図】図1
特許請求の範囲
【請求項1】
構面を平面の一方向としたラーメン架構を備える、木質材を用いて形成された木質架構部と、
構面を前記一方向としたラーメン架構を備える、前記木質架構部よりも前記一方向における剛性が高い高剛性架構部と、
を有し、
平面視で前記一方向とは異なる方向に離隔した前記木質架構部の前記ラーメン架構と前記高剛性架構部の前記ラーメン架構とが、水平方向に設けられた水平ダンパを介して接続され、前記水平ダンパにより、前記一方向の振動を、前記木質架構部と前記高剛性架構部の前記一方向の変位差を利用して吸収することを特徴とする制震架構。
続きを表示(約 460 文字)
【請求項2】
前記木質架構部は、建物の外周部に配置されることを特徴とする請求項1記載の制震架構。
【請求項3】
前記水平ダンパは、平面視において前記木質架構部の前記ラーメン架構と前記高剛性架構部の前記ラーメン架構の間で、床版の下に設けられることを特徴とする請求項1記載の制震架構。
【請求項4】
前記床版は、少なくとも前記木質架構部の前記ラーメン架構と前記高剛性架構部の前記ラーメン架構のいずれかに対して縁が切られていることを特徴とする請求項3記載の制震架構。
【請求項5】
前記木質架構部または前記高剛性架構部で設けられる床版が二重床となっており、上部床と下部床の間に免震装置とダンパが設けられたことを特徴とする請求項1記載の制震架構。
【請求項6】
前記水平ダンパは水平ブレースダンパであり、平面視において前記木質架構部の前記ラーメン架構と前記高剛性架構部の前記ラーメン架構の間で斜めに配置されることを特徴とする請求項1記載の制震架構。
発明の詳細な説明
【技術分野】
【0001】
本発明は、制震架構等に関する。
続きを表示(約 1,700 文字)
【背景技術】
【0002】
木構造は、地球温暖化対策としてCO
2
排出量を削減するための手段として有効であり、木材を現しにして意匠性を向上させることもできる。ただし、剛性や耐力が小さいことから、従来木構造を大規模建築に適用するのは困難であった。しかしながら、昨今、大規模集成材が普及してきたことから、木構造が大規模建築に適用され始めており、その一例として、木質柱と木質梁を門型に組み合わせた木質ラーメン架構がある(例えば特許文献1など)。
【先行技術文献】
【特許文献】
【0003】
特許第3990715号
【発明の概要】
【発明が解決しようとする課題】
【0004】
しかしながら、木質ラーメン架構は、RC造(鉄筋コンクリート造)やS造(鉄骨造)と比べて剛性や耐力が小さいため、建物の耐震要素として合理的かつ有効に活用するのが困難である。そのため、柱本数を増やしたり部材の断面を大きくしたりといった方策が採られているのが実情であり、これらの対策を講じる結果、建物内で柱や梁の占める部分が大きくなり、有効利用できる建物内の空間を減らしてしまう。
【0005】
本発明は上記の問題に鑑みてなされたものであり、建物内の空間の有効利用につながる制震架構等を提供することを目的とする。
【課題を解決するための手段】
【0006】
前述した課題を解決するための第1の発明は、構面を平面の一方向としたラーメン架構を備える、木質材を用いて形成された木質架構部と、構面を前記一方向としたラーメン架構を備える、前記木質架構部よりも前記一方向における剛性が高い高剛性架構部と、を有し、平面視で前記一方向とは異なる方向に離隔した前記木質架構部の前記ラーメン架構と前記高剛性架構部の前記ラーメン架構とが、水平方向に設けられた水平ダンパを介して接続され、前記水平ダンパにより、前記一方向の振動を、前記木質架構部と前記高剛性架構部の前記一方向の変位差を利用して吸収することを特徴とする制震架構である。
【0007】
本発明では、上記構成により、木質材を使用して環境面等に優れた建物を実現しつつ、木質材を用いたラーメン架構の弱点である低剛性・低耐力を逆に利用した水平ダンパによる制震架構とすることで、建物全体の耐震安全性を高めることができる。そのため、木質材を用いたラーメン架構の剛性や耐力の低さを補うために、柱を増やしたり、柱や梁の部材サイズを大きくしたり、耐震壁や鉛直ブレースを追加配置したりする必要が無く、建物内の空間の有効利用につながる。
【0008】
前記木質架構部は、例えば建物の外周部に配置される。
これにより、建物のファサードを形成する構面に木質架構部を配置して建物の意匠性を向上させると共に、そのラーメン架構を構造部材としても有効に活用することができる。
【0009】
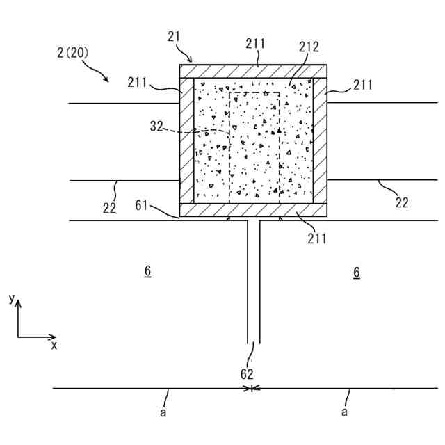
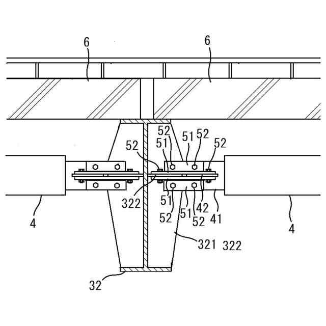
前記水平ダンパは、平面視において前記木質架構部の前記ラーメン架構と前記高剛性架構部の前記ラーメン架構の間で、床版の下に設けられることが望ましい。前記床版は、少なくとも前記木質架構部の前記ラーメン架構と前記高剛性架構部の前記ラーメン架構のいずれかに対して縁が切られている。
本発明では水平ダンパを床(または天井)の床版下に設けることで、建物の空間利用を阻害することが無く、建築空間をより自由に活用でき建築意匠の自由度も高めることが可能となる。また上記のように床版とラーメン架構との縁を切ることで、ラーメン架構同士の相対変位が床版によって阻害されるのを防ぐことができる。
【0010】
前記木質架構部または前記高剛性架構部で設けられる床版が二重床となっており、上部床と下部床の間に免震装置とダンパが設けられることも望ましい。
これにより、建物の振動をさらに吸収でき、木質架構部に要求される剛性や耐力をさらに低減できる。
(【0011】以降は省略されています)
この特許をJ-PlatPat(特許庁公式サイト)で参照する
関連特許
個人
接合構造
1か月前
個人
屋台
2か月前
個人
タッチミー
1か月前
個人
野良猫ハウス
2か月前
個人
転落防止用手摺
2か月前
個人
フェンス
3か月前
個人
安心補助てすり
1か月前
積水樹脂株式会社
柵体
2か月前
個人
ベンリナアングル
1か月前
個人
居住車両用駐車場
3か月前
ニチハ株式会社
建築板
3か月前
個人
筋交自動設定装置
2か月前
個人
熱抵抗多層断熱建材
2か月前
個人
柵
3か月前
個人
補強部材
2か月前
個人
身体用シェルター
2か月前
鹿島建設株式会社
壁体
3か月前
個人
防災建築物
1か月前
株式会社シンケン
住宅
1か月前
成友建設株式会社
建物
2か月前
個人
身体用シェルター
2か月前
三協立山株式会社
構造体
2か月前
株式会社熊谷組
吊り治具
1か月前
三協立山株式会社
構造体
2か月前
三協立山株式会社
構造体
2か月前
インターマン株式会社
天井構造
3か月前
三協立山株式会社
構造体
2か月前
株式会社熊谷組
床構成材
1か月前
個人
可搬型供養墓
2か月前
株式会社熊谷組
木質材料
2か月前
三協立山株式会社
構造体
2か月前
三協立山株式会社
構造体
2か月前
イワブチ株式会社
組立柱
2か月前
三洋工業株式会社
床構造
1か月前
三協立山株式会社
構造体
23日前
三協立山株式会社
構造体
1か月前
続きを見る
他の特許を見る