TOP
|
特許
|
意匠
|
商標
特許ウォッチ
Twitter
他の特許を見る
10個以上の画像は省略されています。
公開番号
2025145725
公報種別
公開特許公報(A)
公開日
2025-10-03
出願番号
2024046053
出願日
2024-03-22
発明の名称
荷物昇降装置用の荷物載置機構
出願人
株式会社フジタ
代理人
個人
主分類
B66F
9/06 20060101AFI20250926BHJP(巻上装置;揚重装置;牽引装置)
要約
【課題】重量が大きい荷物でも荷物昇降装置の昇降テーブル上で簡単に移動することができる荷物昇降装置用の荷物載置機構を提供すること。
【解決手段】荷物載置機構20は、昇降テーブル12に取り付けられる固定機構部22と、その上面に荷物載置部2402を有する可動機構部24と、固定機構部22上で可動機構部24を、荷物載置部2402の周りの360度の範囲において水平方向に移動可能に支持する水平方向支持機構26と、固定機構部22上での可動機構部24の水平方向における移動範囲を規制する移動範囲規制機構28とを備える。
【選択図】図5
特許請求の範囲
【請求項1】
荷物昇降装置の昇降テーブルに取り付けられる荷物載置機構であって、
前記荷物載置機構は、
前記昇降テーブルに取り付けられる固定機構部と、
上面に荷物載置部を有する可動機構部と、
前記固定機構部上で前記可動機構部を、前記荷物載置部の周りの360度の範囲において水平方向に移動可能に支持する水平方向支持機構と、
前記固定機構部上での前記可動機構部の水平方向における移動範囲を規制する移動範囲規制機構と、
を備えることを特徴とする荷物昇降装置用の荷物載置機構。
続きを表示(約 1,400 文字)
【請求項2】
前記昇降テーブルは、前記昇降テーブルが昇降される方向と直交する方向の幅を有し、
前記可動機構部はその上部に、複数の細長部材が同一平面上で矩形の枠状に組み付けられ互いに対向する一対の辺が前記昇降テーブルの幅方向と平行する方向に延在する上部枠体を備え、
前記荷物載置部は前記上部枠体で構成されている、
ことを特徴とする請求項1記載の荷物昇降装置用の荷物載置機構。
【請求項3】
前記上部枠体の上面にゴム板が取着されている、
ことを特徴とする請求項2記載の荷物昇降装置用の荷物載置機構。
【請求項4】
前記昇降テーブルの幅方向と平行する方向に延在し前記上部枠体を構成する互いに対向する一対の前記細長部材は、伸縮調節可能に構成されている、
ことを特徴とする請求項2記載の荷物昇降装置用の荷物載置機構。
【請求項5】
前記固定機構部は、複数の細長部材が矩形の枠状に組み付けられ互いに対向する一対の辺が前記昇降テーブルの幅方向と平行する方向に延在する固定枠体を備え、
前記可動機構部は、前記上部枠体の下方に設けられ複数の細長部材が前記固定枠体よりも小さい矩形の枠状に組み付けられ互いに対向する一対の辺が前記昇降テーブルの幅方向と平行する方向に延在し前記固定枠体の内側に配置され前記上部枠体と一体に移動する可動枠体を備え、
前記移動範囲は、前記固定枠体の内側に前記可動枠体が当接することで決定され、
前記移動範囲規制機構は、前記固定枠体と前記可動枠体とを含んで構成されている、
ことを特徴とする請求項2記載の荷物昇降装置用の荷物載置機構。
【請求項6】
前記固定機構部と前記可動機構部とを水平方向に移動不能にロックするロック機構をさらに備える、
ことを特徴とする請求項5記載の荷物昇降装置用の荷物載置機構。
【請求項7】
前記ロック機構は、前記固定枠体のほぼ中央に前記可動枠体が位置した状態で、前記固定機構部と前記可動機構部とを水平方向に移動不能にロックする、
ことを特徴とする請求項6記載の荷物昇降装置用の荷物載置機構。
【請求項8】
前記固定機構部上で前記可動機構部の上方への浮き上がりを防止する浮き上がり防止機構をさらに備える、
ことを特徴とする請求項6記載の荷物昇降装置用の荷物載置機構。
【請求項9】
前記昇降テーブルは矩形枠状に設けられ、
前記固定枠体は、平面視した場合、前記昇降テーブルの輪郭をなす矩形枠の内側に配置され、
前記可動枠体の下面に、その両端が前記固定枠体の下面に当接可能な複数の細長状の浮き上がり防止部材が設けられ、
前記浮き上がり防止機構は、前記複数の浮き上がり防止部材を含んで構成されている、
ことを特徴とする請求項8記載の荷物昇降装置用の荷物載置機構。
【請求項10】
前記水平方向支持機構は、前記固定機構部に設けられた複数のフリーボールベアリングと、前記可動機構部に設けられ下方に向いた平坦な軸受面を有し前記フリーボールベアリングにより移動可能に支持される複数の軸受板とを含んで構成されている、
ことを特徴とする請求項2記載の荷物昇降装置用の荷物載置機構。
発明の詳細な説明
【技術分野】
【0001】
本発明は、荷物昇降装置の昇降テーブルに設けられる荷物載置機構に関する。
続きを表示(約 6,800 文字)
【背景技術】
【0002】
従来、複数の自在車輪で支持された基台と、基台に設けられた昇降機構と、昇降機構により昇降される昇降テーブルとを備えた荷物昇降装置(リフター)が知られており、また、走行可能な基台と、基台に設けられた昇降機構と、昇降機により昇降される作業足場とを備えて高所作業車が知られている。
例えば、建物の天井に空調機を取り付ける場合、このような荷物昇降装置が1台と、高所作業車が2台用いられる。
詳細に説明すると、建物の天井に空調機を取り付ける場合、空調機を取り付ける天井の箇所の直下に荷物昇降装置を配置し、その両側にそれぞれ高所作業者を配置する。
そして、荷物昇降装置の昇降テーブルに空調機を載せて空調機を天井近傍に上昇させ、作業足場を上昇させて作業員を天井近傍に配置する。
作業員は、昇降テーブル上で空調機を動かして空調機の位置を微調整し、空調機の外周の複数のフランジのボルト挿通孔と、天井から擦り下げられた複数の吊りボルトとの位置合わせ作業を行なう。
複数のボルト挿通孔と複数の吊りボルトとの位置合わせが終了したならば、昇降テーブルをさらに上昇させ、複数のボルト挿通孔にそれぞれ吊りボルトを挿通させ、複数のボルト挿通孔から複数の吊りボルトの先端が突出したならば昇降テーブルの上昇を停止させる。
そして、作業員が各吊りボルトにロックナットを締結することで、空調機の天井への設置作業が終了する。
【先行技術文献】
【特許文献】
【0003】
特開2022-178113号公報
【発明の概要】
【発明が解決しようとする課題】
【0004】
一方、複数のボルト挿通孔と複数の吊りボルトとの位置を合わせるための微調整作業は、作業足場に乗った作業員が、昇降テーブルに載置された空調機を昇降テーブル上でミリ単位で移動させる作業となり、空調機は20Kg前後と重いため、この位置合わせ作業は作業員に大きな負担がかかる面倒な作業となり手間暇がかかる作業となっていた。
さらに、従来の施工方法では、空調機などの荷物が不安定な状態での揚重されていたため荷物の落下リスクがあり、事故の発生を防ぐために慎重な作業が求められ作業効率の低下を招いていた。
本発明は、前記事情に鑑みなされたものであり、高所作業における作業員の負担を大幅に軽減でき、高所作業の作業効率を高める上で有利な荷物昇降装置用の荷物載置機構を提供することを目的とする。
【課題を解決するための手段】
【0005】
上述した目的を達成するため本発明の一実施形態は、荷物昇降装置の昇降テーブルに取り付けられる荷物載置機構であって、前記荷物載置機構は、前記昇降テーブルに取り付けられる固定機構部と、上面に荷物載置部を有する可動機構部と、前記固定機構部上で前記可動機構部を、前記荷物載置部の周りの360度の範囲において水平方向に移動可能に支持する水平方向支持機構と、前記固定機構部上での前記可動機構部の水平方向における移動範囲を規制する移動範囲規制機構とを備えることを特徴とする。
また、本発明の一実施形態は、前記昇降テーブルは、前記昇降テーブルが昇降される方向と直交する方向の幅を有し、前記可動機構部はその上部に、複数の細長部材が同一平面上で矩形の枠状に組み付けられ互いに対向する一対の辺が前記昇降テーブルの幅方向と平行する方向に延在する上部枠体を備え、前記荷物載置部は前記上部枠体で構成されていることを特徴とする。
また、本発明の一実施形態は、前記上部枠体の上面にゴム板が取着されている ことを特徴とする。
また、本発明の一実施形態は、前記昇降テーブルの幅方向と平行する方向に延在し前記上部枠体を構成する互いに対向する一対の前記細長部材は、伸縮調節可能に構成されていることを特徴とする。
また、本発明の一実施形態は、前記固定機構部は、複数の細長部材が矩形の枠状に組み付けられ互いに対向する一対の辺が前記昇降テーブルの幅方向と平行する方向に延在する固定枠体を備え、前記可動機構部は、前記上部枠体の下方に設けられ複数の細長部材が前記固定枠体よりも小さい矩形の枠状に組み付けられ互いに対向する一対の辺が前記昇降テーブルの幅方向と平行する方向に延在し前記固定枠体の内側に配置され前記上部枠体と一体に移動する可動枠体を備え、前記移動範囲は、前記固定枠体の内側に前記可動枠体が当接することで決定され、前記移動範囲規制機構は、前記固定枠体と前記可動枠体とを含んで構成されていることを特徴とする。
また、本発明の一実施形態は、前記固定機構部と前記可動機構部とを水平方向に移動不能にロックするロック機構をさらに備えることを特徴とする。
また、本発明の一実施形態は、前記ロック機構は、前記固定枠体のほぼ中央に前記可動枠体が位置した状態で、前記固定機構部と前記可動機構部とを水平方向に移動不能にロックすることを特徴とする。
また、本発明の一実施形態は、前記固定機構部上で前記可動機構部の上方への浮き上がりを防止する浮き上がり防止機構をさらに備えることを特徴とする。
また、本発明の一実施形態は、前記昇降テーブルは矩形枠状に設けられ、前記固定枠体は、平面視した場合、前記昇降テーブルの輪郭をなす矩形枠の内側に配置され、前記可動枠体の下面に、その両端が前記固定枠体の下面に当接可能な複数の細長状の浮き上がり防止部材が設けられ、前記浮き上がり防止機構は、前記複数の複数の浮き上がり防止部材を含んで構成されていることを特徴とする。
また、本発明の一実施形態は、前記水平方向支持機構は、前記固定機構部に設けられた複数のフリーボールベアリングと、前記可動機構部に設けられ下方に向いた平坦な軸受面を有し前記フリーボールベアリングにより移動可能に支持される複数の軸受板とを含んで構成されていることを特徴とする。
【発明の効果】
【0006】
本発明の一実施形態によれば、重量物が載置される可動機構部は、水平方向支持機構により荷物載置部の周りの360度の範囲において水平方向に移動可能に支持されているので、高所において重量物の位置合わせのための微調整を、従来のように重量物を昇降テーブル上で押して移動させるといった作業を行なうことなく、荷物載置部を片手で動かすことにより簡単に行なえる。
そのため、高所作業における作業員の負担を大幅に軽減でき、高所作業の作業効率を高める上で有利となり、工期の短縮化を図り、建物などのコストダウンを図る上で有利となる。
また、可動機構部の水平方向における移動範囲を規制する移動範囲規制機構が設けられているので、重量物の必要以上の移動を防止でき、重量物の位置合わせのための微調整を簡単に行なう上で有利となる。
また、可動機構部は、可動機構部の上部に荷物載置部を構成する上部枠体を備え、上部枠体は、複数の細長部材により矩形の枠状に組み付けられているため、上部枠体は、上下方向に貫通する開口部を複数有している。
そのため、荷物載置部に載せられた重量物の形態や種類によっては、荷物載置部の下方からでも種々の取り付け作業等を行なえ、高所での荷物載置機構の使用価値、実用価値を高める上で有利となる。
また、上部枠体の上面にゴム板を取着すると、荷物載置部と一体に空調機を移動でき、空調機の微調整を効率よく行なう上で有利となる。
また、上部枠体を構成する互いに対向する一対の長辺用細長部材を伸縮調節可能に構成すると、大きさの異なる様々の空調機などの重量物の取り付けに対応でき、荷物載置機構の使用価値、実用価値を高める上で有利となる。
また、移動範囲規制機構を構成する固定枠体と可動枠体とをそれぞれ円形の枠体で形成してもよいが、本実施の形態のように、それぞれ矩形の枠体で形成したので、圧延鋼材などの市販品の棒材を切断して組み付けることにより簡単に製造でき、荷物載置機構のコストダウンを図る上で有利となる。
さらに、固定枠体の外側に可動枠体を設けてよいが、固定枠体の外側に可動枠体を設ける場合に比べ、固定枠体の内側に可動枠体を設けると、可動枠体が占有するスペースを小さくできるため、移動範囲規制機構のコンパクト化を図る上で有利となる。
また、荷物載置機構は、固定機構部と可動機構部とを水平方向に移動不能にロックするロック機構を備えるので、空調機などの重量物を荷物載置部に載せて移動する際、重量物が昇降テーブル上を移動することがないので、荷物昇降装置の移動や重量物の昇降をより安定した状態で行なえ、荷物載置機構の実用的価値を高める上で有利となる。
また、ロック機構を、可動枠体が固定枠体のほぼ中央に位置した状態で固定機構部と可動機構部とを水平方向に移動不能にロックするように構成すると、ロックした状態で重量物の大まかな位置情勢を行ない、微調整する際にロック機構のロックを解除すると、可動枠体は何れの方向にも移動可能になった状態であることから、重量物の微調整をより簡単に行なう上で有利となる。
また、固定機構部上で可動機構部の上方への浮き上がりを防止する浮き上がり防止機構を設けると、重量物を載せた荷物昇降装置の移動をより安定した状態で行なう上で有利となる。
また、固定枠体を、平面視した場合、昇降テーブルの輪郭をなす矩形枠の内側に配置すると、固定枠体の下方と可動枠体の下方に部材を配置するスペースが生じる。したがって、可動枠体の下面に、その両端が固定枠体の下面に当接可能な複数の細長状の浮き上がり防止部材を設けることで浮き上がり防止機構を簡単に設けることができ、昇降テーブルに組み付けられた状態での荷物載置機構の上下方向の寸法の短縮化を図れ、また、荷物載置機構のコストダウンを図る上で有利となる。
また、水平方向支持機構を、固定機構部に設けた複数のフリーボールベアリングと、可動機構部に設けた平坦な軸受面を有する複数の軸受板で構成すると、いずれの方向にも可動機構部を移動可能に支持する水平方向支持機構が簡単に得られ、また、単に複数のフリーボールベアリングに軸受面を載せる構造であるため、水平方向支持機構の組み立ても簡単になされ、荷物載置機構のコストダウンを図る上で有利となる。
【図面の簡単な説明】
【0007】
昇降テーブルの斜視図である。
昇降テーブルの平面図である。
昇降テーブルの正面図である。
昇降テーブルの側面図である。
昇降テーブルに取り付けられた状態の荷物載置機構の斜視図である。
昇降テーブルに取り付けられた状態の荷物載置機構の平面図である。
昇降テーブルに取り付けられた状態の荷物載置機構の正面図である。
図6のA矢視図である。
固定枠体の斜視図である。
固定機構部の平面図である。
固定機構部の正面図である。
固定機構部の側面図である。
可動機構部の斜視図である。
可動機構部の平面図である。
可動機構部の正面図である。
可動機構部の側面図である。
荷物載置部の幅が最も広がった状態の斜視図である。
荷物載置部の幅が最も広がった状態の平面図である。
荷物載置部の幅が最も広がった状態の正面図である。
可動機構部が後退位置で、かつ左側限界位置に位置した状態を示している。
可動機構部が後退位置で、かつ右側限界位置に位置した状態を示している。
可動機構部が前進位置で、かつ左側限界位置に位置した状態を示している。
可動機構部が前進位置で、かつ右側限界位置に位置した状態を示している。
荷物昇降装置の昇降テーブルに空調機を載置して上昇させ、2台の高所作業車の作業台に乗った各作業員により空調機を設置する作業の説明図である。
荷物昇降装置の説明図で、(A)は昇降テーブルが最も低い位置に位置した状態の斜視図、(B)は昇降テーブルが上昇した状態の斜視図、(C)は昇降テーブルが最も高い位置に位置した状態の斜視図である。
高所作業車の説明図である。
【発明を実施するための形態】
【0008】
以下、本発明の実施の形態について図面を参照して説明する。
図5に示す本発明の実施の形態の荷物載置機構20は、図25に示す荷物昇降装置10の昇降テーブル12に取り付けられて使用されるものである。
(荷物昇降装置)
まず、図25を参照して荷物昇降装置10から簡単に説明する。
荷物昇降装置10は、建設現場や倉庫などで資機材などの荷物の搬送や昇降に用いられる。
荷物昇降装置10は、荷物が載せられる昇降テーブル12を昇降するものであって、4つの自在車輪で支持されたフレーム14と、フレーム14から起立するマスト式の昇降機構16と、昇降機構16により昇降される昇降テーブル12と、移動用の操作ハンドルと、ウインチ18と、バッテリと、制御装置と、リモートコントローラを含んで構成されている。
昇降機構16は、荷物昇降装置10の正面から背面に並べられ互いに上下方向にスライド可能に結合された第1板部材16A、第2板部材16B、第3板部材16Cを含んで構成されている。
第3板部材16Cは、フレーム14で支持され、第1板部材16A、第2板部材16B、第3板部材16Cそれぞれには、滑車1802が設けられており、滑車1802の外周部には昇降テーブル12に接続されたワイヤ1804が巻回されている。
ワイヤ1804は、一端はウインチ18に接続され、第3板部材16C、第2板部材16B、第1板部材16Aそれぞれに設けられた滑車1802を巻回して、他端は昇降テーブル12に接続され、ウインチ18の正逆転により昇降機構16が伸縮する。
フレーム14には、高所作業車50に荷物昇降装置10を連結するためのクランプ1402が設けられ、クランプ1402を図26に示す高所作業車50の連結ロッド5002に連結することで、荷物昇降装置10は、高所作業車50に追従して移動する。
【0009】
(昇降テーブル)
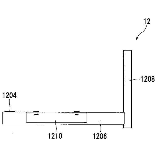
図1~図4に示すように、昇降テーブル12は、昇降テーブル12が昇降される方向と直交する方向の幅を有し、言い換えると、荷物昇降装置10の幅方向に沿った幅W1を有し、平面視、矩形枠状に形成されている。
昇降テーブル12は鋼製で、昇降機構16側に位置する細長の基部部材1202と、基部部材1202に対向する先部部材1204と、基部部材1202の両端と先部部材1204の両端を接続する一対の側部部材1206とで矩形枠状に設けられている。
基部部材1202には、昇降テーブル12を昇降機構16に取り付けるための一対の第1山形鋼1208が取着され、図25に示すように、一対の第1山形鋼1208をボルトを用いて第1板部材16Aの上部に締結することで、昇降テーブル12は第1板部材16Aと一体に昇降する。
一対の側部部材1206には、荷物載置機構20を取り付けるための第2山形鋼1210が取り付けられている。
なお、本実施の形態では昇降機構16として市販品であるマスト式昇降機構を用いているが、昇降機構16はマスト式昇降機構に限定されず、昇降機構16にはシーザースリンク式昇降機構など従来公知の様々な方式のものが採用可能である。
【0010】
(荷物載置機構)
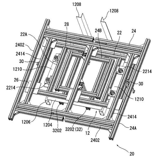
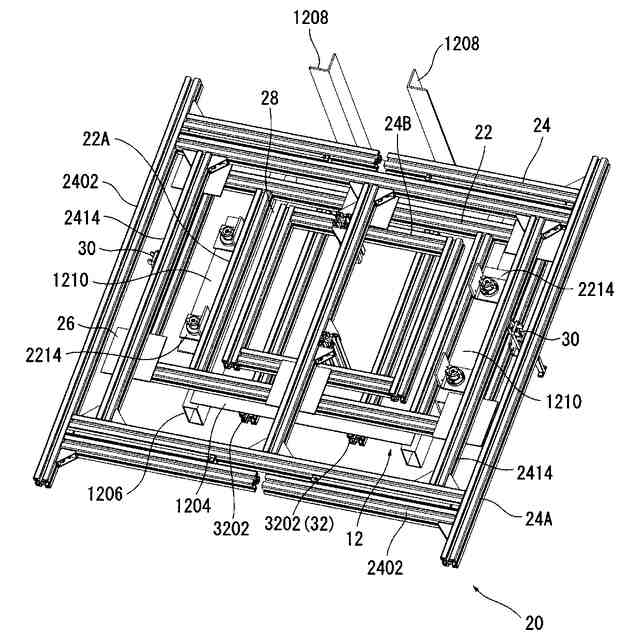
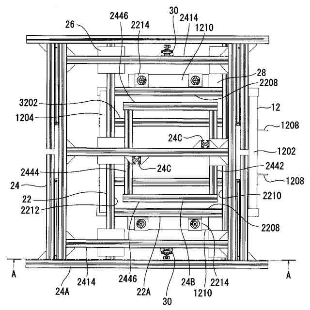
図5~図8に示すように、荷物載置機構20は、固定機構部22と、その上面に荷物載置部2402を有する可動機構部24と、水平方向支持機構26と、移動範囲規制機構28と、ロック機構30と、浮き上がり防止機構32とを備えている。
固定機構部22と可動機構部24とは、それぞれ複数の金属製または合成樹脂製の細長部材が組み立てられて構成され、本実施の形態では、市販品であるアルミ合金製の細長部材が用いられている。
(【0011】以降は省略されています)
この特許をJ-PlatPat(特許庁公式サイト)で参照する
関連特許
株式会社フジタ
合成床
26日前
株式会社フジタ
保護具
19日前
株式会社フジタ
緑化装置
24日前
株式会社フジタ
木質建築部材
28日前
株式会社フジタ
ビス打ち装置
25日前
株式会社フジタ
センサユニット
25日前
株式会社フジタ
窓用カバー部材
18日前
株式会社フジタ
結露対策設定装置
18日前
株式会社フジタ
駐車場緑化システム
24日前
株式会社フジタ
バイオガス改質装置
24日前
株式会社フジタ
地質性状予測システム
19日前
株式会社フジタ
バイオガス改質システム
24日前
株式会社フジタ
床衝撃音レベル予測システム
28日前
株式会社フジタ
荷物昇降装置用の荷物載置機構
24日前
株式会社フジタ
昆虫および昆虫の幼虫の飼育装置
20日前
株式会社フジタ
ビス補給装置およびビス打ちシステム
25日前
株式会社フジタ
ハーフプレキャスト梁とその製作方法
26日前
株式会社フジタ
飛沫感染、飛沫核感染防止のための衝立
18日前
株式会社フジタ
コンクリート養生装置およびコンクリートの養生方法
19日前
株式会社フジタ
バイオマスの乾燥システム及びバイオマスの乾燥方法
28日前
株式会社フジタ
連絡情報提供装置、連絡情報提供方法、及び連絡情報提供プログラム
25日前
株式会社フジタ
フレッシュコンクリートの品質評価装置およびフレッシュコンクリートの品質評価方法
25日前
株式会社フジタ
建物の内部を3次元計測するために計測位置を演算処理するための前処理方法、プログラム、及び前処理装置
25日前
株式会社フジタ
建物の内部を3Dスキャナを用いて3次元計測するための計測位置を決定するための探索方法、及びプログラム
25日前
個人
自走手摺
3か月前
ユニパルス株式会社
吊具
4か月前
個人
海上コンテナ昇降装置
10か月前
ユニパルス株式会社
荷役装置
9か月前
ユニパルス株式会社
吊具装置
11か月前
ユニパルス株式会社
リフト装置
5か月前
株式会社豊田自動織機
産業車両
11か月前
株式会社豊田自動織機
荷役車両
9か月前
株式会社いうら
車椅子用昇降機
2か月前
水戸工業株式会社
吊り具
6か月前
株式会社豊田自動織機
産業車両
1か月前
株式会社豊田自動織機
荷役車両
10か月前
続きを見る
他の特許を見る