TOP
|
特許
|
意匠
|
商標
特許ウォッチ
Twitter
他の特許を見る
公開番号
2025165509
公報種別
公開特許公報(A)
公開日
2025-11-05
出願番号
2024069586
出願日
2024-04-23
発明の名称
小型クレーン
出願人
個人
代理人
個人
主分類
B66C
23/18 20060101AFI20251028BHJP(巻上装置;揚重装置;牽引装置)
要約
【課題】ユニック車の通行できない幅の狭い場所で石材の設置などを一人の作業員で可能とする小型クレーンを提供する。
【解決手段】1対のキャタピラで走行する石材運搬車Aに取り付け、取り外し、折り畳みが可能なクレーンBであって、石材運搬車Aの進行方向に対して横方向に動かすことができるアウトリガ21を備える。クレーンBの固定支柱11の下端部は切り欠き状になっていて、ここにアウトリガ21を通し、固定支柱11の下端部に固着した外れ止め金具11aの挿入孔からアウトリガ21に設けた挿入孔21aに落込み棒11cを落し込むので、固定支柱11とアウトリガ21とが固定される。固定支柱11に挿通される回転支柱13の下方に設けられた方向決めピンが、固定支柱11に固定されている方向転換具14のピン孔に挿入されると、回転支柱13の上部と連結するブーム16の位置が定まる。
【選択図】図2
特許請求の範囲
【請求項1】
石材の運搬、設置や撤去に用いられる小型クレーンであって、1対のキャタピラで走行する石材運搬車に取り付け、取り外し、折り畳みが可能であり、前記石材運搬車の進行方向に対して横方向に動かすことができるアウトリガを備えたことを特徴とする小型クレーン。
続きを表示(約 460 文字)
【請求項2】
前記石材運搬車の機械室の前方にある鳥居に固定金具で固定支柱を固定することを特徴とする請求項1に記載の小型クレーン。
【請求項3】
固定支柱の上端の開口部から挿通される回転支柱の下方に設けられた方向決めピンを、前記固定支柱の上端部に固定されている方向転換具の複数個あるピン孔のいずれか1個に挿入することを特徴とする請求項1に記載の小型クレーン。
【請求項4】
前記アウトリガは、前記石材運搬車の荷台に設けられた1対のアウトリガ固定枠の内側を摺動可能であり、アウトリガ固定ネジで前記アウトリガ固定枠に前記アウトリガを固定することを特徴とする請求項1に記載の小型クレーン。
【請求項5】
固定支柱の下端部は切欠き状であり、前記アウトリガの上面と当接する箇所に外れ止め金具が固着され、該外れ止め金具の前記固定支柱からの外延箇所に設けられた挿入孔と前記アウトリガに設けられた挿入孔の両者に落込み棒を落し込むことを特徴とする請求項4に記載の小型クレーン。
発明の詳細な説明
【技術分野】
【0001】
本発明は、ユニック車が通行できない現場において石材の運搬、設置や撤去などに用いられ、石材運搬車の荷台に容易に取り付け、取り外しができる小型クレーンに関する。
続きを表示(約 2,100 文字)
【背景技術】
【0002】
墓石として用いられる石材は通常100kg以上あるため、重量が約2tもあるミニクローラークレーン(「カニクレーン」という名称が定着している)を使ったり、二人以上で持ち運んだり、三脚を使って2人以上で作業したりしてきた。
石材の設置や撤去などに用いられるような比較的小型のクレーンに関する特許や実用新案は多数出願されているが、特許文献1、2もその一つである。
特許文献1には折り畳めるので効率よい作業ができる考案が開示されている。 特許文献2には、小型軽量でトラック荷台に容易に取り付けたり、取り外したりが可能な簡易型クレーンが開示されている。
【先行技術文献】
【特許文献】
【0003】
公開実用昭和55-167986号公報
特開2008-273736号公報
【発明の概要】
【発明が解決しようとする課題】
【0004】
特許文献1の考案は、狭い現場での作業に適しているが、キャスタで移動するので、次のような問題がある。すなわち、墓地のように地表面が砂や土の場所では、キャスタでは移動できないのである。
特許文献2の発明は、トラックの荷台に取り付けるので、狭い路や階段などのトラックが通行できない場所では使用できない。
そのため、本発明は、ユニック車が通行できない狭い通路や階段などのある現場に行って容易に石材を運搬したり設置したり撤去したりを可能とする小型クレーンを提供することを課題とする。
【0005】
ところで、石材の運搬、設置、撤去の作業は、今まで2人以上の人員を必要としていた。しかし、近年少子化が進み働き世代は減少の一途であり、一人だけでも作業を可能とすることが喫緊の課題となっている。そのため、一人でも楽に安全に作業ができることが望まれる。
【課題を解決するための手段】
【0006】
前記の課題解決のために、請求項1に係る発明は、
ユニック車が通行できない(例えば、墓地内の通路のように幅の狭い道や階段を通る)現場において石材の運搬、設置や撤去を可能とする小型クレーンであって、1対のキャタピラで走行する石材運搬車に取り付け、取り外し、折り畳みが可能であり、前記石材運搬車の進行方向に対して横方向に動かすことができるアウトリガを備えたことを特徴とする。
【0007】
一人で作業をすることを想定しているので、石材運搬車がバランスを崩して石材を落下させたり欠けさせたりすることがあってはならない。石材の上げ下ろし場所によっては作業運搬車が左右のいずれかに傾くことがある。そこで、傾きやすい方にアウトリガを当てられるようにアウトリガは容易に横方向に動かせるようにするのである。
キャタピラを使用するのは、砂や土の上を通行したり階段を上り下りしたりすることが想定されるからである。
【0008】
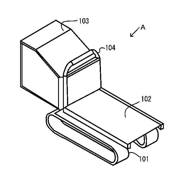
前記石材運搬車の機械室の前方にある鳥居に固定金物で支柱を固定するとよい。
固定支柱の上端の開口部から挿入される回転支柱の下方に設けられた方向決めピンを、前記固定支柱の上端部に固定されている方向転換具の複数個あるピン孔のいずれか1個に挿入するとよい。これによって、回転支柱が固定支柱に対して固定されるとともに、回転支柱の上部に取り付けられたブームの方向が定まるからである。例えば、石材を吊り下げた後、方向決めピンを外して回転支柱を軸に対して回転させてそれに伴いブームを旋回させる。石材の昇降時には方向決めピンを方向転換具のピン孔に挿入してブームの水平方向および垂直方向に対する角度を定める、といった使い方をする。
【0009】
前記アウトリガは、前記石材運搬車の荷台に設けられた1対のアウトリガ固定枠の内側を摺動可能であり、アウトリガ固定ネジで前記アウトリガ固定枠に前記アウトリガを固定するとよい。これによって、アウトリガは前記荷台に固定されることになる。
また、固定支柱の下端部は切欠き状であり、前記アウトリガの上面と当接する箇所に外れ止め金具が固着され、該外れ止め金具の前記固定支柱からの外延箇所に設けられた挿入孔と前記アウトリガに設けられた挿入孔の両者に落込み棒を落し込むとよい。 これによって、固定支柱にアウトリガが固定され、クレーンの使用中にアウトリガが動いたりぐらついたりすることを防止できる。
【発明の効果】
【0010】
本発明のクレーンを使用するならば、墓地通路のように狭い場所へ100kgくらいある石材を運搬したり上げ下ろしたりが一人でもできる。これにより、少子化が進む中での労働力不足を補える。
現場でクレーンを組み立てて、通常のクローラクレーンと同様に石材の設置、撤去などの作業が行える。石材を設置あるいは撤去する現場での利用時以外は、クレーンを石材運搬車から取り外したり、クレーンの構成部材を折り畳んだりできるので、扱いが簡単であり、使用しないときは場所を取らずに収納できる。
【図面の簡単な説明】
(【0011】以降は省略されています)
この特許をJ-PlatPat(特許庁公式サイト)で参照する
関連特許
個人
自走手摺
4か月前
個人
転落防止階段
28日前
個人
小型クレーン
22日前
ユニパルス株式会社
吊具
5か月前
個人
海上コンテナ昇降装置
11か月前
ユニパルス株式会社
荷役装置
10か月前
ユニパルス株式会社
吊具装置
12か月前
株式会社いうら
車椅子用昇降機
4か月前
株式会社豊田自動織機
荷役車両
11か月前
ユニパルス株式会社
リフト装置
6か月前
株式会社豊田自動織機
産業車両
2か月前
水戸工業株式会社
吊り具
7か月前
株式会社豊田自動織機
荷役車両
10か月前
岐阜工業株式会社
運搬台車
29日前
白山工業株式会社
バランサ
8か月前
個人
エアバック式レスキュー用品
1か月前
愛知製鋼株式会社
受け架台
3か月前
大栄産業株式会社
クランプ
6か月前
株式会社伊藤
滑り止め装置
3か月前
株式会社大林組
安全支援システム
3か月前
ユニパルス株式会社
荷役助力装置
5か月前
ユニパルス株式会社
荷役助力装置
7か月前
個人
垂直自動搬送機
2か月前
ユニパルス株式会社
荷役助力装置
4か月前
株式会社ユピテル
システム等
7か月前
株式会社キトー
タイヤ用吊具
7か月前
個人
アウトリガー用転倒防止ベース
21日前
株式会社豊田自動織機
フォークリフト
9か月前
フジテック株式会社
エレベータ
10か月前
中国計量大学
電子安全クランプ
1か月前
新英運輸株式会社
自動車用台車
7か月前
株式会社五十鈴製作所
搬送装置
5か月前
株式会社豊田自動織機
フォークリフト
2か月前
株式会社キトー
コンテナ吊り具
1日前
大和ハウス工業株式会社
吊上具
3か月前
有限会社サエキ
玉掛用器具
11か月前
続きを見る
他の特許を見る