TOP
|
特許
|
意匠
|
商標
特許ウォッチ
Twitter
他の特許を見る
公開番号
2025060322
公報種別
公開特許公報(A)
公開日
2025-04-10
出願番号
2023170998
出願日
2023-09-30
発明の名称
システム等
出願人
株式会社ユピテル
代理人
個人
主分類
B66F
9/24 20060101AFI20250403BHJP(巻上装置;揚重装置;牽引装置)
要約
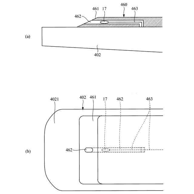
【課題】 車体部に対して相対的に移動可能な作業部に実装するカメラを駆動するバッテリの充電に関する技術を提供する。
【解決手段】 作業部422に、第2撮影装置17と、第2撮影装置に電力を供給するバッテリ19を備える。作業部のフォーク402が駐車時に停止すべき高さに位置すると、バッテリに通電する受電部433と、車両バッテリ415に通電する給電部417が対向し、充電する。フォークが作業中の位置にあるときは、受電部と給電部が対向せず、充電されない。
【選択図】 図17
特許請求の範囲
【請求項1】
車体部と、前記車体部に対して相対的に移動可能な作業部を備える車両に用いられるシステムであって、
前記作業部に、カメラと、前記カメラに電力を供給するバッテリを備え、
前記車体部に対して前記作業部が所定の第1の位置関係にある第1状態では、給電手段から前記バッテリへの給電経路が繋がる
システム。
続きを表示(約 890 文字)
【請求項2】
前記第1の位置関係は、前記作業部を用いた作業を行わないときに採られる所定の位置関係である
請求項1に記載のシステム。
【請求項3】
前記第1状態は、前記作業部を用いた作業が終了したときにユーザが行うべき所定操作に基づく前記作業部の状態である
請求項2に記載のシステム。
【請求項4】
前記車両はフォークリフトであり、
前記第1状態は、前記作業部を構成するフォークが駐車時に停止すべき高さに位置する状態とする
請求項3に記載のシステム。
【請求項5】
前記第1状態は、前記駐車時に停止すべき高さに位置する前記フォークが、先端を下方に傾斜している状態とする
請求項4に記載のシステム。
【請求項6】
前記作業部が前記第1状態の場合、前記バッテリに電気的に接続される受電部と、前記給電手段の給電部が接触あるいは近接することにより前記給電経路が繋がる
請求項5に記載のシステム。
【請求項7】
前記車体部に対する前記作業部の位置関係が前記作業部の作業中に採られる第2の位置関係である第2状態では、前記給電手段から前記バッテリへの前記給電経路が断たれる
請求項6に記載のシステム。
【請求項8】
前記作業部が前記第2状態の場合、前記バッテリに電気的に接続される受電部と、前記給電手段の給電部が離反して前記給電経路が絶たれる
請求項7に記載のシステム。
【請求項9】
前記バッテリは、前記カメラが収納されるケースに一体的に装着され、
前記ケースの外部に引き出されたケーブルの先端側に前記受電部が設けられ、
前記受電部は、前記第1状態のときに前記給電手段に接続される給電部に対向する
請求項6に記載のシステム。
【請求項10】
前記ケースに、前記カメラで撮影した画像を送信する無線通信部を実装する請求項9に記載のシステム。
(【請求項11】以降は省略されています)
発明の詳細な説明
【技術分野】
【0001】
本発明は、例えばシステム等に関するものである。
続きを表示(約 1,600 文字)
【背景技術】
【0002】
例えば、フォークリフトの前方を撮影し、撮影した画像をモニタに表示し、運転者が前方を確認する技術がある(例えば特許文献1)。
【先行技術文献】
【特許文献】
【0003】
特開2003-246597号公報
【発明の概要】
【発明が解決しようとする課題】
【0004】
本発明の目的の一つは、従来よりも優れた技術を提供することで、例えば、車体部と作業部とを備える車両において、作業部に備えられるカメラを駆動するためのバッテリの充電に関する技術を提供することである。
【0005】
上述した課題はそれぞれ独立したものとして記載しているものであり、本発明は、必ずしも記載した課題の全てを解決できる必要はない。本願の発明の目的はこれに限定されず、本明細書及び図面等に開示される構成の部分から奏する効果を得ることを目的とする構成についても分割出願・補正等により権利取得する意思を有する。例えば本明細書において「~できる」と記載した箇所を「~が課題である」と読み替えた課題が本明細書には開示されている。課題はそれぞれ独立したものとして記載しているものであり、この課題を解決するための構成についても単独で分割出願・補正等により権利取得する意思を有する。課題が明細書の記載から黙示的に把握されるものであっても、本出願人は本明細書に記載の構成の一部を補正又は分割出願にて特許請求の範囲とする意思を有する。またこれら独立の課題を組み合わせた課題も開示されている。
【課題を解決するための手段】
【0006】
(1)車体部と、前記車体部に対して相対的に移動可能な作業部を備える車両に用いられるシステムであって、前記作業部に、カメラと、前記カメラに電力を供給するバッテリを備え、前記車体部に対して前記作業部が所定の第1の位置関係にある第1状態では、給電手段から前記バッテリへの給電経路が繋がるシステムが提供されるとよい。
【0007】
このようにすると、車体部に対して作業部が所定の第1の位置関係にある第1状態になると、給電経路が繋がり、バッテリへ充電を行える状態にすることができる。
【0008】
(2)前記第1の位置関係は、前記作業部を用いた作業を行わないときに採られる所定の位置関係であるとよい。このようにすると、車体部に対して作業部が、作業部を用いた作業を行わないときに採られる所定の位置関係になると、給電経路が繋がり、バッテリへ充電を行える状態にすることができる。このような第1の位置関係としては、例えば、作業の終了後、作業の開始前、作業の中断中の状態のいずれかとするとよいが、作業の終了後とすると特によい。この場合のシステムは、作業終了後に充電を行うことができ、バッテリを充電するための時間が確保できる。
【0009】
(3)前記第1状態は、前記作業部を用いた作業が終了したときにユーザが行うべき所定操作に基づく前記作業部の状態であるとよい。
【0010】
このようにすると、前記作業部を用いた作業が終了したときにユーザが行うべき所定の操作をすると、給電経路が繋がり、バッテリへ充電を行える状態にすることができる。作業が終了したときにユーザが行うべき所定の操作は、法令や運用その他の基準によって定められた操作とするとよい。作業が終了したときにユーザが行うべき所定の操作は、正しく作業を終了させたユーザにとって自然な操作とするとよく、このような自然な操作に基づき作業部は第1状態になり、自然とバッテリの充電ができる。作業部を用いた作業が終了したときとしては、例えば、車両の駐車時、車両の電源又は駆動源をオフしたとき、あるいは、車両からユーザが降車したときとするとよい。
(【0011】以降は省略されています)
この特許をJ-PlatPat(特許庁公式サイト)で参照する
関連特許
株式会社ユピテル
出射装置
28日前
株式会社ユピテル
システム等
1か月前
株式会社ユピテル
光照射システム
14日前
株式会社ユピテル
装置およびプログラム等
3日前
株式会社ユピテル
電子機器、プログラム等
1か月前
株式会社ユピテル
撮影装置及びシステム等
9日前
株式会社ユピテル
システム及びプログラム
24日前
株式会社ユピテル
システム及びプログラム
1か月前
株式会社ユピテル
システム及びプログラム
1か月前
株式会社ユピテル
システム及びプログラム等
2か月前
株式会社ユピテル
システム、及びプログラム等
28日前
株式会社ユピテル
システムおよびプログラム等
2か月前
株式会社ユピテル
システムおよびプログラム等
24日前
株式会社ユピテル
車両用システム及びプログラム
1か月前
株式会社ユピテル
撮影装置及びドライブレコーダー等
22日前
株式会社ユピテル
電子機器と、静止画を動画化するサーバと、プログラム等
1か月前
株式会社ユピテル
車載機,解錠システム,システムおよび車載機を制御する方法
16日前
株式会社ユピテル
撮像装置、システム、及びこのシステムを装備したフォークリフト
3日前
個人
自走手摺
4か月前
個人
転落防止階段
22日前
ユニパルス株式会社
吊具
5か月前
個人
小型クレーン
16日前
個人
海上コンテナ昇降装置
11か月前
ユニパルス株式会社
吊具装置
11か月前
ユニパルス株式会社
荷役装置
10か月前
水戸工業株式会社
吊り具
7か月前
株式会社豊田自動織機
産業車両
2か月前
株式会社いうら
車椅子用昇降機
3か月前
株式会社豊田自動織機
荷役車両
11か月前
株式会社豊田自動織機
荷役車両
10か月前
ユニパルス株式会社
リフト装置
5か月前
岐阜工業株式会社
運搬台車
23日前
個人
エアバック式レスキュー用品
1か月前
大栄産業株式会社
クランプ
6か月前
愛知製鋼株式会社
受け架台
3か月前
ユニパルス株式会社
荷役助力装置
5か月前
続きを見る
他の特許を見る