TOP
|
特許
|
意匠
|
商標
特許ウォッチ
Twitter
他の特許を見る
10個以上の画像は省略されています。
公開番号
2025132049
公報種別
公開特許公報(A)
公開日
2025-09-10
出願番号
2024029366
出願日
2024-02-29
発明の名称
垂直自動搬送機
出願人
個人
代理人
個人
,
個人
主分類
B66B
17/20 20060101AFI20250903BHJP(巻上装置;揚重装置;牽引装置)
要約
【課題】構成の簡略化、設置スペースの縮小化、搬送作業の容易化を図ることができる垂直自動搬送機を提供すること。
【解決手段】本願発明による垂直自動搬送機によると、上下方向に延長された搬送路内を移動される篭と、上記篭内に収容されるパレットと、を具備し、上記パレットは自走して上記篭に出入りすることを特徴とするものであり、それによって、構成の簡略化、設置スペースの縮小化、搬送作業の容易化といった効果を得ることができる。
【選択図】図5
特許請求の範囲
【請求項1】
上下方向に延長された搬送路内を移動される篭と、
上記篭内に収容されるパレットと、
を具備し、
上記パレットは自走して上記篭に出入りすることを特徴とする垂直自動搬送機。
続きを表示(約 1,000 文字)
【請求項2】
請求項1記載の垂直自動搬送機において、
上記パレットは無限軌道によって自走することを特徴とする垂直自動搬送機械。
【請求項3】
請求項2記載の垂直自動搬送機において、
上記無限軌道はループ状のチェーンであることを特徴とする垂直自動搬送機。
【請求項4】
請求項3記載の垂直自動搬送機において、
上記ループ状のチェーンは上記パレットの幅方向両側のそれぞれに設置されていて、
上記ループ状のチェーンの両方が1つのモータによって駆動されることを特徴とする垂直自動搬送機。
【請求項5】
請求項3記載の垂直自動搬送機において、
上記ループ状のチェーンは上記パレットの幅方向両側のそれぞれに設置されていて、
上記ループ状のチェーンのそれぞれに対応したモータによって駆動されることを特徴とする垂直自動搬送機。
【請求項6】
請求項4又は請求項5記載の垂直自動搬送機において、
上記ループ状のチェーンは上記パレットの外形を囲うことを特徴とする垂直自動搬送機。
【請求項7】
請求項1記載の垂直自動搬送機において、
上記篭は各階にて停止され、
上記篭が減速を開始する位置を検出する篭減速位置検出センサが設けられていることを特徴とする垂直自動搬送機。
【請求項8】
請求項1記載の垂直自動搬送機において、
上記篭は各階にて停止され、
上記篭の停止位置を検出する篭停止位置検出センサが設けられていることを特徴とする垂直自動搬送機。
【請求項9】
請求項1記載の垂直自動搬送機において、
上記篭は各階にて停止され、
上記パレットは上記篭が停止された際に上記篭に出入り可能であり、
上記篭内には上記パレットが減速を開始する位置を検出するパレット減速位置検出センサが設けられていることを特徴とする垂直自動搬送機。
【請求項10】
請求項1記載の垂直自動搬送機において、
上記篭は各階にて停止され、
上記パレットは上記篭が停止された際に上記篭に出入り可能であり、
上記篭内には上記パレットの停止位置を検出するパレット停止位置検出センサが設けられていることを特徴とする垂直自動搬送機。
(【請求項11】以降は省略されています)
発明の詳細な説明
【技術分野】
【0001】
本発明は、複数の階に被搬送物を搬送する垂直自動搬送機に係り、特に、構成の簡略化、設置スペースの縮小化、搬送作業の容易化を図ることができるように工夫したものに関する。
続きを表示(約 5,300 文字)
【背景技術】
【0002】
従来の垂直自動搬送機の構成を開示するものとして、例えば、特許文献1がある。
特許文献1に記載された垂直自動搬送機は概略次のような構成になっている。まず、建物内の上下に延長された搬送路内に搬送リフトが昇降可能に設置されている。上記搬送リフト内に荷物が搭載された運搬車が搬入・搬出される。
上記搬送リフトは上記建物の1階又は2階で停止される。上記運搬車は、上記搬送リフト内に設置されたチェーンコンベア、及び、上記建物の1階及び2階に設置された補助チェーンコンベアによって搬出・搬入される。
【先行技術文献】
【特許文献】
【0003】
実開昭55-92682号公報
【発明の概要】
【発明が解決しようとする課題】
【0004】
上記従来の構成では次のような問題があった。
搬送リフトには運搬車の搬入・搬出を行うチェーンコンベアが設置されており、又、建物の1階及び2階にも運搬車を上記搬送リフトに搬入・搬出するための補助チェーンコンベアが設置されていて、全体として構成が大掛かりで複雑であるという問題があった。
又、作業者が上記搬送車を上記補助チェーンコンベアに載せなければならず、搬送作業が面倒であるという問題があった。
又、補助チェーンコンベアの高さ分、段差解消のためのスロープを長く設置しなければならず、その為、垂直自動搬送機に要する面積を広く必要としてしまうという問題があった。
【0005】
本発明はこのような点に基づいてなされたものでその目的とするところは、構成の簡略化、設置スペースの縮小化、搬送作業の容易化を図ることができる垂直自動搬送機を提供することにある。
【課題を解決するための手段】
【0006】
上記目的を達成するべく本願発明の請求項1による垂直自動搬送機は、上下方向に延長された搬送路内を移動される篭と、上記篭内に収容されるパレットと、を具備し、上記パレットは自走して上記篭に出入りすることを特徴とするものである。
又、請求項2による垂直自動搬送機は、請求項1記載の垂直自動搬送機において、上記パレットは無限軌道によって自走することを特徴とするものである。
又、請求項3による垂直自動搬送機は、請求項2記載の垂直自動搬送機において、上記無限軌道はループ状のチェーンであることを特徴とするものである。
又、請求項4による垂直自動搬送機は、請求項3記載の垂直自動搬送機において、上記ループ状のチェーンは上記パレットの幅方向両側のそれぞれに設置されていて、上記ループ状のチェーンの両方が1つのモータによって駆動されることを特徴とするものである。
又、請求項5による垂直自動搬送機は、請求項3記載の垂直自動搬送機において、上記ループ状のチェーンは上記パレットの幅方向両側のそれぞれに設置されていて、上記ループ状のチェーンのそれぞれに対応したモータによって駆動されることを特徴とするものである。
又、請求項6による垂直自動搬送機は、請求項4又は請求項5記載の垂直自動搬送機において、上記ループ状のチェーンは上記パレットの外形を囲うことを特徴とするものである。
又、請求項7による垂直自動搬送機は、請求項1記載の垂直自動搬送機において、上記篭は各階にて停止され、上記篭が減速を開始する位置を検出する篭減速位置検出センサが設けられていることを特徴とするものである。
又、請求項8による垂直自動搬送機は、請求項1記載の垂直自動搬送機において、上記篭は各階にて停止され、上記篭の停止位置を検出する篭停止位置検出センサが設けられていることを特徴とするものである。
又、請求項9による垂直自動搬送機は、請求項1記載の垂直自動搬送機において、上記篭は各階にて停止され、上記パレットは上記篭が停止された際に上記篭に出入り可能であり、上記篭内には上記パレットが減速を開始する位置を検出するパレット減速位置検出センサが設けられていることを特徴とするものである。
又、請求項10による垂直自動搬送機は、請求項1記載の垂直自動搬送機において、上記篭は各階にて停止され、上記パレットは上記篭が停止された際に上記篭に出入り可能であり、上記篭内には上記パレットの停止位置を検出するパレット停止位置検出センサが設けられていることを特徴とするものである。
又、請求項11による垂直自動搬送機は、請求項1記載の垂直自動搬送機において、上記篭は各階にて停止され、上記パレットは上記篭が停止された際に上記篭に出入り可能であり、上記各階には上記パレットが減速を開始する位置を検出するパレット減速位置検出センサが設けられていることを特徴とするものである。
又、請求項12による垂直自動搬送機は、請求項1記載の垂直自動搬送装機において、上記篭は各階にて停止され、上記パレットは上記篭が停止された際に上記篭に出入り可能であり、上記各階には上記パレットの停止位置を検出するパレット停止位置検出センサが設けられていることを特徴とするものであるる。
又、請求項13による垂直自動搬送機は、請求項1記載の垂直自動搬送機において、上記パレットの上記篭からのはみ出しを検出するはみ出し検出センサが設けられていることを特徴とするものである。
【発明の効果】
【0007】
以上述べたように本願発明の請求項1による垂直自動搬送機によると、上下方向に延長された搬送路内を移動される篭と、上記篭内に収容されるパレットと、を具備し、上記パレットは自走して上記篭に出入りする構成になっているので、構成の簡略化、設置スペースの縮小化、搬送作業の容易化を図ることができる。
又、請求項2による垂直自動搬送機によると、請求項1記載の垂直自動搬送機において、上記パレットは無限軌道によって自走する構成になっているので、構成をより簡略化することができる。
又、請求項3による垂直自動搬送機によると、請求項2記載の垂直自動搬送機において、上記無限軌道はループ状のチェーンであるので、構成をより簡略化することができる。
又、請求項4による垂直自動搬送機によると、請求項3記載の垂直自動搬送機において、上記ループ状のチェーンは上記パレットの幅方向両側のそれぞれに設置されていて、上記ループ状のチェーンの両方が1つのモータによって駆動される構成になっているので、構成をより簡略化することができる。又、両側のチェーンを同時に正確に駆動させることができる。
又、請求項5による垂直自動搬送機によると、請求項3記載の垂直自動搬送機において、上記ループ状のチェーンは上記パレットの幅方向両側のそれぞれに設置されていて、上記ループ状のチェーンのそれぞれに対応したモータによって駆動される構成になっているので、両側のチェーンを確実に駆動させることができ、モータの小型化を図ることができる。
又、請求項6による垂直自動搬送機によると、請求項4又は請求項5記載の垂直自動搬送機において、上記ループ状のチェーンは上記パレットの外形を囲う構成になっているので、開口部を大きく確保でき、被搬送物の搬入作業及び搬出作業の容易化を図ることができる。
又、請求項7による垂直自動搬送機によると、請求項1記載の垂直自動搬送機において、上記篭は各階にて停止され、上記篭が減速を開始する位置を検出する篭減速位置検出センサが設けられているので、上記篭を適切に減速させることができる。
又、請求項8による垂直自動搬送機によると、請求項1記載の垂直自動搬送機において、上記篭は各階にて停止され、上記篭の停止位置を検出する篭停止位置検出センサが設けられているので、上記篭を適切に停止させることができる。
又、請求項9による垂直自動搬送機によると、請求項1記載の垂直自動搬送機において、上記篭は各階にて停止され、上記パレットは上記篭が停止された際に上記篭に出入り可能であり、上記篭内には上記パレットが減速を開始する位置を検出するパレット減速位置検出センサが設けられているので、上記パレットを適切に減速させることができる。
又、請求項10による垂直自動搬送機によると、請求項1記載の垂直自動搬送機において、上記篭は各階にて停止され、上記パレットは上記篭が停止された際に上記篭に出入り可能であり、上記篭内には上記パレットの停止位置を検出するパレット停止位置検出センサが設けられているので、上記パレットを適切に停止させることができる。
又、請求項11による垂直自動搬送機によると、請求項1記載の垂直自動搬送機において、上記篭は各階にて停止され、上記パレットは上記篭が停止された際に上記篭に出入り可能であり、上記各階には上記パレットが減速を開始する位置を検出するパレット減速位置検出センサが設けられているので、上記パレットを適切に減速させることができる。
又、請求項12による垂直自動搬送機によると、請求項1記載の垂直自動搬送装機において、上記篭は各階にて停止され、上記パレットは上記篭が停止された際に上記篭に出入り可能であり、上記各階には上記パレットの停止位置を検出するパレット停止位置検出センサが設けられているので、上記パレットを適切に停止させることができる。
又、請求項13による垂直自動搬送機によると、請求項1記載の垂直自動搬送機において、上記パレットの上記篭からのはみ出しを検出するはみ出し検出センサが設けられているので、上記パレットの上記篭からのはみ出しを防止することができる。
【図面の簡単な説明】
【0008】
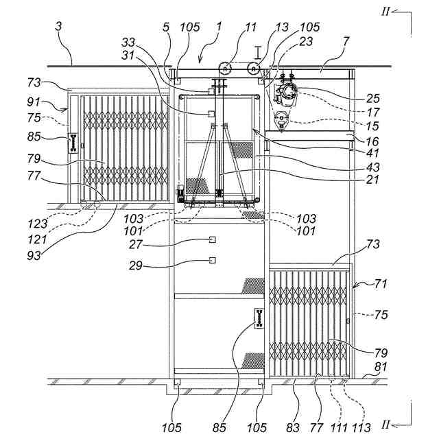
本発明の第1の実施の形態を示す図で、垂直自動搬送機の正面図である。
本発明の第1の実施の形態を示す図で、図1のII-II矢視図である。
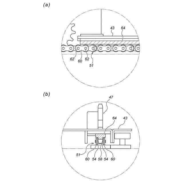
本発明の第1の実施の形態を示す図で、図3(a)はパレットを進行方向側から視た図、図3(b)は図3(a)のIIIb-IIIb矢視図である。
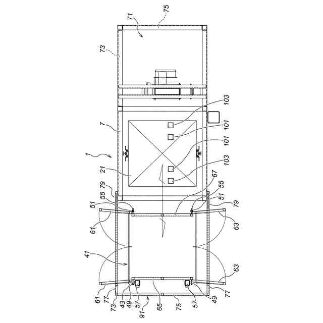
本発明の第1の実施の形態を示す図で、パレットの平面図である。
本発明の第1の実施の形態を示す図で、図5(a)は建物の2階にパレットを下ろした状態を示す図、図5(b)は2階側に移動させた篭にパレットを搬入した状態を示す図、図5(c)はパレットを搬入した篭を1階側に移動させた図、図5(d)は建物の1階にパレットを下ろした状態を示す図である。
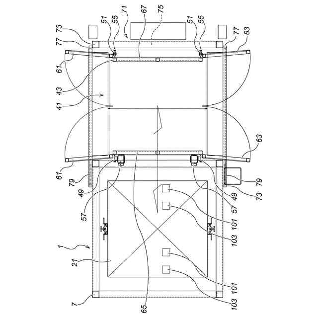
本発明の第1の実施の形態を示す図で、建物の2階にパレットを下ろした状態を示す2階部分の平面図である。
本発明の第1の実施の形態を示す図で、建物の1階にパレットを下ろした状態を示す1階部分の平面図である。
本発明の第1の実施の形態を示す図で、チェーンの構成を示す分解斜視図である。
本発明の第1の実施の形態を示す図で、図9(a)は図3(b)のIXa部の拡大図、図9(b)は図3(a)のIXbの拡大図である。
本発明の第2の実施の形態を示す図で、パレットを進行方向側から視た図である。
本発明の第3の実施の形態を示す図で、パレットの平面図である。
本発明の第4の実施の形態を示す図で、パレットの側面図である。
本発明の第5の実施の形態を示す図で、パレットの平面図である。
【発明を実施するための形態】
【0009】
以下、図1から図9を参照しながら、本発明の第1の実施の形態について説明する。
この第1の実施の形態による垂直自動搬送機1は、図1、図2に示すように、2階建ての建物3内に設置されている。上記建物3内には、図1中上下方向に延長された搬送路5がある。上記建物3内にはフレーム7が設置されている。上記フレーム7の図1中左側は上記搬送路5内に配置されている。
【0010】
上記フレーム7の図1中左側の上側には滑車11、13が設置されている。又、上記フレーム7の図1中右側の上側には滑車15と電動ホイスト17が設置されている。
上記搬送路5内には篭21が設置されている。上記篭21の図1中上側には昇降用ワイヤ23の先端が連結されている。上記昇降用ワイヤ23は上記滑車11、13、15に巻回され、基端側から上記電動ホイスト17のドラム25に巻き取られている。上記電動ホイスト17によって上記昇降用ワイヤ23を巻き取ることにより上記篭21を上昇させ、上記電動ホイスト17のドラム25から上記昇降用ワイヤ23を繰り出すことにより上記篭21を下降させる。
上記滑車15にはバランサ16が取り付けられていて、上記籠21の昇降動作の安定化を図っている。
(【0011】以降は省略されています)
この特許をJ-PlatPat(特許庁公式サイト)で参照する
関連特許
個人
自走手摺
2か月前
ユニパルス株式会社
吊具
3か月前
株式会社豊田自動織機
産業車両
20日前
ユニパルス株式会社
リフト装置
4か月前
株式会社いうら
車椅子用昇降機
2か月前
水戸工業株式会社
吊り具
5か月前
ユニパルス株式会社
荷役助力装置
2か月前
愛知製鋼株式会社
受け架台
1か月前
株式会社大林組
安全支援システム
1か月前
株式会社伊藤
滑り止め装置
1か月前
ユニパルス株式会社
荷役助力装置
3か月前
個人
垂直自動搬送機
21日前
ユニパルス株式会社
荷役助力装置
5か月前
大栄産業株式会社
クランプ
4か月前
株式会社キトー
タイヤ用吊具
5か月前
株式会社ユピテル
システム等
5か月前
株式会社五十鈴製作所
搬送装置
4か月前
株式会社豊田自動織機
フォークリフト
13日前
大和ハウス工業株式会社
吊上具
1か月前
新英運輸株式会社
自動車用台車
5か月前
中国計量大学
電子安全クランプ
2日前
山崎産業株式会社
手摺り拭用器具
22日前
中坪造園有限会社
吊り荷降ろし具
4か月前
フジテック株式会社
エスカレータ
5か月前
大和ハウス工業株式会社
パネル吊具
2か月前
若築建設株式会社
姿勢制御装置
5か月前
フジテック株式会社
エレベータ
3か月前
ベストテック株式会社
リフト用補助具
1か月前
フジテック株式会社
エレベータ
2日前
株式会社常磐ボーリング
吊り具
6か月前
日本車輌製造株式会社
建設機械
6か月前
日本車輌製造株式会社
建設機械
6か月前
株式会社大林組
作業支援システム
1か月前
大日本印刷株式会社
昇降補助装置
4か月前
住友重機械工業株式会社
クレーン
3か月前
住友重機械工業株式会社
作業機械
3か月前
続きを見る
他の特許を見る