TOP
|
特許
|
意匠
|
商標
特許ウォッチ
Twitter
他の特許を見る
公開番号
2025172335
公報種別
公開特許公報(A)
公開日
2025-11-26
出願番号
2024077794
出願日
2024-05-13
発明の名称
コンテナ吊り具
出願人
株式会社キトー
代理人
個人
主分類
B66C
1/14 20060101AFI20251118BHJP(巻上装置;揚重装置;牽引装置)
要約
【課題】コンテナが隙間なく平置きされている場合にもコンテナの吊上げが可能で、両手で支えながらコンテナを電動式巻上機で吊上げて安全に運搬する。
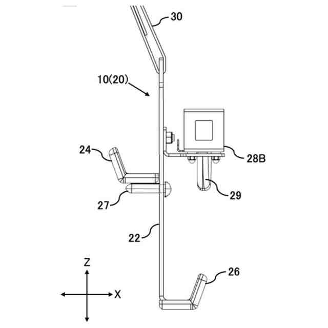
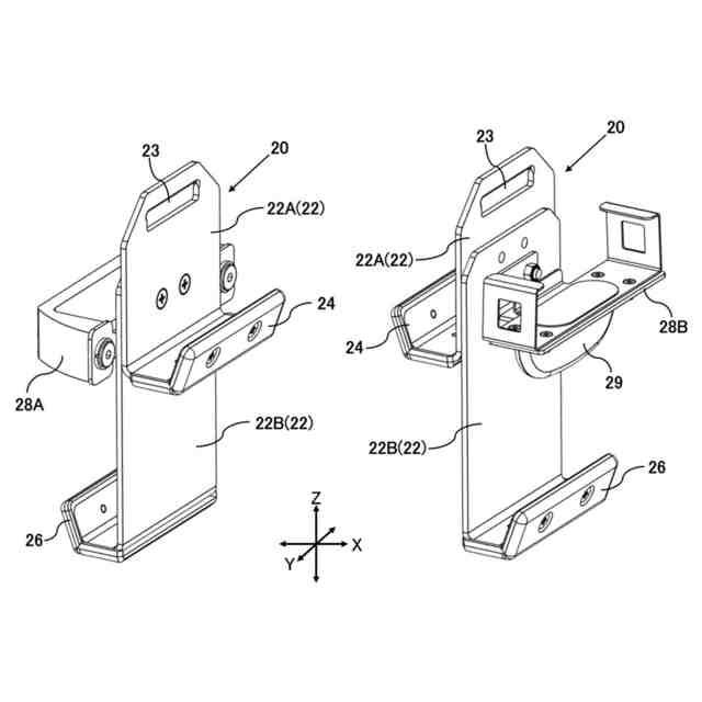
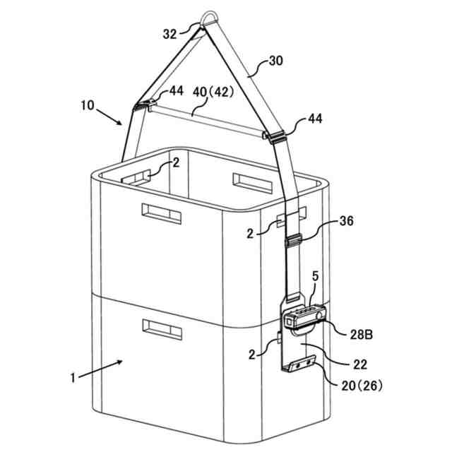
【解決手段】開口部(2)が形成されたコンテナ(1)を電動式巻上機を用いて吊り上げるためのコンテナ吊り具(10)であって、柔軟性を有する帯状体(30)と、該帯状体の両端に連結し前記開口部に掛止められる一対の係止部材(20)と、を備え、前記係止部材は、一端に前記帯状体が連結される板状の基体部と、該基体部の表面側において前記基体部の他端から前記一端側に離隔した位置から伸長する外掛け爪(24)と、前記基体部の裏面側において前記基体部の前記他端から伸長する内掛け爪(26)と、前記基体部の裏面側に設けられた取っ手(28A,28B)と、を有し、一方の前記係止部材の前記取っ手(28B)には前記電動式巻上機を操作するための操作装置を固定可能なホルダー部が形成されている。
【選択図】図1
特許請求の範囲
【請求項1】
把手するための開口部が対向する側面に形成された箱型のコンテナを電動式巻上機を用いて吊り上げるためのコンテナ吊り具であって、
柔軟性を有する帯状体と、該帯状体の両端に連結し前記開口部に掛け止められる一対の係止部材と、を備え、
前記係止部材は、一端に前記帯状体が連結される板状の基体部と、該基体部の表面側において前記基体部の他端から前記一端側に離隔した位置から伸長する外掛け爪と、前記基体部の裏面側において前記基体部の前記他端から伸長する内掛け爪と、前記基体部の裏面側に設けられた取っ手と、を有しており、
一方の前記係止部材の前記取っ手には前記電動式巻上機を操作するための操作装置を固定可能なホルダー部が形成されている、
ことを特徴とするコンテナ吊り具。
続きを表示(約 500 文字)
【請求項2】
前記操作装置は無線式の送信機であり、前記取っ手を握った状態で親指での押しボタン操作が可能に前記ホルダー部に取り付けられる、
ことを特徴とする請求項1に記載のコンテナ吊り具。
【請求項3】
前記外掛け爪は、前記基体部に対して摺動回転可能に取り付けられている、
ことを特徴とする請求項1又は2に記載のコンテナ吊り具。
【請求項4】
前記帯状体には、吊り下げた状態で一対の係止部材を離隔するための、コンテナ長辺より若干短いかほぼ同じ全長の離
隔用バーが設けられている、
ことを特徴とする請求項1又は2に記載のコンテナ吊り具。
【請求項5】
前記帯状体には、吊り下げた状態で一対の係止部材を離隔するための、コンテナ長辺より若干長い全長の離隔用バーが設けられている、
ことを特徴とする請求項3に記載のコンテナ吊り具。
【請求項6】
前記帯状体には、折り返すことで全長を調整可能とする調整金具が設けられている、
ことを特徴とする請求項1乃至5のいずれか1つに記載のコンテナ吊り具。
発明の詳細な説明
【技術分野】
【0001】
本発明は、箱型容器であるコンテナを吊り上げて運搬する際に用いるコンテナ吊り具に関する。
続きを表示(約 1,400 文字)
【背景技術】
【0002】
コンテナの把手となる開口部にフック金具を引っ掛け、吊り上げて運搬するためのコンテナ吊り具としては、例えば特許文献1に示すようなものが存在している。また特許文献1の図12には、コンテナを積み重ねた状態で吊り上げ運搬する際のコンテナ吊り具の使用態様が開示されている。
【先行技術文献】
【特許文献】
【0003】
特開平3-73792号公報
【発明の概要】
【発明が解決しようとする課題】
【0004】
ところで、特許文献1で開示されているコンテナ吊り具の構成では、コンテナを積み重ねた状態で吊り上げ運搬することができるものの、コンテナの開口部の外側からフック金具を挿し入れて掛け止める必要があるため、例えば複数のコンテナが隙間なく平置きされている場合などには、フック金具をコンテナ開口部に掛け止めることできなかった。
【0005】
また仮にコンテナの開口部の内側からフック金具を挿し入れて掛け止めた場合、コンテナを吊り上げた際にフック金具が内側に引き寄せられて開口部から外れてしまう虞があった。
【0006】
さらにコンテナ吊り具は、一般に電動ウィンチや電気チェーンブロックなどの電動式巻上機の下フックに連結されて使用されることが多いが、巻上機の操作装置である有線式または無線式の押しボタンスイッチはコンテナ吊り具と別に設けられているため、両手でコンテナを支えながら押しボタンスイッチを操作して運搬することはできなかった。
【0007】
本発明は上記の事情に鑑みなされたもので、両手で支えながらコンテナを電動式巻上機で吊り上げて運搬することを可能とし、また複数のコンテナが隙間なく平置きされている場合などにも安全にコンテナの吊り上げが可能なコンテナ吊り具を提供することを目的とする。
【課題を解決するための手段】
【0008】
[1]上記課題を解決するために、本発明の第1の観点によると、把手するための開口部が対向する側面に形成された箱型のコンテナを電動式巻上機を用いて吊り上げるためのコンテナ吊り具であって、柔軟性を有する帯状体と、該帯状体の両端に連結し前記開口部に掛け止められる一対の係止部材と、を備え、前記係止部材は、一端に前記帯状体が連結される板状の基体部と、該基体部の表面側において前記基体部の他端から前記一端側に離隔した位置から伸長する外掛け爪と、前記基体部の裏面側において前記基体部の前記他端から伸長する内掛け爪と、前記基体部の裏面側に設けられた取っ手と、を有しており、一方の前記係止部材の前記取っ手には前記電動式巻上機を操作するための操作装置を固定可能なホルダー部が形成されている、ことを特徴とするコンテナ吊り具が提供される。
【0009】
[2]また、本発明の他の側面は、上述の[1]に記載の発明において、前記操作装置は無線式の送信機であり、前記取っ手を握った状態で親指での押しボタン操作が可能に前記ホルダー部に取り付けられる、ことが好ましい。
【0010】
[3]また、本発明の他の側面は、上述の[1]又は[2]に記載の発明において、 前記外掛け爪は、前記基体部に対して摺動回転可能に取り付けられている、ことが好ましい。
(【0011】以降は省略されています)
この特許をJ-PlatPat(特許庁公式サイト)で参照する
関連特許
株式会社キトー
コンテナ吊り具
1日前
株式会社キトー
電気チェーンブロック
1か月前
個人
自走手摺
4か月前
個人
転落防止階段
28日前
個人
小型クレーン
22日前
ユニパルス株式会社
吊具
5か月前
個人
海上コンテナ昇降装置
11か月前
ユニパルス株式会社
荷役装置
10か月前
株式会社いうら
車椅子用昇降機
4か月前
株式会社豊田自動織機
産業車両
2か月前
株式会社豊田自動織機
荷役車両
11か月前
株式会社豊田自動織機
荷役車両
10か月前
水戸工業株式会社
吊り具
7か月前
ユニパルス株式会社
リフト装置
6か月前
株式会社大林組
安全支援システム
3か月前
個人
垂直自動搬送機
2か月前
株式会社伊藤
滑り止め装置
3か月前
白山工業株式会社
バランサ
8か月前
愛知製鋼株式会社
受け架台
3か月前
ユニパルス株式会社
荷役助力装置
4か月前
ユニパルス株式会社
荷役助力装置
7か月前
個人
エアバック式レスキュー用品
1か月前
ユニパルス株式会社
荷役助力装置
5か月前
岐阜工業株式会社
運搬台車
29日前
大栄産業株式会社
クランプ
6か月前
個人
アウトリガー用転倒防止ベース
21日前
株式会社キトー
タイヤ用吊具
7か月前
株式会社ユピテル
システム等
7か月前
株式会社豊田自動織機
フォークリフト
2か月前
株式会社豊田自動織機
フォークリフト
9か月前
中国計量大学
電子安全クランプ
1か月前
大和ハウス工業株式会社
吊上具
3か月前
フジテック株式会社
エレベータ
10か月前
株式会社キトー
コンテナ吊り具
1日前
新英運輸株式会社
自動車用台車
7か月前
株式会社五十鈴製作所
搬送装置
5か月前
続きを見る
他の特許を見る