TOP
|
特許
|
意匠
|
商標
特許ウォッチ
Twitter
他の特許を見る
公開番号
2025154859
公報種別
公開特許公報(A)
公開日
2025-10-10
出願番号
2024058099
出願日
2024-03-29
発明の名称
電気チェーンブロック
出願人
株式会社キトー
代理人
IAT弁理士法人
主分類
B66D
3/20 20060101AFI20251002BHJP(巻上装置;揚重装置;牽引装置)
要約
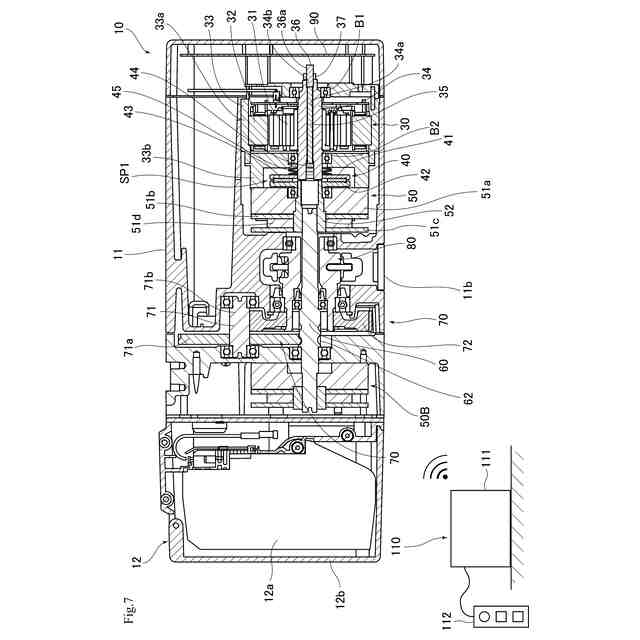
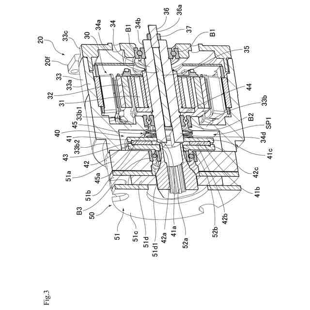
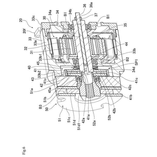
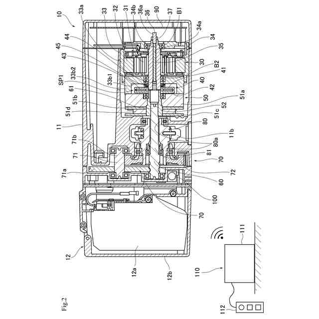
【課題】小型で高効率なモータの使用が可能で、かつフリクションクラッチ機構とブレーキ機構を隣接配置して小型化した電気チェーンブロックを提供する。
【解決手段】電気チェーンブロック10は、ロードシーブ80と、ロードシーブ80を回転させるモータ30と、モータ30からの駆動力をロードシーブ80へ伝達させる駆動伝達軸60と、駆動伝達軸60の回転を停止させる制動力を与えるブレーキ機構50と、モータ軸34の軸方向の端部側に配置される入力側ディスク41と、ブレーキハブ52に配置され駆動伝達軸60へ駆動力を伝達する出力側ディスク42と、入力側ディスク41と出力側ディスク42の間で挟持される摩擦板43と、摩擦板43(摩擦部材)を入力側ディスク41および出力側ディスク42に付勢力を及ぼす皿バネ体45とを備えるフリクションクラッチ機構40と、を備えている。
【選択図】図2
特許請求の範囲
【請求項1】
荷を掛けるフックに連結されたロードチェーンの巻き上げまたは巻き下げを行う電気チェーンブロックであって、
回転によって前記ロードチェーンの巻き上げまたは巻き下げを行うロードシーブと、
前記ロードシーブを回転させる駆動力を与えるモータと、
前記モータからの駆動力を前記ロードシーブへ伝達させる駆動伝達軸と、
前記駆動伝達軸の回転を停止させる制動力を与えるブレーキ機構と、
前記モータが備えるモータ軸の軸方向の端部側に配置される入力側ディスクと、前記駆動伝達軸へ駆動力を伝達する出力側ディスクと、前記入力側ディスクと前記出力側ディスクの間で挟持され、これらに摩擦力を及ぼす摩擦部材と、前記摩擦部材を前記入力側ディスクおよび前記出力側ディスクに付勢力を及ぼす付勢部材とを備えるフリクションクラッチ機構と、
を備え、
前記ブレーキ機構は、回転可能なブレーキロータと、当該ブレーキロータの径方向の中心に配置されると共に前記ブレーキロータとトルク伝達可能に同軸で回転するブレーキハブとを備え、
前記ブレーキハブには、前記駆動伝達軸と前記出力側ディスクが相対回転不能に取着されている、
ことを特徴とする電気チェーンブロック。
続きを表示(約 1,000 文字)
【請求項2】
請求項1記載の電気チェーンブロックであって、
前記モータ、前記ブレーキ機構および前記フリクションクラッチ機構によって、1つのユニットである駆動ユニットが構成されている、
ことを特徴とする電気チェーンブロック。
【請求項3】
請求項2記載の電気チェーンブロックであって、
前記モータは、当該モータのステータを固定するモータフレームを備え、
前記ブレーキ機構は、前記ブレーキロータと対向するブレーキステータとを備え、
前記モータフレームと前記ブレーキステータとが互いに固定され、その固定によって両者の間には内部スペースが形成され、
前記内部スペースには、前記フリクションクラッチ機構を構成する前記入力側ディスク、前記出力側ディスク、前記摩擦部材および前記付勢部材が配置されている、
ことを特徴とする電気チェーンブロック。
【請求項4】
請求項1記載の電気チェーンブロックであって、
前記モータ軸には、当該モータ軸の軸方向に沿う中空状の中空部が設けられていて、
前記中空部には、ロッド状の調整ロッドが挿入されていて、
前記フリクションクラッチ機構には、前記付勢部材を前記入力側ディスクに向けて押圧するバネ受け部材が設けられていて、
前記調整ロッドの前記軸方向の一端側には、前記中空部に設けられている雌ネジ部に捻じ込まれる雄ネジ部が配置され、
前記調整ロッドの前記軸方向の他端側には、前記バネ受け部材が当接する状態で配置され、
前記雄ネジ部の捻じ込みによって前記調整ロッドを介して前記バネ受け部材を押圧することで、前記付勢部材の前記付勢力を調整可能としている、
ことを特徴とする電気チェーンブロック。
【請求項5】
請求項2記載の電気チェーンブロックであって、
前記モータは、PMモータである、
ことを特徴とする電気チェーンブロック。
【請求項6】
請求項3または5記載の電気チェーンブロックであって、
前記軸方向における前記ロードシーブの一方側には、
1つのユニットである駆動ユニットが構成されている、
前記駆動ユニットまたは前記モータが配置されており、
前記軸方向における前記ロードシーブの他方側には、前記モータへ電力を供給するバッテリーが配置されている、
ことを特徴とする電気チェーンブロック。
発明の詳細な説明
【技術分野】
【0001】
本発明は、電気チェーンブロックに関する。
続きを表示(約 1,700 文字)
【背景技術】
【0002】
モータの駆動力を利用して荷を昇降させる電気チェーンブロックにおいては、たとえば特許文献1に示すように、モータ(22)と、フリクションクラッチ機構(30)と、駆動伝達軸(40)と、ロードシーブ(60)と、ブレーキ機構(70)と、制御回路(80)を備える構成が存在している。
【0003】
かかる構成では、モータ(22)から、フリクション機構(30)を介して減速機構(50)およびブレーキ機構(70)に駆動力が伝達されている。各構成部品の配置は、ロードシーブ(60)を挟んで一方側(図2において左側)には、減速機構(50)とブレーキ機構(70)と制御回路(80)とが配置され、他方側(図2において右側)にはモータ(22)とフリクションクラッチ機構(30)が配置されている。
【0004】
また、電気チェーンブロックは、電源から電力を供給するタイプが一般的であるが、特許文献2に示すような、バッテリー式の電気チェーンブロックも存在している。かかる特許文献2に示す構成では、バッテリーパック(1)、制御装置(2)、モータ(4)、ブレーキ(5)、および減速機構(6)を備える構成となっている。各部品の配置は、ロードシーブ(リンクチェーン(7)が巻き掛けられる部位)の一方側には、制御装置(2)とモータ(4)と減速機構(6)が配置され、他方側には、バッテリーパック(1)とブレーキ(5)開示されている。
【先行技術文献】
【特許文献】
【0005】
WO2022/085629号公報
CN201068378Y号公報
【発明の概要】
【発明が解決しようとする課題】
【0006】
ところで、特許文献1のような電気チェーンブロックは、モータのロータ内にベアリングを配置しているので、モータの大型化が避けられない構造となっている。
【0007】
また、特許文献2に示すようなバッテリー式の電気チェーンブロックは、モータ(4)と減速機構(6)が同一側に配置され、なおかつ、鉛直方向に長い縦長のフレーム構造となっている。
【0008】
本発明は上記の事情に鑑みなされたもので、小型で高効率なモータの使用が可能で、かつフリクションクラッチ機構とブレーキ機構を隣接配置して小型化した、好ましくは生産性に優れ、部品点数を削減可能な電気チェーンブロックを提供することを目的とする。
【課題を解決するための手段】
【0009】
上記課題を解決するために、本発明の第1の観点によると、荷を掛けるフックに連結されたロードチェーンの巻き上げまたは巻き下げを行う電気チェーンブロックであって、回転によってロードチェーンの巻き上げまたは巻き下げを行うロードシーブと、ロードシーブを回転させる駆動力を与えるモータと、モータからの駆動力をロードシーブへ伝達させる駆動伝達軸と、駆動伝達軸の回転を停止させる制動力を与えるブレーキ機構と、モータが備えるモータ軸の軸方向の端部側に配置される入力側ディスクと、駆動伝達軸へ駆動力を伝達する出力側ディスクと、入力側ディスクと出力側ディスクの間で挟持され、これらに摩擦力を及ぼす摩擦部材と、摩擦部材を入力側ディスクおよび出力側ディスクに付勢力を及ぼす付勢部材とを備えるフリクションクラッチ機構と、を備え、ブレーキ機構は、回転可能なブレーキロータと、当該ブレーキロータの径方向の中心に配置されると共にブレーキロータとトルク伝達可能に同軸で回転するブレーキハブとを備え、ブレーキハブには、駆動伝達軸と出力側ディスクが相対回転不能に取着されている、ことを特徴とする電気チェーンブロックが提供される。
【0010】
また、上述の発明において、モータ、ブレーキ機構およびフリクションクラッチ機構によって、1ユニットである駆動ユニットが構成されている、ことが好ましい。
(【0011】以降は省略されています)
この特許をJ-PlatPat(特許庁公式サイト)で参照する
関連特許
株式会社キトー
コンテナ吊り具
1日前
個人
転落防止階段
28日前
個人
小型クレーン
22日前
岐阜工業株式会社
運搬台車
29日前
個人
アウトリガー用転倒防止ベース
21日前
株式会社キトー
コンテナ吊り具
1日前
フジテック株式会社
乗客コンベア
20日前
株式会社タダノ
クレーン装置
8日前
株式会社タダノ
3段ブーム伸縮機構
8日前
ライセン株式会社
飛行体用ウインチ吊フック
今日
神鋼物流株式会社
吊具
15日前
CKD株式会社
アーム型助力装置
15日前
フジテック株式会社
フック掛け器具
22日前
日本リフト株式会社
移動式昇降台装置
7日前
有限会社三兄
フォークリフト用アタッチメント
1か月前
株式会社豊田自動織機
荷役装置
28日前
イーグルクランプ株式会社
チェーン式バランス吊具
28日前
ティフィル株式会社
昇降台装置
7日前
ティフィル株式会社
昇降台装置
7日前
株式会社三四四
フォークリフト用アタッチメント
28日前
フジテック株式会社
昇降路内作業装置
1日前
フジテック株式会社
マンコンベヤ
20日前
日本リーテック株式会社
電動バランサ装置
20日前
清水建設株式会社
走行体の支持構造
7日前
イーグルクランプ株式会社
ハッカーの外れ止め装置およびハッカー
7日前
株式会社日立プラントメカニクス
クレーン停止時振れ止め制御方法
8日前
中国電力株式会社
玉掛け補助具
28日前
株式会社 ダイサン
ドラムのベルト取付構造
23日前
株式会社日立製作所
乗降床及び乗客コンベア
20日前
三菱ロジスネクスト株式会社
転倒防止システム
1か月前
三菱ロジスネクスト株式会社
重さ変更システム
1か月前
株式会社日立製作所
乗りかご及びエレベーター
23日前
株式会社日立製作所
乗りかご及びエレベーター
22日前
JFEスチール株式会社
治具及び、鋼帯コイルの搬送方法
22日前
株式会社日立製作所
スカートモール及び乗客コンベア
7日前
エクシオグループ株式会社
移動式クレーンのブーム作業範囲判定システム
7日前
続きを見る
他の特許を見る