TOP
|
特許
|
意匠
|
商標
特許ウォッチ
Twitter
他の特許を見る
公開番号
2025165425
公報種別
公開特許公報(A)
公開日
2025-11-05
出願番号
2024069428
出願日
2024-04-23
発明の名称
乗りかご及びエレベーター
出願人
株式会社日立製作所
代理人
弁理士法人信友国際特許事務所
主分類
B66B
11/02 20060101AFI20251028BHJP(巻上装置;揚重装置;牽引装置)
要約
【課題】設置する照明器具の制約を緩和できる乗りかご及びエレベーターを提供する。
【解決手段】乗りかごは、天井ユニット2と、側面パネル4と、を備えている。天井ユニット2は、中央天板25と、側部天板24と、フラットカバー23と、照明器具34と、を備えている。中央天板25は、中央天面部25aを有し、上下方向の上側が開口している。側部天板24は、中央天板25の両側に配置され、側部天面部24aを有し、上下方向の下側が開口している。フラットカバー23は、中央天板25の開口を塞ぐ。照明器具34は、中央天板25の中央天面部25aに設置される。
【選択図】図4
特許請求の範囲
【請求項1】
天井ユニットと、
前記天井ユニットの周囲に配置される側面パネルと、を備え、
前記天井ユニットは、
平面を有する中央天面部を有し、上下方向の上側が開口した中央天板と、
前記中央天板の両側に配置され、平面を有する側部天面部を有し、上下方向の下側が開口した側部天板と、
前記中央天板の開口を塞ぐフラットカバーと、
前記中央天板の前記中央天面部に設置される照明器具と、
を備えた乗りかご。
続きを表示(約 960 文字)
【請求項2】
前記側部天板は、前記側部天面部の一端部から上下方向の下側に向けて突出する側面部を有し、
前記側面部における上下方向の下端部は、前記側面パネルに接続され、
前記側部天板における前記側部天面部及び前記側面部で形成される空間内に収納されるかご上装置を備えた
請求項1に記載の乗りかご。
【請求項3】
前記中央天板は、前記中央天面部の両端部から上下方向の上側に向けて突出する縁部を有し、
前記照明器具から伸びる配線は、前記中央天板における前記中央天面部及び前記縁部、前記フラットカバーで形成される空間内に収納される
請求項2に記載の乗りかご。
【請求項4】
前記側部天板は、前記側部天面部の他端部から上下方向の下側に向けて突出する対向縁部を有し、
前記対向縁部は、前記中央天板の前記縁部と対向する
請求項3に記載の乗りかご。
【請求項5】
前記中央天板における前記中央天面部及び前記縁部で形成される空間内には、中央補強部材が配置される
請求項3に記載の乗りかご。
【請求項6】
前記側部天板における前記側部天面部及び前記側面部、前記対向縁部で形成される空間内には、側部補強部材が配置される
請求項4に記載の乗りかご。
【請求項7】
前記中央天板の前記縁部及び前記側部天板の前記対向縁部における上下方向の長さは、前記側部天板の前記側面部の上下方向の長さよりも短く設定されている
請求項4に記載の乗りかご。
【請求項8】
昇降路内を昇降動作する乗りかごを備え、
前記乗りかごは、
天井ユニットと、
前記天井ユニットの周囲に配置される側面パネルと、を備え、
前記天井ユニットは、
平面を有する中央天面部を有し、上下方向の上側が開口した中央天板と、
前記中央天板の両側に配置され、平面を有する側部天面部を有し、上下方向の下側が開口した側部天板と、
前記中央天板の開口を塞ぐフラットカバーと、
前記中央天板の前記中央天面部に設置される照明器具と、
を備えたエレベーター。
発明の詳細な説明
【技術分野】
【0001】
本発明は、乗りかご、及びこの乗りかごを備えたエレベーターに関するものである。
続きを表示(約 1,300 文字)
【背景技術】
【0002】
エレベーターには、人や荷物を載せる乗りかごを備えている。乗りかごを構成するかご室には、天井が設けられている。この乗りかごの天井に関する技術としては、例えば、特許文献1に記載されているようなものがある。
【0003】
特許文献1には、床面、側板、および側板に設けたカゴドアとを備えた乗りカゴの本体と、本体の上部に固定された天板と、天板に取り付けられた天井機器とを有するエレベーター装置が騎士されている。そして、天板は、複数の溝型鋼からなる天井部材を対向縁同士で接合したものであって、天井部材の接合部分を本体側に向けた状態配置される。また、天井機器は、天板に埋め込まれた埋め込みナットを用いて本体側から天板に対して固定される。
【先行技術文献】
【特許文献】
【0004】
国際公開第2018/230161号パンフレット
【発明の概要】
【発明が解決しようとする課題】
【0005】
しかしながら、特許文献1に記載された技術では、照明器具を天板における板状の鋼材の幅方の両縁を立ち上げて対向させた対向縁を内側に折り込んだリップ部に設置している。そのため、特許文献1に記載された技術では、天板に設置可能な照明器具に制限がかかり、例えば、LEDのような比較的広い設置面積を有する照明器具を設置することができない、という問題を有していた。
【0006】
本目的は、上記の問題点を考慮し、設置する照明器具の制約を緩和できる乗りかご及びエレベーターを提供することにある。
【課題を解決するための手段】
【0007】
上記課題を解決し、本目的を達成するため、乗りかごは、天井ユニットと、天井ユニットの周囲に配置される側面パネルと、を備えている。天井ユニットは、中央天板と、側部天板と、フラットカバーと、照明器具と、を備えている。中央天板は、平面を有する中央天面部を有し、上下方向の上側が開口している。側部天板は、中央天板の両側に配置され、平面を有する側部天面部を有し、上下方向の下側が開口している。フラットカバーは、中央天板の開口を塞ぐ。照明器具は、中央天板の中央天面部に設置される。
【0008】
また、エレベーターは、昇降路内を昇降移動する乗りかごを備えている。乗りかごは、上述した乗りかごが適用される。
【発明の効果】
【0009】
上記構成の乗りかご及びエレベーターによれば、設置する照明器具の制約を緩和できる。
【図面の簡単な説明】
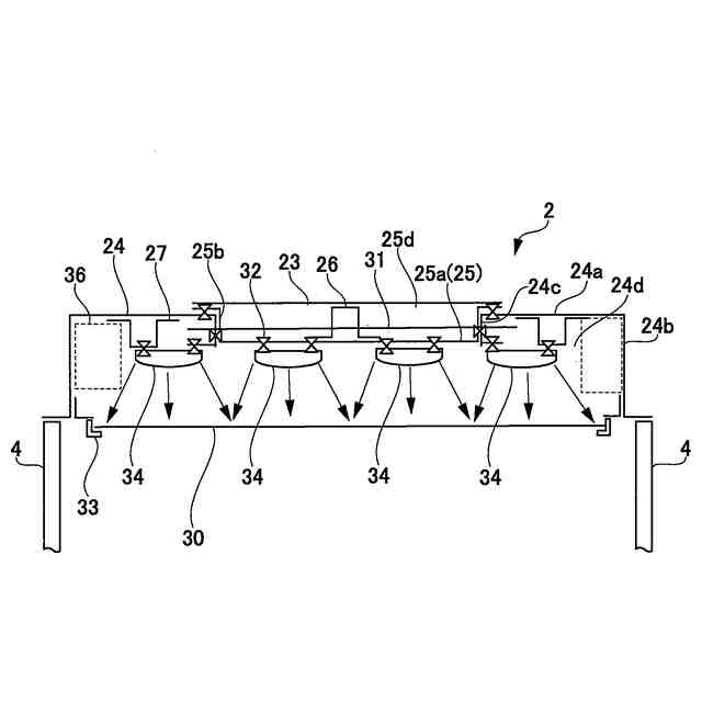
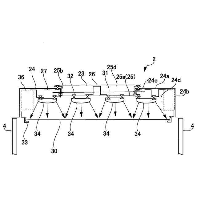
【0010】
実施の形態例にかかるエレベーターの乗りかごを示す斜視図である。
実施の形態例にかかる乗りかごの天井ユニットを示す平面図である。
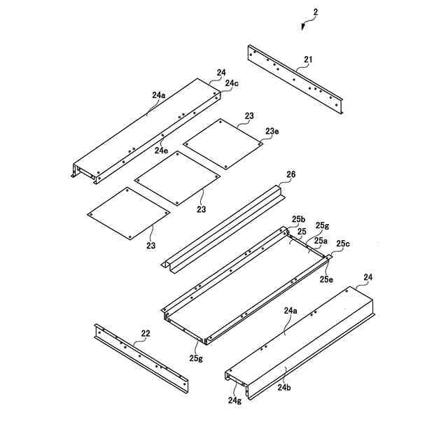
実施の形態例にかかる乗りかごの天井ユニットを示す分解斜視図である。
実施の形態例にかかる乗りかごの天井ユニットを示す断面図である。
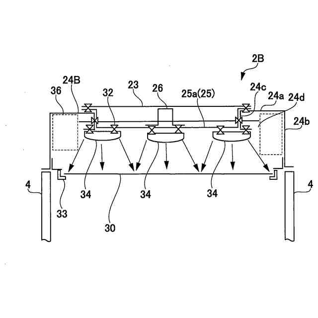
変形例にかかる乗りかごの天井ユニットを示す断面図である。
【発明を実施するための形態】
(【0011】以降は省略されています)
この特許をJ-PlatPat(特許庁公式サイト)で参照する
関連特許
株式会社日立製作所
鉄道車両
1か月前
株式会社日立製作所
放射線モニタ
1か月前
株式会社日立製作所
形状制御システム
1か月前
株式会社日立製作所
ガス分離システム
1か月前
株式会社日立製作所
システム検証方法
20日前
株式会社日立製作所
電力変換システム
5日前
株式会社日立製作所
鉄道車両用空調装置
19日前
株式会社日立製作所
調停案提示システム
1か月前
株式会社日立製作所
部品管理装置及び方法
1か月前
株式会社日立製作所
生産ライン設計システム
13日前
株式会社日立製作所
施設管理装置および方法
5日前
株式会社日立製作所
店舗管理装置および方法
20日前
株式会社日立製作所
乗降床及び乗客コンベア
18日前
株式会社日立製作所
ソフトウェア生成システム
1か月前
株式会社日立製作所
乗りかご及びエレベーター
21日前
株式会社日立製作所
検索システム及び検索方法
20日前
株式会社日立製作所
署名照合システム及び方法
26日前
株式会社日立製作所
乗りかご及びエレベーター
20日前
株式会社日立製作所
飲食店提案装置および方法
20日前
株式会社日立製作所
データ変換装置および方法
1か月前
株式会社日立製作所
膜分離設備設計支援システム
5日前
株式会社日立製作所
生体認証装置、生体認証方法
19日前
株式会社日立製作所
ソースコードを生成する方法
13日前
株式会社日立製作所
管理システムおよび管理方法
1か月前
株式会社日立製作所
ソフトエラー率評価システム
6日前
株式会社日立製作所
情報処理装置、情報処理方法
1か月前
株式会社日立製作所
宇宙機、地上局及びアンテナ
5日前
株式会社日立製作所
回転電機および電動機システム
1か月前
株式会社日立製作所
費用対効果算出方法および装置
1か月前
株式会社日立製作所
情報処理装置及び情報処理方法
1か月前
株式会社日立製作所
情報処理システム、及び予測方法
1か月前
株式会社日立製作所
立体構造宇宙機及びその制御方法
18日前
株式会社日立製作所
蒸発乾固装置および蒸発乾固方法
1か月前
株式会社日立製作所
スカートモール及び乗客コンベア
5日前
株式会社日立製作所
物体検出装置および物体検出方法
26日前
株式会社日立製作所
治療効果予測システムおよび方法
1か月前
続きを見る
他の特許を見る