TOP
|
特許
|
意匠
|
商標
特許ウォッチ
Twitter
他の特許を見る
公開番号
2025158516
公報種別
公開特許公報(A)
公開日
2025-10-17
出願番号
2024061133
出願日
2024-04-04
発明の名称
鉄道車両
出願人
株式会社日立製作所
代理人
弁理士法人第一国際特許事務所
主分類
B61F
5/24 20060101AFI20251009BHJP(鉄道)
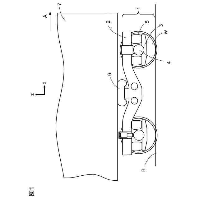
要約
【課題】簡素な構成で走行時の車体ロール変位の増加を抑制することにより、左右方向の乗心地の向上とインフラ構造物との干渉の回避や、走行中の上下方向のストッパ当たりの回避を実現して、上下方向の乗心地が良い状態を維持することができる鉄道車両を提供する。
【解決手段】車体と、前記車体を支持する台車とを有する鉄道車両において、前記台車は、前記台車の幅方向中央側に配置され、弾性変形可能な第1上下ストッパと、前記第1上下ストッパよりも前記台車の幅方向端部側に配置され、弾性変形可能な第2上下ストッパと、を有し、前記台車に対し前記車体のロール変位又は上下変位が増大したときに、前記車体は、前記第1上下ストッパ及び前記第2上下ストッパのうち一方により支持され、さらに前記ロール変位又は前記上下変位が増大したときに、前記第1上下ストッパ及び前記第2上下ストッパの双方により支持される。
【選択図】図2
特許請求の範囲
【請求項1】
車体と、前記車体を支持する台車とを有する鉄道車両において、
前記台車は、
前記台車の幅方向中央側に配置され、弾性変形可能な第1上下ストッパと、
前記第1上下ストッパよりも前記台車の幅方向端部側に配置され、弾性変形可能な第2上下ストッパと、を有し、
前記台車に対し前記車体のロール変位又は上下変位が増大したときに、前記車体は、前記第1上下ストッパ及び前記第2上下ストッパのうち一方により支持され、さらに前記ロール変位又は前記上下変位が増大したときに、前記第1上下ストッパ及び前記第2上下ストッパの双方により支持される、
ことを特徴とする鉄道車両。
続きを表示(約 1,200 文字)
【請求項2】
請求項1記載の鉄道車両において、
前記第1上下ストッパと前記車体の接触点を接触点C1とし、
前記第2上下ストッパと前記車体の接触点を接触点C2とし、
前記車体のロール回転中心軸に直交する断面において、前記車体のロール回転中心と前記接触点C1を通る直線と、前記車体のロール回転中心を通る水平線とのなす角度を第1上下ストッパのロール接触角θaとし、
前記車体のロール回転中心と前記接触点C2を通る直線と、前記水平線のなす角度を第2上下ストッパのロール接触角θsとしたときに、
前記第2上下ストッパのロール接触角θsは、前記第1上下ストッパのロール接触角θaより小さい、
ことを特徴とする鉄道車両。
【請求項3】
請求項2記載の鉄道車両において、
前記車体の下面と前記第1上下ストッパの上面との間の距離を前記第1上下ストッパの上下隙間gaとし、
前記車体の下面と前記第2上下ストッパの上面との間の距離を前記第2上下ストッパの上下隙間としたときに、
前記第2上下ストッパの上下隙間gsは、前記第1上下ストッパの上下隙間gaより大きい、
ことを特徴とする鉄道車両。
【請求項4】
請求項2記載の鉄道車両において、
前記車体の下面と前記第1上下ストッパの上面との間の距離を前記第1上下ストッパの上下隙間gaとし、
前記車体の下面と前記第2上下ストッパの上面との間の距離を前記第2上下ストッパの上下隙間gsとしたときに、
前記第1上下ストッパの上下隙間gaは、前記第2上下ストッパの上下隙間gsより大きい、
ことを特徴とする鉄道車両。
【請求項5】
請求項1記載の鉄道車両において、
前記第1上下ストッパを前記台車の幅方向の中央部に配置した、
ことを特徴とする鉄道車両。
【請求項6】
請求項1記載の鉄道車両において、
前記第1上下ストッパと前記第2上下ストッパは、レール方向にオフセットして配置される、
ことを特徴とする鉄道車両。
【請求項7】
請求項1記載の鉄道車両において、
前記第1上下ストッパは、弾性体と金属板の上下積層構造を有し、
前記第2上下ストッパは、弾性体のみからなり、
前記車体と前記第1上下ストッパとの間に配置されるダイアフラムと、前記第1上下ストッパとにより空気ばねが形成される、
ことを特徴とする鉄道車両。
【請求項8】
請求項1記載の鉄道車両において、
前記第1上下ストッパは、弾性体のみからなり、
前記第2上下ストッパは、弾性体と金属板の上下積層構造を有し、
前記車体と前記第2上下ストッパとの間に配置されるダイアフラムと、前記第2上下ストッパとにより空気ばねが形成される、
ことを特徴とする鉄道車両。
発明の詳細な説明
【技術分野】
【0001】
本発明は、鉄道車両に関するものである。
続きを表示(約 1,600 文字)
【背景技術】
【0002】
鉄道車両では、曲線走行中に車体に作用する遠心力が増加すること、または走行中に軌道等から加振されることにより、車体のロール方向の変位が大きくなることがある。曲線通過時の車体ロール変位が過度に大きいと、乗客が感じる左右方向の定常加速度が大きくなり、乗客が不快感を覚えることにより左右方向の乗心地の悪化につながる。また、走行時の車体ロール変位が過度に大きいと、車両が周辺のインフラ構造物と干渉することがないように、インフラ構造物をレールから離して設置する必要が生じ、それによりインフラのコストが高くなる。このため、鉄道車両では走行中の車体ロール変位を抑えることが望ましいといえる。
【0003】
また、鉄道車両では、急曲線を走行した場合に、曲線の緩和曲線では軌道のねじり変化により、輪重が変動して曲線通過安全性の余裕が少なくなる。このため、急曲線を通過する場合には、車体のロール方向において柔軟に支持することにより、軌道のねじり変化に対する追従性を良くして輪重変動を抑制する必要がある。
【0004】
このような課題に対して、特許文献1に示すように、輪重変動を抑制する技術を備えた鉄道車両用台車が開発されている。
【先行技術文献】
【特許文献】
【0005】
特開2002-120722号公報
【発明の概要】
【発明が解決しようとする課題】
【0006】
上記特許文献1の鉄道車両用台車は、左右端に配置した空気ばねの上下剛性を小さく設定することにより、車体のロール方向の剛性を小さくして、急曲線通過時の輪重変動を抑制するものである。
【0007】
しかしながら、車体のロール方向の剛性を小さくすると、例えば高速で曲線を通過した場合に、曲線中に車体に作用する遠心力が増大することに応じて車体ロール変位も大きくなるため、乗客が感じる左右方向の定常加速度が大きくなり、左右方向の乗心地が悪化するという課題があった。また、上下方向にストッパゴムが接触した場合にその衝撃により、上下の乗心地が悪化するという課題もあった。
【0008】
本発明は、これらの課題に対して、簡素な構成で走行時の車体ロール変位の増加を抑制することにより、左右方向の乗心地の向上とインフラ構造物との干渉の回避や、走行中の上下方向のストッパ当たりの回避を実現して、上下方向の乗心地が良い状態を維持することができる鉄道車両を提供することを目的とする。
【課題を解決するための手段】
【0009】
上記目的を達成するために、代表的な本発明の鉄道車両の一つは、
車体と、前記車体を支持する台車とを有する鉄道車両において、
前記台車は、
前記台車の幅方向中央側に配置され、弾性変形可能な第1上下ストッパと、
前記第1上下ストッパよりも前記台車の幅方向端部側に配置され、弾性変形可能な第2上下ストッパと、を有し、
前記台車に対し前記車体のロール変位又は上下変位が増大したときに、前記車体は、前記第1上下ストッパ及び前記第2上下ストッパのうち一方により支持され、さらに前記ロール変位又は前記上下変位が増大したときに、前記第1上下ストッパ及び前記第2上下ストッパの双方により支持される、ことにより達成される。
【発明の効果】
【0010】
本発明によれば、簡素な構成で走行時の車体ロール変位の増加を抑制することにより、左右方向の乗心地の向上とインフラ構造物との干渉の回避や、走行中の上下方向のストッパ当たりの回避を実現して、上下方向の乗心地が良い状態を維持することができる鉄道車両を提供することができる。
上記した以外の課題、構成及び効果は、以下の実施形態の説明により明らかにされる。
【図面の簡単な説明】
(【0011】以降は省略されています)
この特許をJ-PlatPat(特許庁公式サイト)で参照する
関連特許
株式会社日立製作所
鉄道車両
26日前
株式会社日立製作所
放射線モニタ
19日前
株式会社日立製作所
ガス分離システム
26日前
株式会社日立製作所
システム検証方法
7日前
株式会社日立製作所
調停案提示システム
27日前
株式会社日立製作所
鉄道車両用空調装置
6日前
株式会社日立製作所
部品管理装置及び方法
1か月前
株式会社日立製作所
生産ライン設計システム
今日
株式会社日立製作所
乗降床及び乗客コンベア
5日前
株式会社日立製作所
店舗管理装置および方法
7日前
株式会社日立製作所
検索システム及び検索方法
7日前
株式会社日立製作所
乗りかご及びエレベーター
8日前
株式会社日立製作所
飲食店提案装置および方法
7日前
株式会社日立製作所
乗りかご及びエレベーター
7日前
株式会社日立製作所
署名照合システム及び方法
13日前
株式会社日立製作所
データ変換装置および方法
20日前
株式会社日立製作所
生体認証装置、生体認証方法
6日前
株式会社日立製作所
ソースコードを生成する方法
今日
株式会社日立製作所
物体検出装置および物体検出方法
13日前
株式会社日立製作所
立体構造宇宙機及びその制御方法
5日前
株式会社日立製作所
治療効果予測システムおよび方法
27日前
株式会社日立製作所
蒸発乾固装置および蒸発乾固方法
1か月前
株式会社日立製作所
購入関連行動分析装置および方法
6日前
株式会社日立製作所
情報処理方法及び情報処理システム
8日前
株式会社日立製作所
計算機システム及びデータ送信方法
14日前
株式会社日立製作所
単体テスト装置及び単体テスト方法
8日前
株式会社日立製作所
計算機システム及び障害対処支援方法
27日前
株式会社日立製作所
情報処理システム、及び情報処理方法
1か月前
株式会社日立製作所
データ処理装置およびデータ処理方法
5日前
株式会社日立製作所
故障要因分析装置及び故障要因分析方法
1か月前
株式会社日立製作所
計算機システムおよびアクセス検証方法
5日前
株式会社日立製作所
圧延設定支援装置及び圧延設定支援方法
26日前
株式会社日立製作所
説明情報生成装置及び説明情報生成方法
1か月前
株式会社日立製作所
計算機システム及び予測モデルの学習方法
14日前
株式会社日立製作所
燃料電池ブロックおよび燃料電池システム
27日前
株式会社日立製作所
支援装置、支援方法、及び支援プログラム
14日前
続きを見る
他の特許を見る