TOP
|
特許
|
意匠
|
商標
特許ウォッチ
Twitter
他の特許を見る
10個以上の画像は省略されています。
公開番号
2025171492
公報種別
公開特許公報(A)
公開日
2025-11-20
出願番号
2024076899
出願日
2024-05-10
発明の名称
スカートモール及び乗客コンベア
出願人
株式会社日立製作所
代理人
弁理士法人信友国際特許事務所
主分類
B66B
23/22 20060101AFI20251113BHJP(巻上装置;揚重装置;牽引装置)
要約
【課題】 スカートモールの取付面の状態が異なる複数の機種に対応できるスカートモール及び乗客コンベアを提供する。
【解決手段】スカートモール20は、下部接触部21と、固定部23と、上部接触部22と、を備えている。下部接触部21は、スカートガード13に接触する。固定部23は、下部接触部21に連続して形成され、デッキ部15に固定される。上部接触部22は、固定部23に連続して形成され、デッキ部15に接触する。そして、上部接触部22は、固定部23に対して折り曲げ可能に接続される。
【選択図】図4
特許請求の範囲
【請求項1】
乗客コンベアのデッキ部とスカートガードとの接続箇所を覆うスカートモールにおいて、
前記スカートガードに接触する下部接触部と、
前記下部接触部に連続して形成され、前記デッキ部に固定される固定部と、
前記固定部に連続して形成され、前記デッキ部に接触する上部接触部と、を備え、
前記上部接触部は、前記固定部に対して折り曲げ可能に接続される
スカートモール。
続きを表示(約 680 文字)
【請求項2】
前記上部接触部を折り曲げる場合、前記上部接触部は、鉛直方向の下側に向けて折り曲げられる
請求項1に記載のスカートモール。
【請求項3】
前記上部接触部と前記固定部との接続箇所には、切り込みが形成されている
請求項1に記載のスカートモール。
【請求項4】
前記上部接触部は、前記固定部から前記デッキ部に向けて突出し、
前記上部接触部を折り曲げる前の状態において、前記上部接触部の先端部は、前記下部接触部における前記スカートガードと接触する面と面一に設定されている
請求項1に記載のスカートモール。
【請求項5】
前記上部接触部の鉛直方向の上面は、前記上部接触部の折り曲げ方向に向けて傾斜している
請求項2に記載のスカートモール。
【請求項6】
建築構造物に設置されるフレームと、
前記フレームに設置されるスカートガードと、
前記スカートガードの鉛直方向の上部に設けられ、欄干部材を支持するデッキ部と、
前記デッキ部とスカートガードとの接続箇所を覆うスカートモールと、を備え、
前記スカートモールは、
前記スカートガードに接触する下部接触部と、
前記下部接触部に連続して形成され、前記デッキ部に固定される固定部と、
前記固定部に連続して形成され、前記デッキ部に接触する上部接触部と、を備え、
前記上部接触部は、前記固定部に対して折り曲げ可能に接続される
乗客コンベア。
発明の詳細な説明
【技術分野】
【0001】
本発明は、スカートモール、及びこのスカートモールを備えた乗客コンベアに関するものである。
続きを表示(約 1,900 文字)
【背景技術】
【0002】
乗客コンベアは、建築構造物に設置されるフレームと、このフレーム内に設けられて循環移動する無端状に連結された複数の踏段とを備えている。複数の踏段には、無端状のチェーンが連結されており、このチェーンが回転駆動することで、複数の踏段が循環移動する。また、乗客コンベアのデッキ部とスカートガードが接続する箇所には、スカートモールが設けられている。
【0003】
従来のスカートモールとしては、例えば、特許文献1に記載されているようなものがある。特許文献1には、スカートガードと、スカートガードのステップとの反対側の領域に配置されてその一部がスカートガードの上部側を覆う内デッキとが互いに重なる領域を覆う長尺部材を備えた技術が記載されている。長尺部材には、内デッキを介してスカートガードに締結される締結部材のねじ部を挿入するための固定穴が形成されている。また、長尺部材のうち固定穴の締結部材挿入側には、固定穴に挿入された締結部材の頭部を覆う環状の爪部が形成されている。
【先行技術文献】
【特許文献】
【0004】
特開2021-20766号公報
【発明の概要】
【発明が解決しようとする課題】
【0005】
しかしながら、乗客コンベアには、デッキ部とスカートガードにおけるスカートモールが取り付けられる面(取付面)に段差がある乗客コンベアや、取付面に段差がない乗客コンベアがある。そのため、従来の技術では、取付面の状態に対応したスカートモールを用意する必要があり、スカートモールの種類が増加する、という問題を有していた。
【0006】
本目的は、上記の問題点を考慮し、取付面の状態が異なる複数の機種に対応できるスカートモール及び乗客コンベアを提供することにある。
【課題を解決するための手段】
【0007】
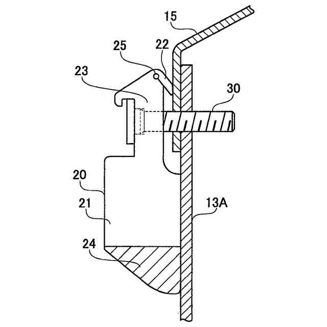
上記課題を解決し、本目的を達成するため、スカートモールは、乗客コンベアのデッキ部とスカートガードとの接続箇所を覆うスカートモールである。スカートモールは、下部接触部と、固定部と、上部接触部と、を備えている。下部接触部は、スカートガードに接触する。固定部は、下部接触部に連続して形成され、デッキ部に固定される。上部接触部は、固定部に連続して形成され、デッキ部に接触する。そして、上部接触部は、固定部に対して折り曲げ可能に接続される。
【0008】
また、乗客コンベアは、建築構造物に設置されるフレームと、フレームに設置されるスカートガードと、スカートガードの鉛直方向の上部に設けられ、欄干部材を支持するデッキ部と、デッキ部とスカートガードとの接続箇所を覆うスカートモールと、を備えている。そして、スカートモールは、上述したスカートモールが適用される。
【発明の効果】
【0009】
上記構成のスカートモール及び乗客コンベアによれば、取付面の状態が異なる複数の機種に対応できる。
【図面の簡単な説明】
【0010】
実施の形態例にかかる乗客コンベアを示す概略構成図である。
実施の形態例にかかる乗客コンベアの乗降口を示す斜視図である。
実施の形態例にかかるスカートモールの取り付け状態を示す断面図である。
実施の形態例にかかるスカートモールの取り付け状態の他の例を示す断面図である。
実施の形態例にかかるスカートモールの上部接触部を示す図である。
図6A及び図6Bは、実施の形態例にかかるスカートモールの曲げ加工方法を示す図である。
実施の形態例にかかる乗客コンベアの上部側のスカートモールを示す図である。
実施の形態例にかかる上部側のスカートモールの曲げ加工方法を示す図である。
実施の形態例にかかる上部側のスカートモールの曲げ加工時の断面図である。
実施の形態例にかかる上部側のスカートモールの曲げ加工時の他の例を示す断面図である。
実施の形態例にかかる乗客コンベアの下部側のスカートモールを示す図である。
実施の形態例にかかる下部側のスカートモールの曲げ加工方法を示す図である。
実施の形態例にかかる下部側のスカートモールの曲げ加工時の断面図である。
実施の形態例にかかる下部側のスカートモールの曲げ加工時の他の例を示す断面図である。
【発明を実施するための形態】
(【0011】以降は省略されています)
この特許をJ-PlatPat(特許庁公式サイト)で参照する
関連特許
株式会社日立製作所
鉄道車両
1か月前
株式会社日立製作所
放射線モニタ
28日前
株式会社日立製作所
ガス分離システム
1か月前
株式会社日立製作所
システム検証方法
16日前
株式会社日立製作所
電力変換システム
1日前
株式会社日立製作所
調停案提示システム
1か月前
株式会社日立製作所
鉄道車両用空調装置
15日前
株式会社日立製作所
店舗管理装置および方法
16日前
株式会社日立製作所
乗降床及び乗客コンベア
14日前
株式会社日立製作所
生産ライン設計システム
9日前
株式会社日立製作所
施設管理装置および方法
1日前
株式会社日立製作所
乗りかご及びエレベーター
16日前
株式会社日立製作所
データ変換装置および方法
29日前
株式会社日立製作所
署名照合システム及び方法
22日前
株式会社日立製作所
乗りかご及びエレベーター
17日前
株式会社日立製作所
飲食店提案装置および方法
16日前
株式会社日立製作所
検索システム及び検索方法
16日前
株式会社日立製作所
ソフトエラー率評価システム
2日前
株式会社日立製作所
ソースコードを生成する方法
9日前
株式会社日立製作所
膜分離設備設計支援システム
1日前
株式会社日立製作所
宇宙機、地上局及びアンテナ
1日前
株式会社日立製作所
生体認証装置、生体認証方法
15日前
株式会社日立製作所
立体構造宇宙機及びその制御方法
14日前
株式会社日立製作所
治療効果予測システムおよび方法
1か月前
株式会社日立製作所
購入関連行動分析装置および方法
15日前
株式会社日立製作所
物体検出装置および物体検出方法
22日前
株式会社日立製作所
スカートモール及び乗客コンベア
1日前
株式会社日立製作所
ガス分離システムの劣化診断装置
1日前
株式会社日立製作所
計算機システム及びデータ送信方法
23日前
株式会社日立製作所
単体テスト装置及び単体テスト方法
17日前
株式会社日立製作所
テスト支援装置及びテスト支援方法
1日前
株式会社日立製作所
情報処理方法及び情報処理システム
17日前
株式会社日立製作所
欠陥検査システム、及び欠陥検査方法
1日前
株式会社日立製作所
計算機システム及び障害対処支援方法
1か月前
株式会社日立製作所
データ処理装置およびデータ処理方法
14日前
株式会社日立製作所
計算機システムおよびアクセス検証方法
14日前
続きを見る
他の特許を見る