TOP
|
特許
|
意匠
|
商標
特許ウォッチ
Twitter
他の特許を見る
10個以上の画像は省略されています。
公開番号
2025157868
公報種別
公開特許公報(A)
公開日
2025-10-16
出願番号
2024060171
出願日
2024-04-03
発明の名称
調停案提示システム
出願人
株式会社日立製作所
代理人
藤央弁理士法人
主分類
G06Q
10/10 20230101AFI20251008BHJP(計算;計数)
要約
【課題】複数主体に対する調停案を提示する。
【解決手段】システムは、KPIの管理情報を格納する。管理情報は、複数KPIそれぞれに対する制約条件及び重み係数を含む。複数KPIは、複数主体の各主体に固有の個別KPIと、前記複数主体に共通の全体KPIとを含む。システムは、複数KPI及び重み係数に基づき、パレート解の、複数主体の意思決定の時系列を示す暫定計画を探索する。システムは、複数KPIの制約条件の全てを満たす暫定計画が見つからない場合に、複数KPIの制約条件の少なくとも一部に違反する複数暫定計画において、制約条件の満たしやすさの度合に基づき選択されたKPIの制約条件を満たす提示計画を決定する。システムは、提示計画と、KPIの制約条件の満たしやすさの度合の情報と、を提示する。
【選択図】図6
特許請求の範囲
【請求項1】
調停案提示システムであって、
プロセッサと、
メモリと、を含み、
前記メモリは、KPIの管理情報を格納し、
前記管理情報は、
複数KPIそれぞれに対する制約条件及び重み係数を含み、
前記複数KPIは、
複数主体の各主体に固有の個別KPIと、
前記複数主体に共通の全体KPIと、を含み、
前記プロセッサは、
前記複数KPI及び前記重み係数に基づき、パレート解の、前記複数主体の意思決定の時系列を示す暫定計画を探索し、
前記複数KPIの制約条件の全てを満たす暫定計画が見つからない場合に、前記複数KPIの制約条件の少なくとも一部に違反する複数暫定計画において、前記制約条件の満たしやすさの度合に基づき選択されたKPIの制約条件を満たす提示計画を決定し、
前記提示計画と、前記複数KPIにおける少なくとも一部のKPIの制約条件の満たしやすさの度合の情報と、を提示する、調停案提示システム。
続きを表示(約 1,500 文字)
【請求項2】
請求項1に記載の調停案提示システムにおいて、
前記プロセッサは、
前記暫定計画の探索において、各暫定計画が制約条件を違反するKPIの情報を制約違反管理情報に含め、
前記制約違反管理情報を参照して、KPIごとに制約違反暫定計画数を決定し、
前記制約条件の満たしやすさの度合いを示す指標として、前記制約違反暫定計画数に関する情報を提示する、調停案提示システム。
【請求項3】
請求項1に記載の調停案提示システムにおいて、
前記プロセッサは、前記暫定計画の探索において、
探索された暫定計画のKPIの値及び重み係数に基づく暫定計画更新用の評価値を計算し、
前記評価値に基づいて前記暫定計画を更新し、
前記評価値の計算は、
前記KPIごとにスケーリングを実行し、
スケーリングされた前記KPI及び前記重み係数に基づき、前記評価値を算出する、調停案提示システム。
【請求項4】
請求項3に記載の調停案提示システムにおいて、
前記プロセッサは、前記暫定計画の更新において、更新幅を示す指標を用いて前記暫定計画の更新幅に対して制約を与える、調停案提示システム。
【請求項5】
請求項3に記載の調停案提示システムにおいて、
前記プロセッサは、前記暫定計画の探索において、
更新前の暫定計画が制約条件に違反するKPIを選択し、
前記選択したKPI及び前記選択したKPIの重み係数に基づき前記評価値を算出する、調停案提示システム。
【請求項6】
請求項1に記載の調停案提示システムにおいて、
前記プロセッサは、前記複数KPIの制約条件の全てを満たす暫定計画が見つかった場合、当該暫定計画の情報及び前記複数KPIにおける少なくとも一部のKPIの制約条件の満たしやすさの度合の情報と、を提示する、調停案提示システム。
【請求項7】
請求項1に記載の調停案提示システムにおいて、
前記プロセッサは、前記制約条件の満たしやすさの度合がより大きいKPIの制約条件を優先して満たす前記提示計画を決定する、調停案提示システム。
【請求項8】
請求項1に記載の調停案提示システムにおいて、
前記プロセッサは、対象KPIの制約条件を満たす暫定計画において、他のKPIそれぞれの制約条件に違反する暫定計画数に基づき、前記他のKPIそれぞれに対する影響度を決定し、前記影響度を提示する、調停案提示システム。
【請求項9】
システムが、調停案提示する方法であって、
前記システムは、KPIの管理情報を格納し、
前記管理情報は、複数KPIそれぞれに対する制約条件及び重み係数を含み、
前記複数KPIは、複数主体の各主体に固有の個別KPIと、前記複数主体に共通の全体KPIと、を含み、
前記方法は、前記システムが、
前記複数KPI及び前記重み係数に基づき、パレート解の、前記複数主体の意思決定の時系列を示す暫定計画を探索し、
前記複数KPIの制約条件の全てを満たす暫定計画が見つからない場合に、前記複数KPIの制約条件の少なくとも一部に違反する複数暫定計画において、前記制約条件の満たしやすさの度合に基づき選択されたKPIの制約条件を満たす提示計画を決定し、
前記提示計画と、前記複数KPIにおける少なくとも一部のKPIの制約条件の満たしやすさの度合の情報と、を提示する、方法。
発明の詳細な説明
【技術分野】
【0001】
本発明は、多主体の間の調停案を提示するシステムに関する。
続きを表示(約 2,600 文字)
【背景技術】
【0002】
本明細書の背景技術として、特許文献1がある。特許文献1は、スケジュール調停システムを開示する。より具体的には、特許文献1は、「予め記憶された第1のスケジュール作成制約と、一定期間の第1のスケジュール情報とをスケジュール調停サーバに送付する第1のサーバと、予め記憶された第2のスケジュール作成制約と、一定期間の第2のスケジュール情報とを前記スケジュール調停サーバに送付する第2のサーバと、前記第1のサーバと前記第2のサーバのスケジュールを調停する制御部と記憶部を備えるスケジュール調停サーバとを含むスケジュール調停システムであって、前記スケジュール調停サーバの前記記憶部は、全体最適制約情報を記憶し、前記スケジュール調停サーバの前記制御部は、前記第1のサーバと前記第2のサーバから、前記第1のスケジュール作成制約、前記第1のスケジュール情報、前記第2のスケジュール作成制約、及び前記第2のスケジュール情報とを取得する取得部と、前記第1のスケジュール作成制約、前記第1のスケジュール情報、前記第2のスケジュール作成制約、及び前記第2のスケジュール情報と、前記記憶部に記憶された前記全体最適制約情報から、前記第1のスケジュール情報と前記第2のスケジュール情報との間の不整合を検出する不整合検出部と、不整合が検出された場合、前記第1のスケジュール情報と前記第2のスケジュール情報とを修正して第3のスケジュール情報と第4のスケジュール情報とを再作成するスケジュール再作成部と、修正度合いに応じて前記第1のサーバと前記第2のサーバに対して、第1のクレジットと第2のクレジット夫々を算出するクレジット算出部と、前記第3のスケジュール情報と前記第1のクレジットを第1のサーバに送付し、前記第4のスケジュール情報と前記第2のクレジットとを第2のサーバに送付する送信部とを備えることを特徴とするスケジュール調停システム」を開示する(特許請求の範囲参照)。
【先行技術文献】
【特許文献】
【0003】
国際公開第2017/130367号
【発明の概要】
【発明が解決しようとする課題】
【0004】
特許文献1に記載されている発明では、主体のスケジュールの修正度合いに応じてクレジットが付与され、以降のスケジュール修正に関して主体に優先権を与える。しかしながら、各スケジュール自体の条件の厳しさを特定できておらず、条件が厳しいスケジュールに対しては、クレジットが多く付与され得る。よって、条件が厳しいスケジュールを主体が提示することで、その主体が優遇されるようなスケジュールを実行してしまう。
【課題を解決するための手段】
【0005】
本発明の一態様は、調停案提示システムであって、プロセッサと、メモリと、を含み、前記メモリは、KPIの管理情報を格納し、前記管理情報は、複数KPIそれぞれに対する制約条件及び重み係数を含み、前記複数KPIは、複数主体の各主体に固有の個別KPIと、前記複数主体に共通の全体KPIと、を含み、前記プロセッサは、前記複数KPI及び前記重み係数に基づき、パレート解の、前記複数主体の意思決定の時系列を示す暫定計画を探索し、前記複数KPIの制約条件の全てを満たす暫定計画が見つからない場合に、前記複数KPIの制約条件の少なくとも一部に違反する複数暫定計画において、前記制約条件の満たしやすさの度合に基づき選択されたKPIの制約条件を満たす提示計画を決定し、前記提示計画と、前記複数KPIにおける少なくとも一部のKPIの制約条件の満たしやすさの度合の情報と、を提示する。
【発明の効果】
【0006】
本発明の一態様によれば、多主体の間の適切な調停案を提示することができる。上記以外の課題、構成及び効果は、以下の実施形態の説明により明らかにされる。
【図面の簡単な説明】
【0007】
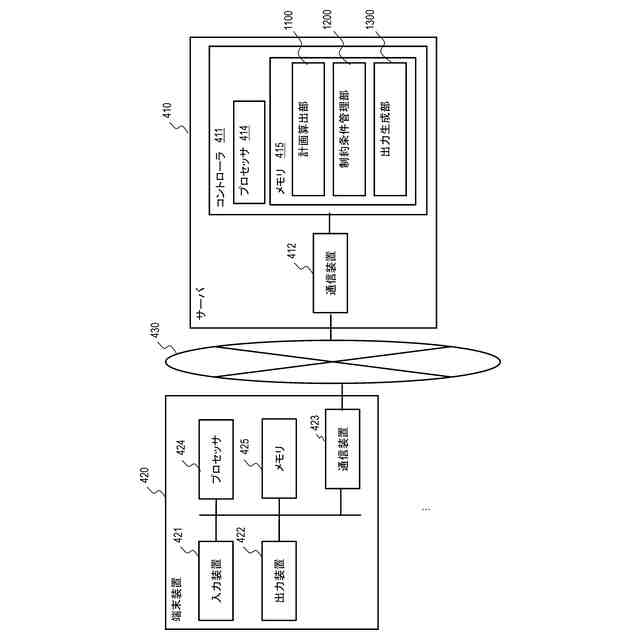
調停案提示システムの全体フローチャート
調停案提示システムの構成図
計画算出部の構成図
制約違反管理部の構成図
計画管理部の構成図
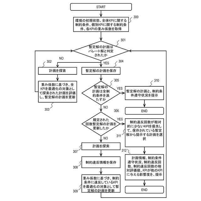
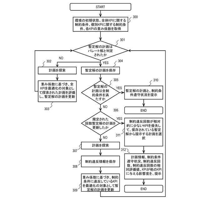
調停案提示システムの調停案算出フローチャート
調停案提示システムのハードウェア構成図
調停案提示システムの調停案提示時のユーザインターフェース
調停案提示システムの調停案提示時のユーザインターフェース
調停案提示システムの調停案提示時のユーザインターフェース
調停案提示システムの調停案提示時のユーザインターフェース
調停案提示システムの計画アクセス時のユーザインターフェース
調停案提示システムの計画アクセス時のユーザインターフェース
【発明を実施するための形態】
【0008】
以下、実施例を、図面を用いて説明する。便宜上その必要があるときは、複数のセクションまたは実施例に分割して説明するが、特に明示した場合を除き、それらは互いに無関係なものではなく、一方は他方の一部または全部の変形例、詳細、補足説明等の関係にある。また、以下において、要素の数等(個数、数値、量、範囲等を含む)に言及する場合、特に明示した場合及び原理的に明らかに特定の数に限定される場合等を除き、その特定の数に限定されるものではなく、特定の数以上でも以下でもよい。
【0009】
プロセッサは、主記憶デバイスに記憶されているプログラムを実行することによって所定の機能を実現する。主記憶デバイスは、プロセッサによって実行されるプログラム、及び、プログラムの実行に必要なデータを記憶する。プログラムは、不図示のOS(Operating System)の他、プログラムを含む。プロセッサは、複数のチップ及び複数のパッケージを含むことができる。
【0010】
プログラムはプロセッサによって実行されることで、定められた処理を記憶装置及び通信ポート(通信デバイス)を用いながら行う。従って、本実施形態及び他の実施形態においてプログラムを主語とする説明は、プロセッサを主語とした説明でもよい。若しくは、プログラムが実行する処理は、そのプログラムが動作する計算機及び計算機システムが行う処理である。
(【0011】以降は省略されています)
この特許をJ-PlatPat(特許庁公式サイト)で参照する
関連特許
株式会社日立製作所
鉄道車両
24日前
株式会社日立製作所
放射線モニタ
17日前
株式会社日立製作所
ガス分離システム
24日前
株式会社日立製作所
システム検証方法
5日前
株式会社日立製作所
鉄道車両用空調装置
4日前
株式会社日立製作所
調停案提示システム
25日前
株式会社日立製作所
部品管理装置及び方法
1か月前
株式会社日立製作所
店舗管理装置および方法
5日前
株式会社日立製作所
乗降床及び乗客コンベア
3日前
株式会社日立製作所
飲食店提案装置および方法
5日前
株式会社日立製作所
データ変換装置および方法
18日前
株式会社日立製作所
検索システム及び検索方法
5日前
株式会社日立製作所
署名照合システム及び方法
11日前
株式会社日立製作所
乗りかご及びエレベーター
5日前
株式会社日立製作所
乗りかご及びエレベーター
6日前
株式会社日立製作所
生体認証装置、生体認証方法
4日前
株式会社日立製作所
購入関連行動分析装置および方法
4日前
株式会社日立製作所
物体検出装置および物体検出方法
11日前
株式会社日立製作所
立体構造宇宙機及びその制御方法
3日前
株式会社日立製作所
治療効果予測システムおよび方法
25日前
株式会社日立製作所
単体テスト装置及び単体テスト方法
6日前
株式会社日立製作所
計算機システム及びデータ送信方法
12日前
株式会社日立製作所
情報処理方法及び情報処理システム
6日前
株式会社日立製作所
情報処理システム、及び情報処理方法
1か月前
株式会社日立製作所
データ処理装置およびデータ処理方法
3日前
株式会社日立製作所
計算機システム及び障害対処支援方法
25日前
株式会社日立製作所
圧延設定支援装置及び圧延設定支援方法
24日前
株式会社日立製作所
計算機システムおよびアクセス検証方法
3日前
株式会社日立製作所
燃料電池ブロックおよび燃料電池システム
25日前
株式会社日立製作所
電力変換装置及び電力変換装置の制御方法
3日前
株式会社日立製作所
対話型時系列分析システムおよびその方法
13日前
株式会社日立製作所
農業経営支援装置および農業経営支援方法
3日前
株式会社日立製作所
支援装置、支援方法、及び支援プログラム
12日前
株式会社日立製作所
計算機システム及び予測モデルの学習方法
12日前
株式会社日立製作所
ファイル管理システム及びファイル管理方法
5日前
株式会社日立製作所
ドア開閉装置、乗りかご、及びエレベーター
6日前
続きを見る
他の特許を見る