TOP
|
特許
|
意匠
|
商標
特許ウォッチ
Twitter
他の特許を見る
公開番号
2025169154
公報種別
公開特許公報(A)
公開日
2025-11-12
出願番号
2025031192
出願日
2025-02-28
発明の名称
ソースコードを生成する方法
出願人
株式会社日立製作所
代理人
藤央弁理士法人
主分類
G06F
8/35 20180101AFI20251105BHJP(計算;計数)
要約
【課題】データ取得アプリケーションプログラミングインタフェース(API)及び同様のタスクのソースコードを自動的に生成するシステム及び方法を提供する。
【解決手段】方法は、APIタイプに関連付けられたユーザ要求を受信したことに応答して、テンプレートデータベースからテンプレートを取得し、テンプレートをユーザに提供して、ユーザ定義要件を取得し、ユーザ定義要件を使用して、APIコード作成データベースから、ユーザ定義要件に関連付けられ、かつ、ソースコードに関連付けられた履歴要件を取得する。履歴要件がユーザ定義要件と同一であることに応答して、APIエンドポイントをユーザに伝達するか又は同一でないことに応答して、ユーザ定義要件とソースコードを生成AIモデルに提供してAPIソースコードを要求し、APIソースコードとエンドポイント名を受信したことに応答して、エンドポイント名をユーザに伝達する。
【選択図】図4
特許請求の範囲
【請求項1】
ソースコードを生成する方法であって、
APIタイプに関連付けられたユーザ要求を受信したことに応答して、テンプレートデータベースからテンプレートを取得し、
前記テンプレートをユーザに提供して、ユーザ定義要件を取得し、
前記ユーザ定義要件を使用して、APIコード作成データベースから、前記ユーザ定義要件に関連付けられ、ソースコードに関連付けられた、履歴要件を取得し、
前記履歴要件が前記ユーザ定義要件と同一であることに応答して、APIエンドポイントを前記ユーザに伝達し、
前記履歴要件が前記ユーザ定義要件と同一でないことに応答して、前記ユーザ定義要件と前記ソースコードを生成AIモデルに提供してAPIソースコードを要求し、
前記APIソースコードとエンドポイント名を受信したことに応答して、前記エンドポイント名を前記ユーザに伝達する、ことを含む方法。
続きを表示(約 1,000 文字)
【請求項2】
請求項1に記載の方法であって、
前記ユーザ定義要件、前記APIソースコード、又は前記APIエンドポイントの少なくとも1つを、前記APIコード作成データベースに登録することをさらに含む、方法。
【請求項3】
請求項1に記載の方法であって、
前記APIタイプはデータ取得APIであり、前記APIエンドポイントは機能APIエンドポイントである、方法。
【請求項4】
請求項1に記載の方法であって、
前記履歴要件は、前記ユーザ定義要件に関連付けられる類似性又は優先度の少なくとも1つに基づいて選択されている、方法。
【請求項5】
請求項1に記載の方法であって、
前記ユーザ定義要件に基づいて前記テンプレートを更新することをさらに含む、方法。
【請求項6】
請求項1に記載の方法であって、
前記APIコード作成データベース又は前記生成AIモデルの少なくとも1つを、要件-ソースコードのペアで更新することをさらに含む、方法。
【請求項7】
請求項1に記載の方法であって、
前記ソースコードを解析して、前記ユーザ定義要件が前記ソースコードと関連付けられるか否かを判定することをさらに含む、方法。
【請求項8】
ソースコードを生成するシステムであって、
APIタイプに関連付けられたユーザ要求を受け取る、ユーザインタフェースと、
ユーザ定義要件を得るためにユーザに提供されるテンプレートを格納する、テンプレートデータベースと
前記ユーザ定義要件の受信に応答して、履歴ソースコードに関連付けられた履歴要件を提供し、前記ユーザ定義要件を提供する、APIコード作成データベースと、
前記ユーザ定義要件及び前記履歴ソースコードの受信に応答して、前記システムが前記ユーザに提供するAPIソースコードを生成する、生成AIモデルと、を含むシステム。
【請求項9】
請求項8に記載のシステムであって、
前記ユーザインタフェースにクエリを伝達してクエリ結果を得る、メッセージ作成部をさらに含む、システム。
【請求項10】
請求項9に記載のシステムであって、
前記メッセージ作成部は、前記APIソースコード及びエンドポイント名を受信したことに応答して、前記エンドポイント名を前記ユーザに伝達する、システム。
(【請求項11】以降は省略されています)
発明の詳細な説明
【技術分野】
【0001】
本開示は、一般にソースコード生成ツールに関し、より具体的には、データ取得アプリケーションプログラミングインタフェース(API)及び同様のタスクのソースコードを自動的に生成するシステム及び方法に関する。
続きを表示(約 3,300 文字)
【背景技術】
【0002】
近年、様々な業界において、データを戦略的に活用することで業務効率を向上させる試みがなされている。データを活用するアプリケーションでは、データ統合のためにAPIへのアクセスが必要となることが多い。しかし、必要なAPIが利用できない場合、必要なデータを取得するための新たなAPIを開発する必要が生じる。このように適切なAPIが存在しないことが、アプリケーション開発プロセスのボトルネックになることがある。高度なチャットボットなど、自然言語処理を組み込んだ生成人工知能(AI)ツールが提供するサービスを活用すれば、ユーザはAPIで使用するソースコードを生成してデータ取得タスクを実行できる。しかし、生成されたコードの精度を向上させることは依然として課題である。従って、データ取得API用のソースコードを高い精度で自動生成できるシステム及び方法が望まれる。
【発明の概要】
【0003】
本開示のいくつかの態様において、データ取得タスクのためのAPIソースコードの生成は、API要件テンプレートデータベースとコード作成データベースとを組み合わせて、ユーザ要件を既存のテンプレートにマッチさせるシステム及び方法を利用することによって効率化される。そのマッチングに基づき、生成AIを使用して新しいAPIソースコードを一から生成することができる。API要件テンプレートデータベースは、特定のデータ取得API用に設計されたユーザ定義テンプレートの作成を支援する要件テンプレートを格納する。また、APIコード作成データベースは、以前に生成されたAPIのソースコードと、そのソースコードに関連付けられ、テンプレートと同じ形式で構造化された、要件とを格納する。ユーザ定義テンプレートの内容は、APIコード作成データベースに格納されている既存の要件と比較され、ユーザ定義テンプレートと対応する既存のソースコードに最も近い既存のテンプレートを見つける。その後、ソースコードとユーザ要件が外部のプログラムや生成AIに提供され、データ取得APIのソースコードが自動生成される。
【0004】
本開示のいくつかの態様は、自動ソースコード生成システムを含むことができ、この自動ソースコード生成システムは、APIタイプに関連付けられたユーザ要求を受信するユーザインタフェースと、ユーザ定義要件を取得するためにユーザに提供されるテンプレートを格納するテンプレートデータベースと、ユーザ定義要件を受信することに応答して、履歴(historic)ソースコード及びユーザ定義要件に関連付けられる履歴要件を提供するAPIコード作成データベースと、ユーザ定義要件及び履歴ソースコードを受信することに応答して、次にユーザに提供されるAPIソースコードを生成する生成AIモデルと、を含むことができる。
【0005】
本開示のいくつかの態様は、システムを含むことができ、そのシステムは、APIタイプに関連付けられたユーザ要求の受信に応答して、テンプレートデータベースからテンプレートを取得するための手段と、ユーザ定義要件を取得するためにユーザにテンプレートを提供するための手段と、ユーザ定義要件を使用して、APIコード作成データベースから、ユーザ定義要件に関連付けられ、ソースコードに関連付けられる履歴要件を取得するための手段と、履歴要件がユーザ定義要件と同一であることに応答して、APIエンドポイントをユーザに伝達する手段と、履歴要件がユーザ定義要件と同一でないことに応答して、ユーザ定義要件とソースコードを生成AIモデルに提供してAPIソースコードを要求する手段と、APIソースコードとエンドポイント名を受信することに応答して、エンドポイント名をユーザに伝達する手段と、を含むことができる。
【図面の簡単な説明】
【0006】
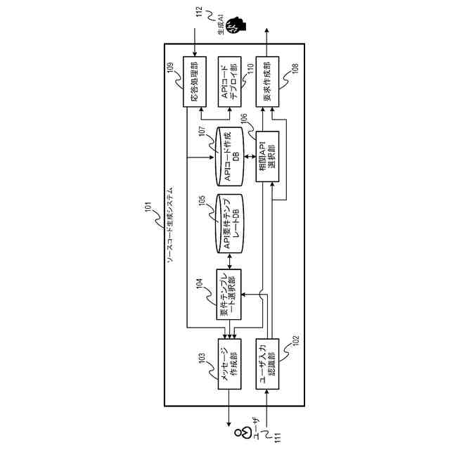
実施例に従った、ソースコード生成システムを示す。
実施例に従った、API要件テンプレートを示す。
実施例に従った、API要件テンプレートを示す。
実施例に従った、API要件テンプレートを示す。
実施例に従った、APIコード作成データベース内のレコードを示す。
実施例に従った、APIコード作成データベース内のレコードを示す。
実施例に従った、APIコード作成データベース内のレコードを示す。
実施例に従った、APIソースコード作成システムを使用するためのプロセスを示すフローチャートである。
実施例に従った、APIに対するユーザ定義要件のテーブルを示す図である。
実施例に従った、メッセージの内容を示す図である。
実施例に従った、生成AIモジュールによって生成されたメッセージを示す図である。
実施例に従った、APIソースコード作成システムを使用するための一般化されたプロセスを示すフローチャートである。
実施例において使用できる例示的な計算機を含むコンピューティング環境を示す。
【発明を実施するための形態】
【0007】
以下の詳細な説明は、本願の図及び実施例の詳細を提供する。図間の参照数字及び冗長な要素の説明は、明確化のため省略されている場合がある。本明細書を通して使用される用語は、一例として与えられ、限定することを意図していない。例えば、「自動」という用語の使用は、本願発明の実施態様を実践する当業者の所望の実施態様に応じて、実施におけるの特定の態様に対するユーザ又は管理者の制御を伴う完全自動又は半自動実施態様を含むことができる。選択は、ユーザインタフェース又は他の入力手段を通じてユーザによって実施することができ、又は所望のアルゴリズムを通じて実施できる。本明細書で説明する実施例は、単数又は組み合わせのいずれかを利用することができ、実施例の機能は、所望の実装に従って任意の手段を通じて実装することができる。本明細書では、「テンプレート」及び「テーブル」という用語は互換的に使用され、同様に、「既存」及び「履歴」という用語も互換的に使用される。
【0008】
図1は、一実施例によるソースコード生成システムを示す。実施例において、ソースコード生成システム101は、メッセージ作成部103、要件テンプレート選択部104、API要件テンプレートデータベース105、相関API選択部106、APIコード作成データベース107、要求作成部108、応答処理部109、及びAPIコードデプロイ部110を含む。
【0009】
動作において、システム101は、ユーザ111及び生成AI112のような外部システムと対話することによって、APIソースコードを生成する。システム101は、ユーザ入力に基づいてソースコード作成の要求を生成し、これらの要求を生成AI112に送信する。生成AI112によって生成されたAPIソースコードを受信すると、システム101は、このソースコードをデプロイし、APIエンドポイントをユーザ111に送信する。さらに、システム101は、ユーザ111から受け取った要求とAPIソースコードをAPIコード作成データベース107に登録する。
【0010】
具体的には、ユーザ111からの入力を受信することに応答して、システム101は、メッセージ作成部103を使用して、ユーザ111が生成又はそれを介したデータ取得(データ検索)を希望するデータ取得(データ検索)APIのタイプを問い合わせる。例えば、ユーザ111がユーザ検証プロセスの後にユーザ入力認識部102へのアクセスに成功した際に、適切なメッセージを生成してユーザ111に伝達することによって達成することができる。API生成を通じてユーザが取得を希望するデータのタイプに関する情報は、要件テンプレート選択部104に入力される。
(【0011】以降は省略されています)
この特許をJ-PlatPat(特許庁公式サイト)で参照する
関連特許
株式会社日立製作所
鉄道車両
27日前
株式会社日立製作所
放射線モニタ
20日前
株式会社日立製作所
ガス分離システム
27日前
株式会社日立製作所
システム検証方法
8日前
株式会社日立製作所
鉄道車両用空調装置
7日前
株式会社日立製作所
乗降床及び乗客コンベア
6日前
株式会社日立製作所
生産ライン設計システム
1日前
株式会社日立製作所
店舗管理装置および方法
8日前
株式会社日立製作所
検索システム及び検索方法
8日前
株式会社日立製作所
データ変換装置および方法
21日前
株式会社日立製作所
飲食店提案装置および方法
8日前
株式会社日立製作所
署名照合システム及び方法
14日前
株式会社日立製作所
乗りかご及びエレベーター
9日前
株式会社日立製作所
乗りかご及びエレベーター
8日前
株式会社日立製作所
ソースコードを生成する方法
1日前
株式会社日立製作所
生体認証装置、生体認証方法
7日前
株式会社日立製作所
立体構造宇宙機及びその制御方法
6日前
株式会社日立製作所
物体検出装置および物体検出方法
14日前
株式会社日立製作所
治療効果予測システムおよび方法
28日前
株式会社日立製作所
購入関連行動分析装置および方法
7日前
株式会社日立製作所
単体テスト装置及び単体テスト方法
9日前
株式会社日立製作所
計算機システム及びデータ送信方法
15日前
株式会社日立製作所
情報処理方法及び情報処理システム
9日前
株式会社日立製作所
計算機システム及び障害対処支援方法
28日前
株式会社日立製作所
データ処理装置およびデータ処理方法
6日前
株式会社日立製作所
計算機システムおよびアクセス検証方法
6日前
株式会社日立製作所
圧延設定支援装置及び圧延設定支援方法
27日前
株式会社日立製作所
対話型時系列分析システムおよびその方法
16日前
株式会社日立製作所
農業経営支援装置および農業経営支援方法
6日前
株式会社日立製作所
燃料電池ブロックおよび燃料電池システム
28日前
株式会社日立製作所
支援装置、支援方法、及び支援プログラム
15日前
株式会社日立製作所
電力変換装置及び電力変換装置の制御方法
6日前
株式会社日立製作所
計算機システム及び予測モデルの学習方法
15日前
株式会社日立製作所
協調行動支援システム及び協調行動支援方法
1日前
株式会社日立製作所
ドア開閉装置、乗りかご、及びエレベーター
9日前
株式会社日立製作所
設備運用支援システム及び設備運用支援方法
6日前
続きを見る
他の特許を見る