TOP
|
特許
|
意匠
|
商標
特許ウォッチ
Twitter
他の特許を見る
公開番号
2025175382
公報種別
公開特許公報(A)
公開日
2025-12-03
出願番号
2024081452
出願日
2024-05-20
発明の名称
鉄道車両の排障器及び鉄道車両
出願人
株式会社日立製作所
代理人
青稜弁理士法人
主分類
B61F
19/04 20060101AFI20251126BHJP(鉄道)
要約
【課題】鉄道車両の排障器に効果的に補強部材を設け、軽量かつ高強度な鉄道車両の排障器及びこれを備えた鉄道車両を提供する。
【解決手段】鉄道車両の排障器は、鉄道車両の先頭部に設けられる障害物を排除するための排障部と、排障部と鉄道車両構体の間に設けられた二つの中梁と、を有する。中梁は、排障部の車両先頭方向後部、又は、排障部の鉛直方向上部及び車両先頭方向後部の両方に接続され、中梁の排障部と接続される側の端部から車両後方に延びる部分の鉛直方向上部に空間が形成され、一つの中梁に対し車両幅方向の外側及び内側のそれぞれに排障部と接続される補強部材を備える。
【選択図】図1
特許請求の範囲
【請求項1】
鉄道車両の先頭部に設けられる障害物を排除するための排障部と、
前記排障部と鉄道車両構体の間に設けられた二つの中梁と、
を有する鉄道車両の排障器であって、
前記中梁は、前記排障部の車両先頭方向後部、又は、前記排障部の鉛直方向上部及び前記車両先頭方向後部の両方に接続され、
前記中梁の前記排障部と接続される側の端部から車両後方に延びる部分の鉛直方向上部に空間が形成され、
一つの前記中梁に対し車両幅方向の外側及び内側のそれぞれに前記排障部と接続される補強部材が設けられた、
ことを特徴とする鉄道車両の排障器。
続きを表示(約 1,100 文字)
【請求項2】
請求項1に記載の排障器において、
前記排障部には、板状の複数の梁が設けられ、
車両幅方向の外側に設けられた前記補強部材は、厚さ方向の断面の少なくとも一部が、前記排障器の上面を構成する板部の断面及び前記梁の断面の何れか、又は、前記板部の断面及び前記梁の断面と水平方向において重なるように設けられる、
ことを特徴とする、
鉄道車両の排障器。
【請求項3】
請求項1に記載の鉄道車両の排障器において、
前記補強部材は、フィレットを含む、
ことを特徴とする鉄道車両の排障器。
【請求項4】
請求項1に記載の鉄道車両の排障器において、
前記補強部材は、
一つの前記中梁に対して車両幅方向において外側に設けられた複数の第1補強部材と、一つの前記中梁に対して車両幅方向において内側に設けられた第2補強部材と、
を含み、
複数の前記第1補強部材の一つは、
厚さ方向の断面の少なくとも一部が前記中梁に対して前記排障部の上面を構成する板部の断面と水平方向において重なるように設けられ、且つ、前記空間の車両先頭から後部方向の端部の鉛直線上を超えない範囲で前記中梁に設けられる、
ことを特徴とする鉄道車両の排障器。
【請求項5】
請求項4に記載の鉄道車両の排障器において、
前記一つの前記第1補強部材以外の他の前記第1補強部材は、
前記空間の車両先頭から後部方向の端部の鉛直線上を超える範囲まで配置される前記第1補強部材を少なくとも一つ含む、
ことを特徴とする鉄道車両の排障器。
【請求項6】
請求項5に記載の鉄道車両の排障器において、
前記排障部には、板状の複数の梁が設けられ、
前記他の前記第1補強部材の少なくとも一つは、厚さ方向の断面の少なくとも一部が前記梁の断面と重なるように設けられる、
ことを特徴とする鉄道車両の排障器。
【請求項7】
排障器を備えた鉄道車両であって、
前記排障器は、
鉄道車両の先頭部に設けられる障害物を排除するための排障部と、
前記排障部と鉄道車両構体の間に設けられた二つの中梁と、
を有し、
前記中梁は、前記排障部の車両先頭方向後部、又は、前記排障部の鉛直方向上部及び前記車両先頭方向後部の両方に接続され、
前記中梁の前記排障部と接続される側の端部から車両後方に延びる部分の鉛直方向上部に空間が形成され、
一つの前記中梁に対し車両幅方向の外側及び内側のそれぞれに前記排障部と接続される補強部材が設けられた、
ことを特徴とする鉄道車両。
発明の詳細な説明
【技術分野】
【0001】
本発明は、鉄道車両の排障器及び鉄道車両に関する。
続きを表示(約 1,500 文字)
【背景技術】
【0002】
鉄道車両の車体台枠の前部に設けられた排障器が下記特許文献1に記載されている。この特許文献1には、「排障板は、障害物を面で受けるように配置されて平面視で走行方向前方に向けて凸状に湾曲した形状を有する主板部と、前記主板部から後方に向けて突出する副板部とを有し、前記副板部は、前記主板部のうち凸状に湾曲した前端部分から走行方向後方の左右一対の両端部分に向けて前記主板部に沿って連続して設けられている。」と記載されている。
【先行技術文献】
【特許文献】
【0003】
特開2012-106684号公報
【発明の概要】
【発明が解決しようとする課題】
【0004】
特許文献1には、障害物から車体を保護する排障板を補強した鉄道車両の排障器が記載されている。しかし、特許文献1に記載された排障器は、障害物が衝突した際に大きな変形を伴い、その度に排障器を交換しなければならない問題があった。
【0005】
本発明は上記課題を解決するためになされた。即ち、本発明の目的一つは、鉄道車両の排障器に効果的に補強部材を設け、軽量かつ高強度な鉄道車両の排障器及びこれを備えた鉄道車両を提供することにある。
【課題を解決するための手段】
【0006】
本発明の鉄道車両の排障器は、鉄道車両の先頭部に設けられる障害物を排除するための排障部と、
前記排障部と鉄道車両構体の間に設けられた二つの中梁と、を有する鉄道車両の排障器であって、前記中梁は、前記排障部の車両先頭方向後部、又は、前記排障部の鉛直方向上部及び前記車両先頭方向後部の両方に接続され、前記中梁の前記排障部と接続される側の端部から車両後方に延びる部分の鉛直方向上部に空間が形成され、一つの前記中梁に対し車両幅方向の外側及び内側のそれぞれに前記排障部と接続される補強部材が設けられたことを特徴とする。
【0007】
本発明の鉄道車両は、排障器を備えた鉄道車両であって、前記排障器は、鉄道車両の先頭部に設けられる障害物を排除するための排障部と、前記排障部と鉄道車両構体の間に設けられた二つの中梁と、を有し、前記中梁は、前記排障部の車両先頭方向後部、又は、前記排障部の鉛直方向上部及び前記車両先頭方向後部の両方に接続され、前記中梁の前記排障部と接続される側の端部から車両後方に延びる部分の鉛直方向上部に空間が形成され、一つの前記中梁に対し車両幅方向の外側及び内側のそれぞれに前記排障部と接続される補強部材が設けられたことを特徴とする。
【発明の効果】
【0008】
本発明によれば、軽量かつ高強度な鉄道車両の排障器を提供することができる。上記した以外の課題、構成及び効果は、以下の実施形態の説明により明らかにされる。
【図面の簡単な説明】
【0009】
図1は本発明に係る排障器の全様を示す概略図である。
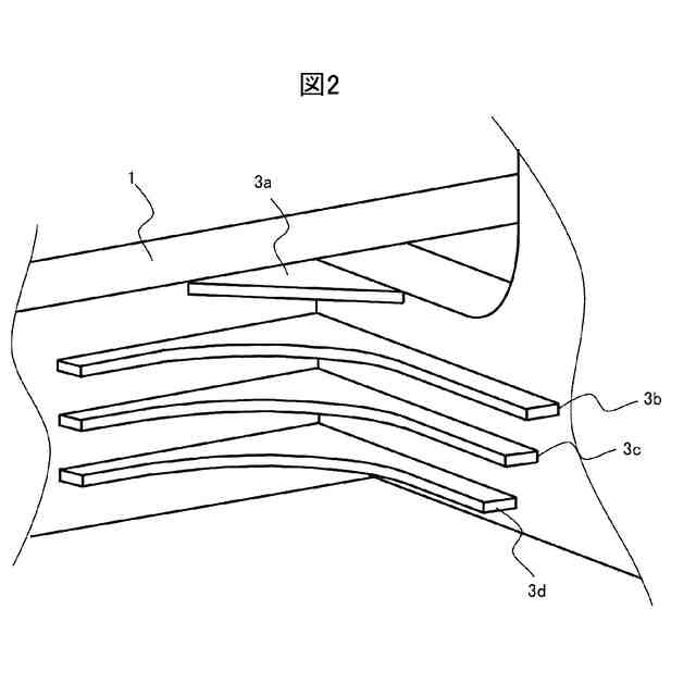
図2は図1に示す排障器の補強部材の一例の構造を示す図である。
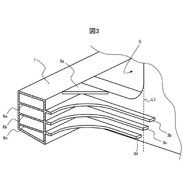
図3は図2に示す排障器及び補強部材の断面を示す図である。
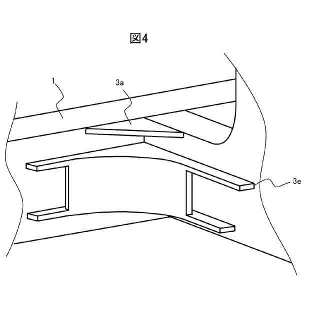
図4は図1に示す排障器の補強部材の構造の例を示す図である。
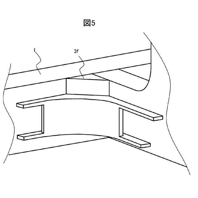
図5は図1に示す排障器の補強部材の構造の例を示す図である。
図6は本発明に係る排障器の変形例を示す図である。
【発明を実施するための形態】
【0010】
以下、本発明の実施例について図面を用いて説明する。なお、実施例の全図において、同一又は対応する部分には同一の符号を付す場合がある。
(【0011】以降は省略されています)
この特許をJ-PlatPat(特許庁公式サイト)で参照する
関連特許
株式会社日立製作所
演算装置
6日前
株式会社日立製作所
回転電機
6日前
株式会社日立製作所
冷却構造
今日
株式会社日立製作所
鉄道車両
1か月前
株式会社日立製作所
軌条車両
今日
株式会社日立製作所
電力変換装置
1日前
株式会社日立製作所
電力変換装置
今日
株式会社日立製作所
放射線モニタ
1か月前
株式会社日立製作所
システム検証方法
29日前
株式会社日立製作所
電力変換システム
14日前
株式会社日立製作所
ガス分離システム
1か月前
株式会社日立製作所
調停案提示システム
1か月前
株式会社日立製作所
鉄道車両用空調装置
28日前
株式会社日立製作所
分散電源管理システム
1日前
株式会社日立製作所
部品管理装置及び方法
1か月前
株式会社日立製作所
施設管理装置および方法
14日前
株式会社日立製作所
生産ライン設計システム
22日前
株式会社日立製作所
店舗管理装置および方法
29日前
株式会社日立製作所
乗降床及び乗客コンベア
27日前
株式会社日立製作所
署名照合システム及び方法
1か月前
株式会社日立製作所
乗りかご及びエレベーター
29日前
株式会社日立製作所
データ変換装置および方法
1か月前
株式会社日立製作所
飲食店提案装置および方法
29日前
株式会社日立製作所
検索システム及び検索方法
29日前
株式会社日立製作所
乗りかご及びエレベーター
1か月前
株式会社日立製作所
膜分離設備設計支援システム
14日前
株式会社日立製作所
IT運用管理装置および方法
7日前
株式会社日立製作所
生体認証装置、生体認証方法
28日前
株式会社日立製作所
ソースコードを生成する方法
22日前
株式会社日立製作所
検証システムおよび検証方法
6日前
株式会社日立製作所
モータ、及びロータ固定構造
6日前
株式会社日立製作所
ソフトエラー率評価システム
15日前
株式会社日立製作所
宇宙機、地上局及びアンテナ
14日前
株式会社日立製作所
設計支援装置及び設計支援方法
6日前
株式会社日立製作所
鉄道車両の排障器及び鉄道車両
1日前
株式会社日立製作所
スカートモール及び乗客コンベア
14日前
続きを見る
他の特許を見る