TOP
|
特許
|
意匠
|
商標
特許ウォッチ
Twitter
他の特許を見る
公開番号
2025170470
公報種別
公開特許公報(A)
公開日
2025-11-19
出願番号
2024075050
出願日
2024-05-07
発明の名称
ソフトエラー率評価システム
出願人
株式会社日立製作所
代理人
ポレール弁理士法人
主分類
G06F
11/36 20060101AFI20251112BHJP(計算;計数)
要約
【課題】プログラム変更によるソフトエラー率の変化を高速に評価するソフトエラー率評価システムを構築する。
【解決手段】電子装置の放射線耐性を評価するソフトエラー率評価システムであって、(a)複数の照射評価用プログラムとそのプログラム入力条件とから、複数の照射評価用プログラムのそれぞれの実行時の第1の特徴量を抽出する手順と、(b)複数の照射評価用プログラムのそれぞれの第1の特徴量と、予め実施した中性子照射試験で得られた複数の照射評価用プログラム毎のソフトエラー率とから統計分析モデリングを行って統計分析モデルを生成する統計分析モデル化手順と、(c)評価対象プログラムとそのプログラム入力条件とから、評価対象プログラムの実行時の第2の特徴量を抽出する手順と、(d)評価対象プログラムの第2の特徴量から、統計分析モデルを用いて評価対象プログラムのソフトエラー率を計算するソフトエラー率計算手順と、を備える。
【選択図】 図1
特許請求の範囲
【請求項1】
ロジック半導体デバイスが採用された電子装置の放射線耐性を評価するソフトエラー率評価システムであって、
(a)複数の照射評価用プログラムとそのプログラム入力条件とから、前記複数の照射評価用プログラムのそれぞれの実行時の第1の特徴量を抽出する手順と、
(b)前記複数の照射評価用プログラムのそれぞれの前記第1の特徴量と、予め実施した中性子照射試験で得られた前記複数の照射評価用プログラム毎のソフトエラー率とから統計分析モデリングを行って統計分析モデルを生成する統計分析モデル化手順と、
(c)評価対象プログラムとそのプログラム入力条件とから、前記評価対象プログラムの実行時の第2の特徴量を抽出する手順と、
(d)前記評価対象プログラムの前記第2の特徴量から、前記統計分析モデルを用いて前記評価対象プログラムのソフトエラー率を計算するソフトエラー率計算手順と、を備えることを特徴とする、ソフトエラー率評価システム。
続きを表示(約 270 文字)
【請求項2】
請求項1に記載のソフトエラー率評価システムにおいて、
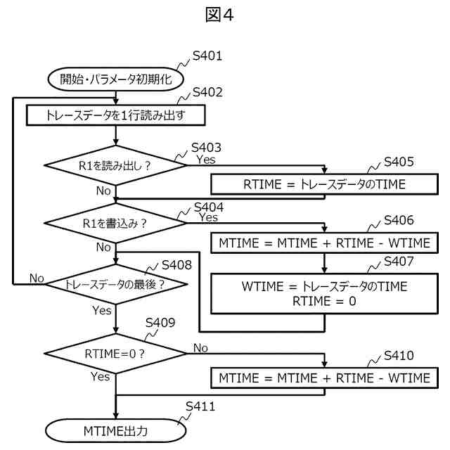
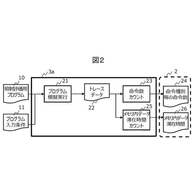
前記第1の特徴量および前記第2の特徴量は、少なくとも、前記ロジック半導体デバイスに含まれる機能ブロックごとのソフトエラー率に対応する特徴量である各命令の実行数と、メモリ内データ滞在時間と、を含む、ことを特徴とする、ソフトエラー率評価システム。
【請求項3】
請求項1または請求項2に記載のソフトエラー率評価システムにおいて、
前記統計分析モデルは、1次多項式の重回帰分析モデルである、ことを特徴とする、ソフトエラー率評価システム。
発明の詳細な説明
【技術分野】
【0001】
本開示は、ソフトエラー率評価システムに関し、特に、プロセッサなどのソフトウェアプログラムによりその動作が変更されるロジック半導体デバイスおよびそのロジック半導体デバイスが搭載された電子システムの放射線等起因のソフトエラー率を評価するソフトエラー率評価システムに関する。
続きを表示(約 2,900 文字)
【背景技術】
【0002】
特許文献1には、ターゲットマイコンのシミュレータにソフトエラーを発生させて該ターゲットマイコンに生じる影響を解析するソフトエラー解析装置であって、エラー内容、又は、エラー発生箇所が登録されたエラー情報記憶手段と、実行中の機能ブロックを特定する機能ブロック特定手段と、前記機能ブロック特定手段が特定した機能ブロックの前記エラー内容、又は、前記エラー発生箇所の前記発生確率を前記エラー情報記憶手段から読み出し、前記エラー内容又は前記エラー発生箇所の少なくとも一方に従ってシミュレータにソフトエラーを設定するエラー設定手段、を有することを特徴とするソフトエラー解析装置、エラー情報作成装置が記載されている。
【先行技術文献】
【特許文献】
【0003】
特開2014-160421号公報
【発明の概要】
【発明が解決しようとする課題】
【0004】
近年、モビリティシステムや産業機器などの自動化技術が台頭し、電子システムの信頼性は増々重要になっている。同時に、電子システムは複雑かつ大規模となってきており、電子システムを構成するモジュールの故障がシステムへ与える影響を見積もることは、信頼性および安定性向上には重要となっている。故障の中で、特に再現性の低い事象であるソフトエラーは最も考慮が必要な故障要因の1つである。ソフトエラーの主要因である放射線による電子システムへの影響評価は、放射線評価試験によって行われている。特に地球上で使用される電子機器においては、ソフトエラーの主要因となる放射線は中性子であるため、中性子評価試験が行われている。電子システムのうち、メモリデバイス(メモリ半導体デバイス)に対しては中性子照射評価試験手法が標準化されている。しかし、プロセッサやマイクロコンピュータ(以下、マイコンと称す)などの実行するプログラムによって動作が変わるロジック半導体デバイスに対しては中性子照射評価試験手法が標準化されておらず、デファクトな手法も提案されていない。
【0005】
また、宇宙産業分野においても、宇宙関連機器に専用の電子部品や電子システムを使用するのではなく、民生部品(COTS:Commercial Off-The-Shelf)活用に向けた取り組みがなされている。放射線が飛び交う宇宙環境におけるCOTSの信頼性評価やCOTSを活用した電子システムの高信頼化が求められている。
【0006】
一方、プロセッサやマイコンなどのロジック半導体デバイスにおける中性子起因ソフトエラー率は、実行するプログラムに依存することが知られている。従って、プロセッサやマイコンを組み込んだ電子システムのソフトエラー率評価を行う場合、電子システムが実際に使われる時のプログラムを実行させたり、一般的なベンチマークプログラムを実行させたりした状態で、その電子システムに中性子を照射しソフトエラー率を評価するという事が行われている。しかし、近年はOTA(Over The Air:ソフトウェアの更新などを行う際に、無線通信を経由してデータを送受信する技術)によるソフトウェアのアップデートが行われたり、アジャイル型の設計(アジャイル(agile)とは、計画、設計、実装、テストの4つのフェーズ(スプリント)をくり返しながら開発を進めていくイテレーション(反復)手法である。)が行われたりするようになってきており、電子システムの製品ライフサイクルの中で電子システムの実行プログラムが変わることが珍しくなくなってきている。このように、電子システムに採用される実行プログラムが変わるとソフトエラー率も変わるため、変更後の実行プログラムについてソフトエラー率の再評価が必要となる。現状では、変更後のプログラムを実行した時のソフトエラー率を得るためには、プログラム変更毎に中性子照射評価試験を再実施するしかなく、高コストかつ評価時間が長大(長TAT:ターンアラウンドタイム、Turn Around Time)という課題がある。また、宇宙産業分野など過酷環境で長期運用する場合においては地上よりも高い信頼性が求められ、搭載プログラムによるソフトエラー率への影響を詳細に評価する必要があると考えるが、複数のプログラムの評価試験をする必要があり、同様に、高コストかつ評価時間が長大という課題がある。
【0007】
本開示は、上記の点に鑑みてなされたものであって、電子製品や電子システムのライフサイクルの中でプログラム変更が行われるプロセッサやマイコンを含む電子システムにおいて、プログラム変更によるソフトエラー率の変化を高速に評価するソフトエラー率評価システムを構築する。これにより、中性子照射評価試験を行わずにソフトエラー率を評価し、中性子照射評価試験のコストの低減やソフトエラー率評価時間の短縮を実現することを目的とする。
【課題を解決するための手段】
【0008】
本開示の一態様に係るソフトエラー率評価システムは、
ロジック半導体デバイスが採用された電子装置の放射線耐性を評価するソフトエラー率評価システムであって、
(a)複数の照射評価用プログラムとそのプログラム入力条件とから、前記複数の照射評価用プログラムのそれぞれの実行時の第1の特徴量を抽出する手順と、
(b)前記複数の照射評価用プログラムのそれぞれの前記第1の特徴量と、予め実施した中性子照射試験で得られた前記複数の照射評価用プログラム毎のソフトエラー率とから統計分析モデリングを行って統計分析モデルを生成する統計分析モデル化手順と、
(c)評価対象プログラムとそのプログラム入力条件とから、前記評価対象プログラムの実行時の第2の特徴量を抽出する手順と、
(d)前記評価対象プログラムの前記第2の特徴量から、前記統計分析モデルを用いて前記評価対象プログラムのソフトエラー率を計算するソフトエラー率計算手順と、を備える。
【0009】
つまり、本開示の一態様によるソフトエラー率評価システムは、対象とするプロセッサやマイコンデバイスなどのロジック半導体デバイスに対して、一度の中性子照射評価試験によって放射線ソフトエラー率モデルとしての統計分析モデルを構築しておく。この様に、予め統計分析モデルを構築しておくことで、プロセッサやマイコンが搭載された電子システムにおける実行プログラムが変更された時、中性子照射試験を行わずに、放射線ソフトエラー率モデルを用いて放射線ソフトエラー率を評価可能とするソフトエラー率評価システムが提供できる。
【発明の効果】
【0010】
本開示の一態様のソフトエラー率評価システムによれば、プロセッサやマイコンを含む電子システムのプログラム変更があった際に、放射線ソフトエラー率評価を、コスト低減させ、かつ、短TATで実施することが出来る。
(【0011】以降は省略されています)
この特許をJ-PlatPat(特許庁公式サイト)で参照する
関連特許
株式会社日立製作所
鉄道車両
1か月前
株式会社日立製作所
放射線モニタ
27日前
株式会社日立製作所
システム検証方法
15日前
株式会社日立製作所
ガス分離システム
1か月前
株式会社日立製作所
電力変換システム
今日
株式会社日立製作所
調停案提示システム
1か月前
株式会社日立製作所
鉄道車両用空調装置
14日前
株式会社日立製作所
部品管理装置及び方法
1か月前
株式会社日立製作所
店舗管理装置および方法
15日前
株式会社日立製作所
生産ライン設計システム
8日前
株式会社日立製作所
施設管理装置および方法
今日
株式会社日立製作所
乗降床及び乗客コンベア
13日前
株式会社日立製作所
署名照合システム及び方法
21日前
株式会社日立製作所
データ変換装置および方法
28日前
株式会社日立製作所
乗りかご及びエレベーター
16日前
株式会社日立製作所
乗りかご及びエレベーター
15日前
株式会社日立製作所
ソフトウェア生成システム
1か月前
株式会社日立製作所
検索システム及び検索方法
15日前
株式会社日立製作所
飲食店提案装置および方法
15日前
株式会社日立製作所
ソースコードを生成する方法
8日前
株式会社日立製作所
膜分離設備設計支援システム
今日
株式会社日立製作所
宇宙機、地上局及びアンテナ
今日
株式会社日立製作所
情報処理装置、情報処理方法
1か月前
株式会社日立製作所
生体認証装置、生体認証方法
14日前
株式会社日立製作所
ソフトエラー率評価システム
1日前
株式会社日立製作所
情報処理装置及び情報処理方法
1か月前
株式会社日立製作所
治療効果予測システムおよび方法
1か月前
株式会社日立製作所
物体検出装置および物体検出方法
21日前
株式会社日立製作所
スカートモール及び乗客コンベア
今日
株式会社日立製作所
購入関連行動分析装置および方法
14日前
株式会社日立製作所
ガス分離システムの劣化診断装置
今日
株式会社日立製作所
立体構造宇宙機及びその制御方法
13日前
株式会社日立製作所
蒸発乾固装置および蒸発乾固方法
1か月前
株式会社日立製作所
テスト支援装置及びテスト支援方法
今日
株式会社日立製作所
単体テスト装置及び単体テスト方法
16日前
株式会社日立製作所
情報処理方法及び情報処理システム
16日前
続きを見る
他の特許を見る