TOP
|
特許
|
意匠
|
商標
特許ウォッチ
Twitter
他の特許を見る
10個以上の画像は省略されています。
公開番号
2025165439
公報種別
公開特許公報(A)
公開日
2025-11-05
出願番号
2024069460
出願日
2024-04-23
発明の名称
店舗管理装置および方法
出願人
株式会社日立製作所
代理人
ポレール弁理士法人
主分類
G06Q
10/063 20230101AFI20251028BHJP(計算;計数)
要約
【課題】
非常設店の出店による、施設への影響、特にその常設店への影響を把握することを課題とする。
【解決手段】
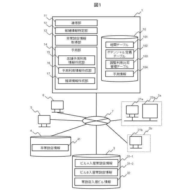
店舗が出店した場合の他店舗への影響を予測する店舗管理装置1において、前記店舗は非常設店であり、前記他店舗は常設店であり、出店候補に対する条件に応じた非常設店の利用に関する非常設店情報および前記常設店に関する入居常設店情報に基づき、前記非常設店が出店した場合の前記常設店の利用数量を示す常設店予測利用情報を作成する店舗予測利用情報作成部15を有する店舗管理装置1である。
【選択図】 図1
特許請求の範囲
【請求項1】
店舗が出店した場合の他店舗への影響を予測する店舗管理装置において、
前記店舗は非常設店であり、前記他店舗は常設店であり、
出店候補に対する条件に応じた非常設店の利用に関する非常設店情報、および前記常設店に関する入居常設店情報に基づき、前記非常設店が出店した場合の前記常設店の利用数量を示す常設店予測利用情報を作成する店舗予測利用情報作成部を有する店舗管理装置。
続きを表示(約 1,100 文字)
【請求項2】
請求項1に記載の店舗管理装置において、前記常設店予測利用情報を含む予測情報を出力する出力部を有する店舗管理装置。
【請求項3】
請求項2に記載の店舗管理装置において、
前記店舗予測利用情報作成部は、常設店および非常設店の利用者比率を定義する相関テーブル、およびポテンシャルに基づいて、前記常設店の利用数量を配分して、前記常設店予測利用情報を作成する店舗管理装置。
【請求項4】
請求項3に記載の店舗管理装置において、
前記相関テーブルは、常設店および非常設店のジャンルおよび属性の関係性ごとの利用者比率を定義する店舗管理装置。
【請求項5】
請求項4に記載の店舗管理装置において、
前記店舗予測利用情報作成部は、前記相関テーブルの利用者比率を、前記常設店および前記非常設店の店舗数に応じて調整し、調整された調整利用者比率を用いて、利用客数を配分し、配分された前記利用客数に基づいて前記常設店予測利用情報を作成する店舗管理装置。
【請求項6】
請求項1に記載の店舗管理装置において、
前記店舗予測利用情報作成部は、前記非常設店情報および前記入居常設店情報を用いて、前記非常設店が出店した場合の当該非常設店の非常設店予測利用情報を作成する店舗管理装置。
【請求項7】
請求項1に記載の店舗管理装置において、
さらに、
前記条件を含む、当該出店候補による影響についての予測依頼を受け付ける入力部と、
前記予測依頼に応じて、前記出店候補の利用に関する特性を示す非常設店候補情報を特定する候補情報特定部を有する店舗管理装置。
【請求項8】
請求項1に記載の店舗管理装置において、
前記常設店は所定の施設に入居しており、前記非常設店は前記施設から所定の距離内の領域である影響範囲に出店される店舗管理装置。
【請求項9】
請求項6に記載の店舗管理装置において、
さらに、前記常設店予測利用情報および前記非常設店予測利用情報に基づいて、出店に関する提案内容を示し、出店を提案する非常設店の店名出店を提案する非常設店の種別、および出店時期の少なくとも1つを含む推奨情報を作成する推奨情報作成部を有する店舗管理装置。
【請求項10】
請求項9に記載の店舗管理装置において、
前記常設店予測利用情報は、該当の常設店の売上を含み、前記非常設店予測利用情報は、該当の非常設店の売上を含み、
前記推奨情報作成部は、前記常設店の売上および非常設店の売上の合算値に基づいて、前記推奨情報を作成する店舗管理装置。
(【請求項11】以降は省略されています)
発明の詳細な説明
【技術分野】
【0001】
本発明は、店舗の出店を管理するための技術に関する。その中でも特に、常設店が出店されている施設ないしその周辺といった影響領域(エリア)への非常設店の出店を管理するための技術に関する。
続きを表示(約 1,800 文字)
【背景技術】
【0002】
現在、フランチャイズ店舗など店舗における出店計画の策定、評価や出店の判断に、情報処理技術が利用されている。このため、出店に関する様々な要因を考慮し、その影響を把握して判断等を行われている。例えば、特許文献1では、「売上予測モデルの内容が客観的に理解され易いために、出店する者が適切な新規出店計画の評価を行う」ことを課題とし、「統計データを格納した統計データベース10と、競合店の店舗データを格納した店舗データベース11と、競合店の営業実績データを格納した実績データベース12と、入力手段2と、検索条件によって統計データベース10と店舗データベース11と実績データベース12とからデータを検索集計するデータ検索集計手段3と、競合店データと、分類するための店の属性を入力し、競合店を階層的に分類する分類手段4と、分類された競合店グループに最適売上予測モデルを推定し、その評価値を算出するモデル推定・評価手段5と、競合店の分類の推進と停止を制御する分類制御手段6と、競合店の階層的分類と最適売上予測モデルとを出力する出力手段7と、を備えた」新規出店評価支援装置が記載されている。
【先行技術文献】
【特許文献】
【0003】
特開平10-240799号公報
【発明の概要】
【発明が解決しようとする課題】
【0004】
ここで、常設店が出店されている施設において、非常設店の出店が誘致されることがある。このような非常設店の施設の敷地内などの影響領域への出店により、施設利用者の利便性を向上したり、新規の利用者を誘引されたりすることもある。例えば、常設飲食店が出店されているビルに対し、いわゆるキッチンカーや屋台のような非常設飲食店が出店することで、ビルでの就業者の選択肢が増えることになる。
【0005】
但し、キッチンカーといった非常設店の出店は、常設店へ負の影響を与えることも考えられる。例えば、常設店の売り上げが減少することもある。この結果、常設店の店主などの関係者の不満が生まれたり、売り上げの減少が続くことにより常設店の退居に繋がったりする。この結果、ビルの運営者にとっては空きテナントの増加との課題を抱えることになってしまう。
【0006】
これらの課題に対し、特許文献1では、新規出店する店舗の競合店の店舗データと営業実績データから、新規出店する店舗の売り上げを予測しているため、非常設店の出店については考慮されていない。特に、非常設店については、その出店数や出店期間が流動的に変化しているが、特許文献1ではこの点が考慮されていなかった。このため、特許文献1では、施設における影響領域への非常設店の出店による、施設の常設店への影響を把握することができなかった。そこで、本発明では、施設等、影響領域(エリア)への非常設店の出店による、施設の常設店への影響を把握することを課題とする。
【課題を解決するための手段】
【0007】
上記の課題を解決するために、本発明では、施設に出店している常設店および影響領域へ出店候補の非常設店の利用情報から、常設店の利用に関する予測を行う。なお、出店候補とは、非常設店側の要望であってもよいし、施設側からの起案や提案であってもよい。
【0008】
より具体的には、店舗が出店した場合の他店舗への影響を予測する店舗管理装置において、前記店舗は非常設店であり、出店候補に対する条件に応じた非常設店の利用に関する非常設店情報および前記常設店に関する入居常設店情報に基づき、前記非常設店が出店した場合の前記常設店の利用数量を示す常設店予測利用情報を作成する店舗予測利用情報作成部を有する店舗管理装置である。
【0009】
また、本発明には、この店舗管理装置が実行する店舗管理方法や店舗管理装置をコンピュータとして機能させるためのプログラムおよびこれを格納する記憶媒体も含まれる。
【発明の効果】
【0010】
本発明によれば、非常設店の出店による、施設への影響、特にその常設店への影響を把握することが可能となる。
【図面の簡単な説明】
(【0011】以降は省略されています)
この特許をJ-PlatPat(特許庁公式サイト)で参照する
関連特許
株式会社日立製作所
鉄道車両
1か月前
株式会社日立製作所
放射線モニタ
1か月前
株式会社日立製作所
システム検証方法
20日前
株式会社日立製作所
ガス分離システム
1か月前
株式会社日立製作所
電力変換システム
5日前
株式会社日立製作所
調停案提示システム
1か月前
株式会社日立製作所
鉄道車両用空調装置
19日前
株式会社日立製作所
部品管理装置及び方法
1か月前
株式会社日立製作所
施設管理装置および方法
5日前
株式会社日立製作所
乗降床及び乗客コンベア
18日前
株式会社日立製作所
店舗管理装置および方法
20日前
株式会社日立製作所
生産ライン設計システム
13日前
株式会社日立製作所
飲食店提案装置および方法
20日前
株式会社日立製作所
署名照合システム及び方法
26日前
株式会社日立製作所
乗りかご及びエレベーター
20日前
株式会社日立製作所
乗りかご及びエレベーター
21日前
株式会社日立製作所
検索システム及び検索方法
20日前
株式会社日立製作所
データ変換装置および方法
1か月前
株式会社日立製作所
膜分離設備設計支援システム
5日前
株式会社日立製作所
ソースコードを生成する方法
13日前
株式会社日立製作所
ソフトエラー率評価システム
6日前
株式会社日立製作所
生体認証装置、生体認証方法
19日前
株式会社日立製作所
宇宙機、地上局及びアンテナ
5日前
株式会社日立製作所
立体構造宇宙機及びその制御方法
18日前
株式会社日立製作所
ガス分離システムの劣化診断装置
5日前
株式会社日立製作所
購入関連行動分析装置および方法
19日前
株式会社日立製作所
治療効果予測システムおよび方法
1か月前
株式会社日立製作所
スカートモール及び乗客コンベア
5日前
株式会社日立製作所
物体検出装置および物体検出方法
26日前
株式会社日立製作所
単体テスト装置及び単体テスト方法
21日前
株式会社日立製作所
情報処理方法及び情報処理システム
21日前
株式会社日立製作所
テスト支援装置及びテスト支援方法
5日前
株式会社日立製作所
計算機システム及びデータ送信方法
27日前
株式会社日立製作所
欠陥検査システム、及び欠陥検査方法
5日前
株式会社日立製作所
計算機システム及び障害対処支援方法
1か月前
株式会社日立製作所
情報処理システム、及び情報処理方法
1か月前
続きを見る
他の特許を見る