TOP
|
特許
|
意匠
|
商標
特許ウォッチ
Twitter
他の特許を見る
10個以上の画像は省略されています。
公開番号
2025161225
公報種別
公開特許公報(A)
公開日
2025-10-24
出願番号
2024064235
出願日
2024-04-11
発明の名称
放射線モニタ
出願人
株式会社日立製作所
代理人
弁理士法人信友国際特許事務所
主分類
G01T
1/167 20060101AFI20251017BHJP(測定;試験)
要約
【課題】コンタミ成分による影響を抑制し、精度の高い放射性物質の計測が可能な放射線モニタを提供する。
【解決手段】放射線核種が含まれる被検出液が流通する流路部と、放射線核種が放射する放射線との相互作用により光子を放出する蛍光体層と、蛍光体層と流路部との間に配置され、流路部中の放射線核種が放射する放射線を減衰、および、吸収するβ線透過層とを備える放射線モニタを構成する。
【選択図】図4
特許請求の範囲
【請求項1】
放射線核種が含まれる被検出液が流通する流路部と、
前記放射線核種が放射する放射線との相互作用により、光子を放出する蛍光体層と、
前記蛍光体層と前記流路部との間に配置され、前記流路部中の前記放射線核種が放射する放射線を減衰、および、吸収するβ線透過層と、を備える
放射線モニタ。
続きを表示(約 610 文字)
【請求項2】
前記β線透過層は、密度1.0g/cm
3
以下である
請求項1に記載の放射線モニタ。
【請求項3】
前記蛍光体層に接続された、前記蛍光体層で生成された光子を検出する光検出部を備える
請求項1に記載の放射線モニタ。
【請求項4】
前記流路部の壁面に汚染防止層を備える
請求項1に記載の放射線モニタ。
【請求項5】
複数の前記流路部、および、複数の前記流路部に対応する複数の前記蛍光体層を備える
請求項1に記載の放射線モニタ。
【請求項6】
前記蛍光体層同士の間に光子反射層を備える
請求項5に記載の放射線モニタ。
【請求項7】
複数の前記蛍光体層は、それぞれ発光波長が異なる
請求項5に記載の放射線モニタ。
【請求項8】
前記蛍光体層は3価の希土類元素を含む
請求項1に記載の放射線モニタ。
【請求項9】
前記β線透過層は、前記放射線核種が放射する放射線との相互作用により、光子を放出する蛍光体を含む
請求項1に記載の放射線モニタ。
【請求項10】
前記β線透過層は、厚さが検出対象の放射線の飛程以下である
請求項1に記載の放射線モニタ。
(【請求項11】以降は省略されています)
発明の詳細な説明
【技術分野】
【0001】
本発明は、放射線モニタに係わる。
続きを表示(約 2,000 文字)
【背景技術】
【0002】
水中等の液体中で核種からの放射線を測定するため、例えば、液体シンチレータ、電離箱、固体シンチレータ等を用いた放射線測定装置が用いられている。例えば、被検出液が通過するサンプリング容器を、対向配置した平板状の固体シンチレータ間に備える、放射線モニタが提案されている(例えば、特許文献1参照)。この放射線モニタでは、被検出液から放射される放射線で固体シンチレータを励起し、固体シンチレータで生成した光子を測定して放射性物質の濃度を測定する。このような固体シンチレータを用いた放射線モニタは、水等の液体中の放射性核種をオンラインで測定可能な手法として期待されている。
【先行技術文献】
【特許文献】
【0003】
特開2007-178336号公報
【発明の概要】
【発明が解決しようとする課題】
【0004】
放射線モニタは、放射線の検出感度を高めることが重要である。上記特許文献1に記載された放射線モニタは、大型の平面検出器をもちいて、測定対象の水との接触面積を増大し感度を向上させている。しかし、上記特許文献1に記載された放射線モニタでは、水と接する容器表面積が増大し、容器表面に付着する放射性物質(コンタミ)の影響が大きくなる。コンタミの発生は、放射性物質を含む液体を通水する以上、避けることができない。コンタミが発生した場合、コンタミ成分による信号と水中の放射性物質からの信号とを区別できないため、正確な放射性物質の濃度が計測できなくなる。
【0005】
上述した問題の解決のため、本発明においては、コンタミ成分による影響を抑制し、精度の高い放射性物質の計測が可能な放射線モニタを提供する。
【0006】
また、本発明の上記の目的およびその他の目的と本発明の新規な特徴は、本明細書の記述および添付図面によって明らかにする。
【課題を解決するための手段】
【0007】
本発明の放射線モニタは、放射線核種が含まれる被検出液が流通する流路部と、放射線核種が放射する放射線との相互作用により光子を放出する蛍光体層と、蛍光体層と流路部との間に配置され、流路部中の放射線核種が放射する放射線を減衰、および、吸収するβ線透過層とを備える。
【発明の効果】
【0008】
本発明によれば、コンタミ成分による影響を抑制し、精度の高い放射性物質の計測が可能な放射線モニタを提供することができる。
【0009】
なお、上述した以外の課題、構成および効果は、以下の実施の形態の説明により明らかにされる。
【図面の簡単な説明】
【0010】
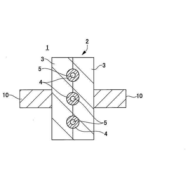
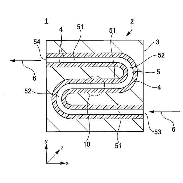
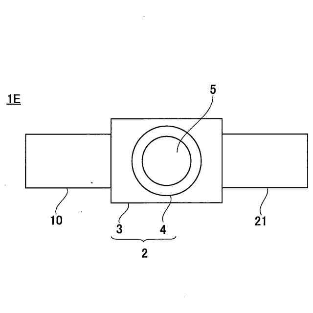
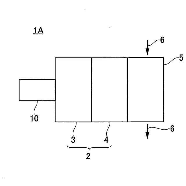
第1実施形態の放射線モニタの斜視図である。
図1に示す放射線モニタのA-A線断面図である。
図1に示す放射線モニタのB-B線断面図である。
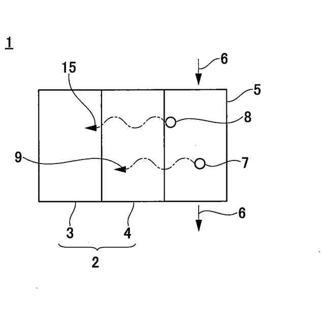
第1実施形態の放射線モニタのブロック図である。
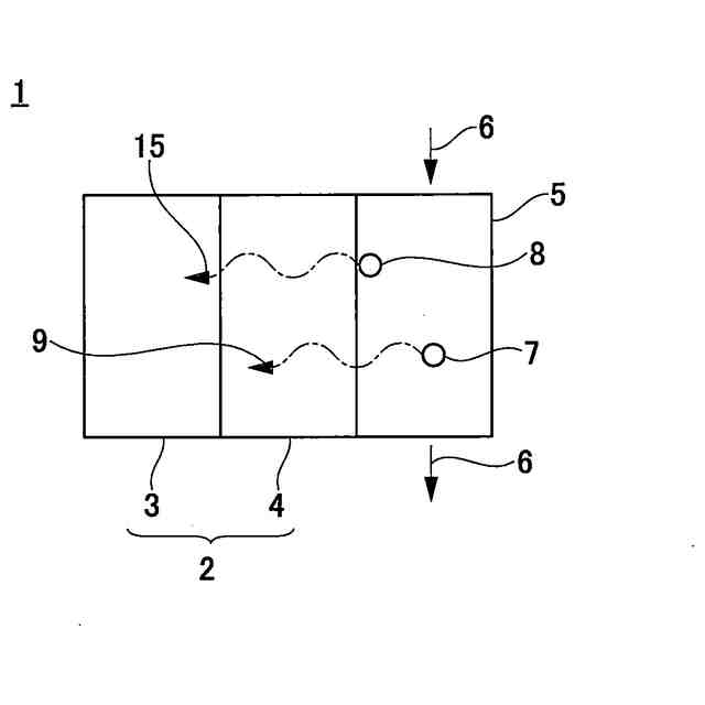
第1実施形態の放射線モニタの変形例1のブロック図である。
第1実施形態の放射線モニタの変形例2のブロック図である。
第1実施形態の放射線モニタの変形例3のブロック図である。
第1実施形態の放射線モニタの変形例4のブロック図である。
第1実施形態の放射線モニタの変形例5のブロック図である。
第1実施形態の放射線モニタの変形例6のブロック図である。
第1実施形態の放射線モニタの変形例7のブロック図である。
第1実施形態の放射線モニタの変形例8のブロック図である。
第1実施形態の放射線モニタの変形例9のブロック図である。
第2実施形態の放射線モニタの斜視図である。
図14に示す放射線モニタのA-A線断面図である。
図14に示す放射線モニタのB-B線断面図である。
第2実施形態の放射線モニタのブロック図である。
第2実施形態の放射線モニタの変形例1のブロック図である。
第2実施形態の放射線モニタの変形例2のブロック図である。
第2実施形態の放射線モニタの変形例3のブロック図である。
第2実施形態の放射線モニタの変形例4のブロック図である。
第2実施形態の放射線モニタの変形例5のブロック図である。
第2実施形態の放射線モニタの変形例6のブロック図である。
第2実施形態の放射線モニタの変形例7のブロック図である。
第2実施形態の放射線モニタの変形例8のブロック図である。
第2実施形態の放射線モニタの変形例9のブロック図である。
第3実施形態の放射線モニタのブロック図である。
第3実施形態の放射線モニタの変形例のブロック図である。
【発明を実施するための形態】
(【0011】以降は省略されています)
この特許をJ-PlatPat(特許庁公式サイト)で参照する
関連特許
株式会社日立製作所
鉄道車両
1か月前
株式会社日立製作所
鉄道車両
8日前
株式会社日立製作所
放射線モニタ
1日前
株式会社日立製作所
ガス分離システム
8日前
株式会社日立製作所
ガス濃度測定装置
1か月前
株式会社日立製作所
形状制御システム
24日前
株式会社日立製作所
調停案提示システム
9日前
株式会社日立製作所
部品管理装置及び方法
15日前
株式会社日立製作所
計画装置および計画方法
1か月前
株式会社日立製作所
ソフトウェア生成システム
18日前
株式会社日立製作所
データ変換装置および方法
2日前
株式会社日立製作所
情報処理装置、情報処理方法
17日前
株式会社日立製作所
訓練システムおよび訓練方法
26日前
株式会社日立製作所
管理システムおよび管理方法
26日前
株式会社日立製作所
情報処理装置及び情報処理方法
22日前
株式会社日立製作所
情報処理装置及び情報処理方法
26日前
株式会社日立製作所
費用対効果算出方法および装置
24日前
株式会社日立製作所
回転電機および電動機システム
22日前
株式会社日立製作所
蒸発乾固装置および蒸発乾固方法
16日前
株式会社日立製作所
電力変換器およびインバータ装置
26日前
株式会社日立製作所
情報処理システム、及び予測方法
23日前
株式会社日立製作所
治療効果予測システムおよび方法
9日前
株式会社日立製作所
物流計画システム及び物流計画方法
24日前
株式会社日立製作所
計算機システム及びデータ検索方法
26日前
株式会社日立製作所
音声分析システム及び音声分析方法
1か月前
株式会社日立製作所
昇降機システム及び昇降機制御方法
26日前
株式会社日立製作所
Webページ更新管理装置及び方法
1か月前
株式会社日立製作所
計算機システム及び障害対処支援方法
9日前
株式会社日立製作所
データ出力装置およびデータ出力方法
26日前
株式会社日立製作所
情報処理システム、及び情報処理方法
17日前
株式会社日立製作所
通貨管理システム、及び通貨管理方法
1か月前
株式会社日立製作所
情報処理システム、及び情報処理方法
15日前
株式会社日立製作所
圧延設定支援装置及び圧延設定支援方法
8日前
株式会社日立製作所
設計図書のチェックシステムおよび方法
22日前
株式会社日立製作所
説明情報生成装置及び説明情報生成方法
16日前
株式会社日立製作所
半導体装置および半導体装置の駆動方法
18日前
続きを見る
他の特許を見る