TOP
|
特許
|
意匠
|
商標
特許ウォッチ
Twitter
他の特許を見る
公開番号
2025178710
公報種別
公開特許公報(A)
公開日
2025-12-09
出願番号
2024085479
出願日
2024-05-27
発明の名称
外観検査装置
出願人
愛知電機株式会社
代理人
主分類
G01N
21/88 20060101AFI20251202BHJP(測定;試験)
要約
【課題】 製品、半製品、仕掛品の外観検査を高いレベルで半自動的に実施することのできる外観検査装置を提供する。
【解決手段】第1撮影ラインAと第2撮影ラインBによって同時並行的に製品等の外観検査を実施する。第1撮影ラインAでは製品等を一方側から撮影し、第2撮影ラインBでは製品等を他方側から撮影する。撮影した画像は記憶手段に記憶され、製品等の外観検査は記憶手段に記憶した当該画像によって判定され、合格品と不合格品に振り分けられる。合格品と不合格品の判定はAIによって行われる。
【選択図】 図1
特許請求の範囲
【請求項1】
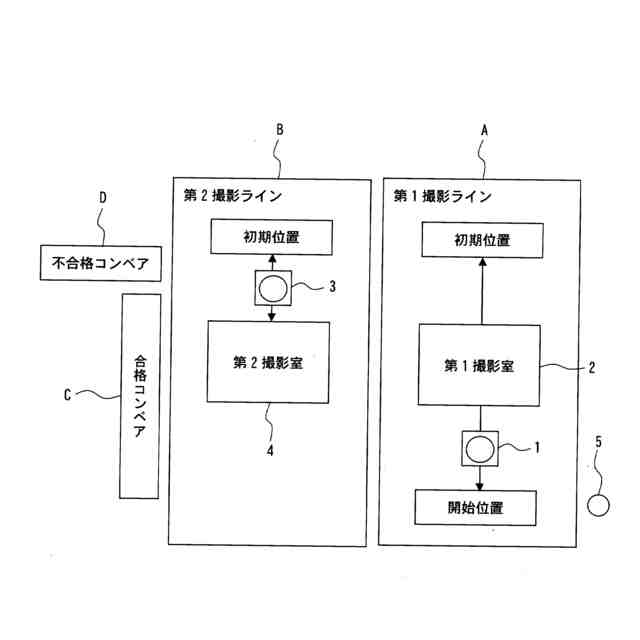
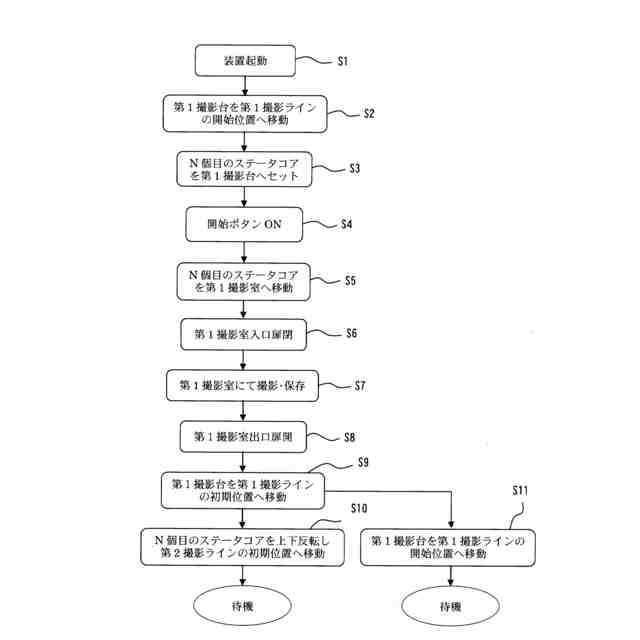
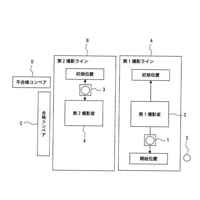
外観検査対象物をセットする第1撮影台と、当該第1撮影台にセットした外観検査対象物を一方側から撮影する第1撮影室を備える第1撮影ラインと、当該第1撮影ラインで撮影した後の外観検査対象物の上下位置を反転してセットする第2撮影台と、当該第2撮影台にセットした外観検査対象物を他方側から撮影する第2撮影室を備える第2撮影ラインと、当該第1撮影ラインと第2撮影ラインで撮影した前記外観検査対象物の画像からその外観の傷や汚れやの有無を確認することを特徴とする外観検査装置。
続きを表示(約 630 文字)
【請求項2】
前記外観検査対象物の画像を保存し、当該画像から外観検査対象物の外観の傷や汚れの有無を人口知能(artificial intelligence)によって確認することを特徴とする請求項1記載の外観検査装置。
【請求項3】
前記外観検査対象物を挟持し、前記第1撮影ラインの第1撮影台から前記第2撮影ラインの第2撮影台へ上下位置を反転させて移動させるロボットアームを備えて構成したことを特徴とする請求項1又は請求項2記載の外観検査装置。
【請求項4】
外観の傷や汚れやの有無を確認した結果、合格品と判定された前記外観検査対象物を載置し移動させる合格コンベアと、不合格品と判定された前記外観検査対象物を載置し移動させる不合格コンベアを備え、当該判定後の前記外観検査対象物を挟持し、第2撮影ラインの第2撮影台から前記合格コンベア又は不合格コンベアへ移動させるロボットアームを備えて構成したことを特徴とする請求項1又は請求項2記載の外観検査装置。
【請求項5】
前記第1撮影台を開始位置と初期位置間を前記第1撮影室を介して移動させるコンベア又はスライダーを備えて構成されることを特徴とする請求項1又は請求項2記載の外観検査装置。
【請求項6】
前記第2撮影台を初期位置と前記第2撮影室間で往復させるコンベア又はスライダーを備えて構成されることを特徴とする請求項1又は請求項2記載の外観検査装置。
発明の詳細な説明
【技術分野】
【0001】
本発明は、ステータコアなど、モータを構成する要素の外観を検査するための装置に関する。
続きを表示(約 1,500 文字)
【背景技術】
【0002】
近年、製品の構成要素の外観検査を行う場合、検査工程の自動化が普及しつつあるが、一部の分野では目視での検査が継続して実施されている(下記非特許文献1参照)。
【先行技術文献】
【非特許文献】
【0003】
製造工程 製品ができるまで(10) 目視検査 インターネット[令和6年5月9日検索] <https://www.miyaki-denki.com/manufacturing-process/>
【0004】
上記非特許文献1に示されるように、モータの製造過程において、その外観を検査することにより、外観に傷や汚れなどの異常が無いかや、成型寸法に問題はないかといった検査は目視にて実施されている。上記非特許文献1では、インシュレータを介して巻線を巻き付けたステータの外観検査工程が示されているが、このような検査は、ステータコアのみの状態など、あらゆる工程で実施することができる。
【発明の概要】
【発明が解決しようとする課題】
【0005】
このように、製品の製造過程において、製品の仕掛品の外観を目視で検査する場合、当然ながら、検査者の能力に依存するため、検査の質を均一化することが難しい。また、熟練した検査者であっても目視による検査には一定の時間がかかるし、検査台数が多数となれば検査人数も増加しなければならない。
【0006】
そこで、本発明は、モータのステータコアなどの製品や半製品、仕掛品の外観検査を自動で行うことにより、検査時間の短縮や、検査人員の削減、検査の質の均一化を図ることのできる外観検査装置を開示することを目的とする。
【課題を解決するための手段】
【0007】
請求項1記載の発明は、外観検査対象物をセットする第1撮影台と、第1撮影台にセットした外観検査対象物を一方側から撮影する第1撮影室を備える第1撮影ラインと、第1撮影ラインで撮影した後の外観検査対象物の上下位置を反転してセットする第2撮影台と、第2撮影台にセットした外観検査対象物を他方側から撮影する第2撮影室を備える第2撮影ラインと、第1撮影ラインと第2撮影ラインで撮影した外観検査対象物の画像からその外観の傷や汚れやの有無を確認することに特徴を有する外観検査装置。
【0008】
請求項2記載の発明は、外観検査対象物の画像を保存し、当該画像から外観検査対象物の外観の傷や汚れの有無を人口知能(artificial intelligence)によって確認することに特徴を有する請求項1記載の外観検査装置。
【0009】
請求項3記載の発明は、外観検査対象物を挟持し、第1撮影ラインの第1撮影台から第2撮影ラインの第2撮影台へ上下位置を反転させて移動させるロボットアームを備えて構成したことに特徴を有する請求項1又は請求項2記載の外観検査装置。
【0010】
請求項4記載の発明は、外観の傷や汚れやの有無を確認した結果、合格品と判定された外観検査対象物を載置し移動させる合格コンベアと、不合格品と判定された外観検査対象物を載置し移動させる不合格コンベアを備え、当該判定後の外観検査対象物を挟持し、第2撮影ラインの第2撮影台から合格コンベア又は不合格コンベアへ移動させるロボットアームを備えて構成したことに特徴を有する請求項1又は請求項2記載の外観検査装置。
(【0011】以降は省略されています)
この特許をJ-PlatPat(特許庁公式サイト)で参照する
関連特許
愛知電機株式会社
装柱金具
2か月前
愛知電機株式会社
外観検査方法
今日
愛知電機株式会社
外観検査装置
今日
愛知電機株式会社
軸部材の外観検査装置
1か月前
愛知電機株式会社
巻線方法および巻線装置
3か月前
愛知電機株式会社
自動電圧平衡化装置および自動電圧平衡化方法
2か月前
愛知電機株式会社
自動電圧平衡化装置および自動電圧平衡化方法
2か月前
愛知電機株式会社
ステータおよびモータ
25日前
個人
視触覚センサ
4日前
個人
採尿及び採便具
1か月前
日本精機株式会社
検出装置
1か月前
個人
アクセサリー型テスター
1か月前
個人
高精度同時多点測定装置
1か月前
個人
計量機能付き容器
29日前
愛知電機株式会社
外観検査方法
今日
愛知電機株式会社
外観検査装置
今日
株式会社カクマル
境界杭
19日前
甲神電機株式会社
電流検出装置
1か月前
株式会社ミツトヨ
測定器
1か月前
日本精機株式会社
発光表示装置
12日前
株式会社トプコン
測量装置
11日前
ユニパルス株式会社
トルク変換器
4日前
ユニパルス株式会社
トルク変換器
4日前
ユニパルス株式会社
トルク変換器
4日前
アズビル株式会社
電磁流量計
1か月前
大成建設株式会社
風洞実験装置
29日前
個人
非接触による電磁パルスの測定方法
1か月前
大和製衡株式会社
組合せ計量装置
1か月前
ローム株式会社
半導体装置
1か月前
ローム株式会社
半導体装置
1か月前
愛知時計電機株式会社
ガスメータ
1か月前
日本特殊陶業株式会社
ガスセンサ
4日前
日本特殊陶業株式会社
ガスセンサ
27日前
個人
計量具及び計量機能付き容器
29日前
日本特殊陶業株式会社
ガスセンサ
11日前
日本信号株式会社
距離画像センサ
1か月前
続きを見る
他の特許を見る