TOP
|
特許
|
意匠
|
商標
特許ウォッチ
Twitter
他の特許を見る
10個以上の画像は省略されています。
公開番号
2025170109
公報種別
公開特許公報(A)
公開日
2025-11-14
出願番号
2025151927,2021098606
出願日
2025-09-12,2021-06-14
発明の名称
ステータおよびモータ
出願人
愛知電機株式会社
代理人
主分類
H02K
3/38 20060101AFI20251107BHJP(電力の発電,変換,配電)
要約
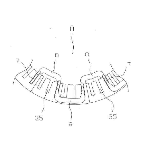
【課題】ステータコアへの波巻コイルの取り付けが飛躍的に容易となるコイル形状を備えたステータと、当該ステータを有するモータを提供する。
【解決手段】コイル2u(2v,2w)を各々1巻で構成する。コイル2u(2v,2w)はコイルサイド7からステータコアの径方向外周側および周方向へ延在する第1のコイルエンド9と、径方向内周側および周方向へ延在する第2のコイルエンド8を備える。このように構成したコイル2u(2v,2w)を、ステータコアの軸方向一方側から軸方向他方側へ向けて、コイルサイド7をステータコア1のスロット35内に順番に挿入する。このとき、ステータコア1の上側端面と第1のコイルエンド9の下側端面間あるいは第2のコイルエンド8の各相間の上側端面と下側端面間または第1のコイルエンド9の各相間の上側端面と下側端面間に絶縁部材を介在させて、ステータコア1にコイル2u(2v,2w)を取り付ける。
【選択図】 図2
特許請求の範囲
【請求項1】
ステータコアのスロット間に波巻される各相のコイルを各々1巻にて構成し、各相毎に前記ステータコアの1つのスロット内に1相のコイルの1つのコイルサイドのみが配置され、前記コイルは、前記コイルサイドと、前記ステータコアの一方端面側において、前記コイルサイドの一方端部間を連結し、前記ステータコアの径方向外周側および周方向へ向けて延在する第1のコイルエンドと、前記ステータコアの他方端面側において、前記コイルサイドの他方端部間を連結し、前記ステータコアの径方向内周側および周方向へ向けて延在する第2のコイルエンドを備え、前記コイルサイドは内側端面、外側端面の周方向の板厚寸法が周方向一方側端面、周方向他方側端面の径方向の幅寸法より小さく形成され、前記第1のコイルエンドおよび第2のコイルエンドの上側端面と下側端面間の軸方向の高さ寸法が前記コイルサイドの内側端面、外側端面の周方向の板厚寸法より大きく形成され、前記第1のコイルエンドの内側端面、外側端面および前記第2のコイルエンドの内側端面、外側端面の軸方向の高さ寸法が、前記第1のコイルエンドの上側端面、下側端面や、前記第2のコイルエンドの上側端面、下側端面の径方向の幅寸法と略同一に形成され、
前記コイルサイドと前記第1のコイルエンドの連結部位には径方向内周側かつ軸方向一方側に曲線部と径方向外周側かつ軸方向他方側に直角部が形成され、前記コイルサイドと前記第2のコイルエンドの連結部位には径方向内周側かつ軸方向一方側に傾斜部と径方向外周側かつ軸方向他方側に曲線部が形成され、かつ、前記第1のコイルエンドと前記コイルサイドは径方向外周側の円弧部と径方向内周側の拡開部で連結され、当該拡開部は、前記コイルサイドから前記第1のコイルエンド側に向かうにつれて幅寸法が拡大する方向に拡開し、前記第2のコイルエンドと前記コイルサイドは径方向内周側の円弧部と径方向外周側の段差部によって連結され、
前記ステータコアの上側端面と前記第1のコイルエンドの下側端面間あるいは前記第2のコイルエンドの各相間または前記第1のコイルエンドの各相間に絶縁部材を介在させて構成したことを特徴とするステータ。
続きを表示(約 300 文字)
【請求項2】
前記コイルは、前記ステータコアの一方端面側から他方端面側へ向けて、前記第2のコイルエンド側から前記コイルサイドを前記スロット内に、各相毎に挿入することによって、ステータコアに取り付けられることを特徴とする請求項1記載のステータ。
【請求項3】
前記ステータコアおよび前記各相のコイルの周囲を絶縁樹脂でモールドすることにより、ステータコアとコイル間および前記各相のコイル間を絶縁するように構成したことを特徴とする請求項1又は請求項2の何れかに記載のステータ。
【請求項4】
請求項1又は請求項2の何れかに記載のステータを有することを特徴とするモータ。
発明の詳細な説明
【技術分野】
【0001】
本発明は、波巻コイルを備えたステータと、当該ステータを有するモータに関する。
続きを表示(約 2,300 文字)
【背景技術】
【0002】
従来から、断面形状を平角形状とした導線(以下、平角線という)をステータコアのスロット内に波巻してコイルを形成したモータは知られている。このような波巻コイルをステータコアのスロット内に設置する場合は、例えば、コイルを形成するための複数のセグメント導体を用意し、これらセグメント導体の各々をステータコアのスロット内に配置した上で、各セグメント導体の端部同士を接続することによって、ステータの波巻コイルを形成する方法などが知られている。
【0003】
例えば、下記特許文献1の図3と図4には、前記複数のセグメント導体を構成するU字形状のセグメント導体とクランク形状のセグメント導体が図示されている。当該特許文献1の場合、これらセグメント導体をステータコアのスロットに配列することにより、U字形状セグメント導体とクランク形状のセグメント導体の両端部をステータコアの軸方向両端面側へ突出させ、当該セグメント導体の前記両端面側から突出した部位同士を接続することにより、ステータの波巻コイルを形成している。
【0004】
なお、特許文献1のコイルは、3相スター結線で、2つのコイルを直列接続したものであるが、当然ながら、デルタ結線や並列接続した波巻コイルも知られている。
【先行技術文献】
【特許文献】
【0005】
特開2014-90546
【発明の概要】
【発明が解決しようとする課題】
【0006】
然るに、上記特許文献1で開示される波巻コイルは、各種形状の異なるセグメント導体を製造し準備しておく必要がある。そして、U字セグメント導体はステータのスロット数と同数必要であり、異形セグメント導体のうち3相のUVWの口出し端子として用いるものは、それぞれ1個ずつ必要となる。また、各相毎の2直列構成の渡り部として用いられる異形グメント導体は3個ずつ必要となるし、中性点として用いられる異形セグメント導体は、それぞれ1個ずつ必要になるなど、使用されるセグメント導体の数が非常に多い。
【0007】
また、これらセグメント導体は、ステータコアのスロット内に収納すべく、ステータコアの径方向内周側から径方向外周側へ向けてスロット内に配列する必要があり、セグメント導体の数が多いことと相まって、各種形状の異なるセグメント導体を所定のスロット位置に配列しなければならず、作業が煩雑かつ複雑化する。
【0008】
さらに、ステータコアのスロット内に配列した多数のセグメント導体の開放端部間をTIG溶接やレーザー溶接などで溶接しなければならないので、当該作業に要する負担は非常に重く、作業工数も相当に要する。仮に溶接部分に不具合が発生すれば、製造ライン又は出荷後に断線が発生してしまう問題も生じかねない。
【0009】
そこで、本発明は、波巻コイルの構成部材を極力少なくし、ステータの組立作業を飛躍的に簡素化することのできる波巻コイルの構造と、これを備えたステータおよびモータに関する技術の提供を目的とする。
【課題を解決するための手段】
【0010】
請求項1記載の発明は、ステータコアのスロット間に波巻される各相のコイルを各々1巻にて構成し、各相毎に前記ステータコアの1つのスロット内に1相のコイルの1つのコイルサイドのみが配置され、前記コイルは、前記コイルサイドと、前記ステータコアの一方端面側において、前記コイルサイドの一方端部間を連結し、前記ステータコアの径方向外周側および周方向へ向けて延在する第1のコイルエンドと、前記ステータコアの他方端面側において、前記コイルサイドの他方端部間を連結し、前記ステータコアの径方向内周側および周方向へ向けて延在する第2のコイルエンドを備え、前記コイルサイドは内側端面、外側端面の周方向の板厚寸法が周方向一方側端面、周方向他方側端面の径方向の幅寸法より小さく形成され、前記第1のコイルエンドおよび第2のコイルエンドの上側端面と下側端面間の軸方向の高さ寸法が前記コイルサイドの内側端面、外側端面の周方向の板厚寸法より大きく形成され、前記第1のコイルエンドの内側端面、外側端面および前記第2のコイルエンドの内側端面、外側端面の軸方向の高さ寸法が、前記第1のコイルエンドの上側端面、下側端面や、前記第2のコイルエンドの上側端面、下側端面の径方向の幅寸法と略同一に形成され、
前記コイルサイドと前記第1のコイルエンドの連結部位には径方向内周側かつ軸方向一方側に曲線部と径方向外周側かつ軸方向他方側に直角部が形成され、前記コイルサイドと前記第2のコイルエンドの連結部位には径方向内周側かつ軸方向一方側に傾斜部と径方向外周側かつ軸方向他方側に曲線部が形成され、かつ、前記第1のコイルエンドと前記コイルサイドは径方向外周側の円弧部と径方向内周側の拡開部で連結され、当該拡開部は、前記コイルサイドから前記第1のコイルエンド側に向かうにつれて幅寸法が拡大する方向に拡開し、前記第2のコイルエンドと前記コイルサイドは径方向内周側の円弧部と径方向外周側の段差部によって連結され、
前記ステータコアの上側端面と前記第1のコイルエンドの下側端面間あるいは前記第2のコイルエンドの各相間または前記第1のコイルエンドの各相間に絶縁部材を介在させて構成したことに特徴を有するステータに関する。
(【0011】以降は省略されています)
この特許をJ-PlatPat(特許庁公式サイト)で参照する
関連特許
愛知電機株式会社
装柱金具
1か月前
愛知電機株式会社
軸部材の外観検査装置
25日前
愛知電機株式会社
巻線方法および巻線装置
2か月前
愛知電機株式会社
自動電圧平衡化装置および自動電圧平衡化方法
1か月前
愛知電機株式会社
自動電圧平衡化装置および自動電圧平衡化方法
1か月前
愛知電機株式会社
ステータおよびモータ
7日前
個人
高圧電気機器の開閉器
2日前
個人
電気を重力で発電装置
15日前
キヤノン電子株式会社
モータ
22日前
キヤノン電子株式会社
モータ
14日前
コーセル株式会社
電源装置
23日前
トヨタ自動車株式会社
モータ
14日前
株式会社アイドゥス企画
減反モータ
2日前
個人
二次電池繰返パルス放電器用印刷基板
28日前
矢崎総業株式会社
電源回路
1日前
トヨタ自動車株式会社
固定子の加熱装置
25日前
ローム株式会社
モータドライバ回路
9日前
日産自動車株式会社
ロータシャフト
9日前
日産自動車株式会社
ロータシャフト
9日前
個人
非対称鏡像力を有する4層PWB電荷搬送体
9日前
トヨタ自動車株式会社
ステータの製造装置
15日前
山洋電気株式会社
モータ
28日前
トヨタ自動車株式会社
可変界磁ロータ
17日前
株式会社マキタ
電動作業機
22日前
株式会社アイシン
電力変換装置
14日前
個人
電線盗難防止方法及び電線盗難防止装置
22日前
トヨタ紡織株式会社
ロータの製造装置
23日前
京商株式会社
模型用非接触電力供給システム
2日前
株式会社明治ゴム化成
ワイヤレス給電用部品
24日前
トヨタ自動車株式会社
車両照合システム
22日前
本田技研工業株式会社
回転電機用ロータ
2日前
ニデック株式会社
回転電機
14日前
豊田合成株式会社
車両用非接触充電装置
14日前
大阪瓦斯株式会社
充放電中継装置
15日前
株式会社豊田自動織機
電力供給システム
14日前
ルネサスエレクトロニクス株式会社
半導体装置
14日前
続きを見る
他の特許を見る