TOP
|
特許
|
意匠
|
商標
特許ウォッチ
Twitter
他の特許を見る
公開番号
2025166408
公報種別
公開特許公報(A)
公開日
2025-11-06
出願番号
2024070417
出願日
2024-04-24
発明の名称
充放電中継装置
出願人
大阪瓦斯株式会社
代理人
弁理士法人R&C
主分類
H02J
7/00 20060101AFI20251029BHJP(電力の発電,変換,配電)
要約
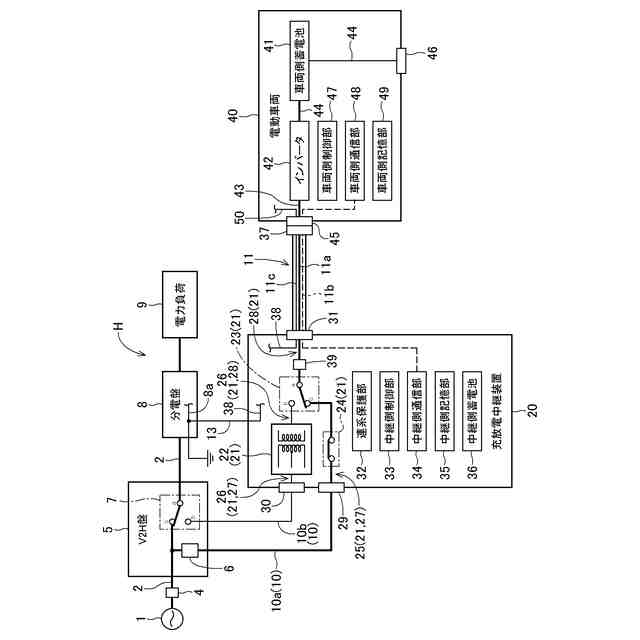
【課題】適切な構成の電動車両が系統連系されていることを証明できる充放電中継装置を提供する。
【解決手段】充放電中継装置20が、認証している電動車両40が有するハードウェアについての認証情報を記憶する中継側記憶部35を有し、中継側制御部33は、中継回路部21が電動車両40のインバータ42と電気的に接続された場合、当該電動車両40からハードウェアについての情報を取得し、中継側記憶部35が記憶している認証情報に基づいて、当該電動車両40のハードウェアが認証しているものと同一であるか否かを判定する車両判定処理を行い、認証しているものと同一であると判定した場合にはインバータ42から中継回路部21への電力供給を許可し、認証しているものと同一でないと判定した場合にはインバータ42から中継回路部21への電力供給を禁止する。
【選択図】図1
特許請求の範囲
【請求項1】
施設に設置されて、電力系統に連系される施設側電力線と、電動車両が有するインバータとの間を中継回路部を用いて電気的に接続して、当該インバータに接続される前記電動車両の車両側蓄電池への充電及び前記車両側蓄電池からの放電を中継する充放電中継装置であって、
認証している前記電動車両が有するハードウェアについての認証情報を記憶する中継側記憶部と、
前記電動車両との間で情報通信可能な中継側制御部とを有し、
前記中継側制御部は、
前記中継回路部が前記電動車両の前記インバータと電気的に接続された場合、当該電動車両から前記ハードウェアについての情報を取得し、前記中継側記憶部が記憶している前記認証情報に基づいて、当該電動車両の前記ハードウェアが認証しているものと同一であるか否かを判定する車両判定処理を行い、
前記車両判定処理において前記電動車両の前記ハードウェアが認証しているものと同一であると判定した場合には、前記電動車両の前記インバータから前記中継回路部への電力供給を許可し、
前記車両判定処理において前記電動車両の前記ハードウェアが認証しているものと同一でないと判定した場合には、前記電動車両の前記インバータから前記中継回路部への電力供給を禁止する充放電中継装置。
続きを表示(約 880 文字)
【請求項2】
前記中継側制御部は、前記車両判定処理において前記電動車両の前記ハードウェアが認証しているものと同一でないと判定した場合には、前記中継回路部から前記電動車両の前記インバータへの電力供給を許容する請求項1に記載の充放電中継装置。
【請求項3】
前記中継側制御部は、前記車両判定処理において前記電動車両の前記ハードウェアが認証しているものと同一でないと判定した場合には、前記中継回路部から前記電動車両の前記インバータへの電力供給を禁止する請求項1に記載の充放電中継装置。
【請求項4】
前記中継側制御部は、前記中継回路部が前記電動車両の前記インバータと電気的に接続された場合、前記電動車両の前記インバータから前記中継回路部への出力電圧を調整する自動電圧調整機能の整定値を、前記電動車両に伝達する請求項1~3の何れか一項に記載の充放電中継装置。
【請求項5】
前記中継側記憶部は、前記電動車両に記憶されている必要があるソフトウェアについての情報を記憶し、
前記中継側制御部は、前記中継回路部が前記電動車両の前記インバータと電気的に接続された場合、当該電動車両から記憶されている前記ソフトウェアについての情報を取得し、前記中継側記憶部が記憶している情報に基づいて、必要なソフトウェアが前記電動車両に記憶されているか否かを判定するソフトウェア判定処理を行う請求項1~3の何れか一項に記載の充放電中継装置。
【請求項6】
前記中継側制御部は、前記ソフトウェア判定処理において前記電動車両に必要なバージョンのソフトウェアが記憶されていないと判定した場合、当該ソフトウェアを前記電動車両へ送信する請求項5に記載の充放電中継装置。
【請求項7】
前記中継側制御部は、前記ソフトウェア判定処理において前記電動車両に必要なバージョンのソフトウェアが記憶されていると判定した場合、前記電動車両の前記インバータから前記中継回路部への電力供給を許可する請求項5に記載の充放電中継装置。
発明の詳細な説明
【技術分野】
【0001】
本発明は、充放電中継装置に関する。
続きを表示(約 2,200 文字)
【背景技術】
【0002】
特許文献1(特許第5355641号公報)には、電動車両(自動車22)が有する蓄電池(車両用蓄電池24)を、ケーブル(26)を用いて、施設(建物12)に設置される電力線に接続する構成が記載されている。この場合、施設の電力線と蓄電池との間の電気的な接続は、施設に設置される制御装置(14)が中継する。具体的には、制御装置(14)は、交流電力を直流電力に変換したり、直流電力を交流電力へ変換する機能を備えており、電力系統(系統電源20)から供給される電力を直流電力に変換して蓄電池へ供給することによって充電したり、蓄電池に蓄電された電力を交流電力に変換して施設の電気機器(16)に供給等の電力の供給制御を行う。
【先行技術文献】
【特許文献】
【0003】
特許第5355641号公報
【発明の概要】
【発明が解決しようとする課題】
【0004】
特許文献1に記載されている構成では、電動車両で直流電力が流れる直流部が、施設の制御装置(14)に接続されている。そのため、制御装置(14)が、直流電力を交流電力に変換する電力変換機能を備えていなければならない。
【0005】
但し、電動車両には、直流電力を交流電力に変換するインバータも設けられ、その交流電力が流れる交流部と施設とを接続することも可能である。その場合、直流電力を交流電力に変換する電力変換機能を施設に設ける必要はない。しかし、そのような構成を採用した場合、電動車両のインバータが系統連系用インバータとなるため、電力系統を管理する送配電事業者との間の取り決めにおいて、予め申請した通りの適切な系統連系用インバータから施設への電力供給のみを許容すること等が求められることも考えられる。
【0006】
本発明は、上記の課題に鑑みてなされたものであり、その目的は、適切な構成の電動車両が系統連系されていることを証明できる充放電中継装置を提供する点にある。
【課題を解決するための手段】
【0007】
上記目的を達成するための本発明に係る充放電中継装置の特徴構成は、施設に設置されて、電力系統に連系される施設側電力線と、電動車両が有するインバータとの間を中継回路部を用いて電気的に接続して、当該インバータに接続される前記電動車両の車両側蓄電池への充電及び前記車両側蓄電池からの放電を中継する充放電中継装置であって、
認証している前記電動車両が有するハードウェアについての認証情報を記憶する中継側記憶部と、
前記電動車両との間で情報通信可能な中継側制御部とを有し、
前記中継側制御部は、
前記中継回路部が前記電動車両の前記インバータと電気的に接続された場合、当該電動車両から前記ハードウェアについての情報を取得し、前記中継側記憶部が記憶している前記認証情報に基づいて、当該電動車両の前記ハードウェアが認証しているものと同一であるか否かを判定する車両判定処理を行い、
前記車両判定処理において前記電動車両の前記ハードウェアが認証しているものと同一であると判定した場合には、前記電動車両の前記インバータから前記中継回路部への電力供給を許可し、
前記車両判定処理において前記電動車両の前記ハードウェアが認証しているものと同一でないと判定した場合には、前記電動車両の前記インバータから前記中継回路部への電力供給を禁止する点にある。
【0008】
上記特徴構成によれば、中継側制御部は、中継回路部が電動車両のインバータと電気的に接続された場合、電動車両からハードウェアについての情報を取得する。そして、中継側制御部は、中継側記憶部が記憶している認証情報に基づいて、電動車両のハードウェアが認証しているものと同一であるか否かを判定する車両判定処理を行う。つまり、車両判定処理によって、電動車両のハードウェア(インバータ)が予め申請された通りの構成であるか否かを判定できる。そして、中継側制御部は、車両判定処理において電動車両のハードウェアが認証しているものと同一であると判定した場合には、電動車両のインバータから中継回路部への電力供給を許可し、車両判定処理において電動車両のハードウェアが認証しているものと同一でないと判定した場合には、電動車両のインバータから中継回路部への電力供給を禁止する。
従って、適切な構成の電動車両が系統連系されていることを証明できる充放電中継装置を提供できる。
【0009】
本発明に係る充放電中継装置の別の特徴構成は、前記中継側制御部は、前記車両判定処理において前記電動車両の前記ハードウェアが認証しているものと同一でないと判定した場合には、前記中継回路部から前記電動車両の前記インバータへの電力供給を許容する点にある。
【0010】
上記特徴構成によれば、電動車両のハードウェアが認証しているものと同一でない場合であっても、施設側電力線から電動車両のインバータへの電力供給(即ち、車両側蓄電池への充電)は行うことができる。
(【0011】以降は省略されています)
この特許をJ-PlatPat(特許庁公式サイト)で参照する
関連特許
大阪瓦斯株式会社
継手
27日前
大阪瓦斯株式会社
探査装置
2か月前
大阪瓦斯株式会社
ガスコンロ
1か月前
大阪瓦斯株式会社
撥水性塗料
2か月前
大阪瓦斯株式会社
警報システム
2か月前
大阪瓦斯株式会社
制御システム
1か月前
大阪瓦斯株式会社
管理システム
2か月前
大阪瓦斯株式会社
蓄電制御装置
2か月前
大阪瓦斯株式会社
高耐熱組成物
2か月前
大阪瓦斯株式会社
酸化物複合体
2か月前
大阪瓦斯株式会社
動作制御装置
2か月前
大阪瓦斯株式会社
充放電中継装置
1か月前
大阪瓦斯株式会社
充放電中継装置
1か月前
大阪瓦斯株式会社
バイオマス系樹脂
2か月前
大阪瓦斯株式会社
エンジンシステム
2か月前
大阪瓦斯株式会社
燃料電池システム
19日前
大阪瓦斯株式会社
メタン生成システム
20日前
大阪瓦斯株式会社
フレキシブル管用継手
27日前
大阪瓦斯株式会社
二酸化炭素回収システム
2か月前
大阪瓦斯株式会社
二酸化炭素回収システム
2か月前
大阪瓦斯株式会社
平板型燃料電池スタック
1か月前
大阪瓦斯株式会社
料理レシピ提案システム
1か月前
大阪瓦斯株式会社
水分状態量可視化システム
2か月前
大阪瓦斯株式会社
共電解メタネーション装置
1か月前
大阪瓦斯株式会社
共電解メタネーション装置
1か月前
大阪瓦斯株式会社
水素製造装置及びその運転方法
2か月前
大阪瓦斯株式会社
チタニア被覆銀を含有する組成物
2か月前
大阪瓦斯株式会社
電力融通システム及び電力融通方法
1か月前
大阪瓦斯株式会社
水素製造装置及び水素製造装置の運転方法
2か月前
大阪瓦斯株式会社
電気化学モジュールおよびエネルギーシステム
2か月前
大阪瓦斯株式会社
音声情報出力システムおよび音声情報出力装置
2か月前
大阪瓦斯株式会社
電気化学モジュールおよびエネルギーシステム
2か月前
大阪瓦斯株式会社
船舶及びその航行計画を生成する情報処理装置
1か月前
大阪瓦斯株式会社
二酸化炭素回収装置および二酸化炭素回収方法
19日前
大阪瓦斯株式会社
二酸化炭素回収方法及び二酸化炭素回収システム
2か月前
大阪瓦斯株式会社
二酸化炭素回収方法及び二酸化炭素回収システム
2か月前
続きを見る
他の特許を見る