TOP
|
特許
|
意匠
|
商標
特許ウォッチ
Twitter
他の特許を見る
公開番号
2025167489
公報種別
公開特許公報(A)
公開日
2025-11-07
出願番号
2024072143
出願日
2024-04-26
発明の名称
回転電機
出願人
ニデック株式会社
代理人
個人
,
個人
,
個人
,
個人
主分類
H02K
1/16 20060101AFI20251030BHJP(電力の発電,変換,配電)
要約
【課題】コギングトルクを抑制できる回転電機を提供する。
【解決手段】ロータの径方向外側に位置するステータ30と、を備える。ロータは、中心軸を中心として軸方向に延びるシャフトと、シャフトと固定されるロータコアと、ロータコアの径方向外側面に、周方向に配列して複数設けられるマグネット部と、複数のマグネット部それぞれの径方向外側面に設けられ、外周面が曲面である磁性部と、を有する。ステータは、ロータと径方向に隙間を介して対向するステータコア31を有する。ステータコアは、環状のコアバック部と、コアバック部の内周面に沿って配置される複数のティース部33と、を有する。ティース部は、コアバック部の内周面から径方向内側に延びるティース本体部34と、ティース本体部の先端部において周方向の両側に突出するアンブレラ部35と、を有する。ティース部の径方向内側を向く面に、軸方向に沿って延びる溝部34aが設けられる。
【選択図】図4
特許請求の範囲
【請求項1】
中心軸を中心として回転可能なロータと、
前記ロータの径方向外側に位置するステータと、
を備え、
前記ロータは、
前記中心軸を中心として軸方向に延びるシャフトと、
前記シャフトと固定されるロータコアと、
前記ロータコアの径方向外側面に、周方向に配列して複数設けられるマグネット部と、
複数の前記マグネット部それぞれの径方向外側面に設けられ、外周面が曲面状である磁性部と、
を有し、
前記ステータは、前記ロータと径方向に隙間を介して対向するステータコアを有し、
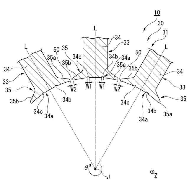
前記ステータコアは、前記中心軸を中心とする環状のコアバック部と、前記コアバック部の内周面に沿って配置される複数のティース部と、を有し、
前記ティース部は、前記コアバック部の内周面から径方向内側に延びるティース本体部と、前記ティース本体部の先端部において周方向の両側に突出するアンブレラ部と、を有し、
前記ティース部の径方向内側を向く面に、軸方向に沿って延びる溝部が設けられる回転電機。
続きを表示(約 520 文字)
【請求項2】
前記溝部は、前記ティース本体部の径方向内側を向く面に設けられる、請求項1に記載の回転電機。
【請求項3】
軸方向から見て、前記磁性部の外周面は、径方向外側に突出する円弧状である、請求項2に記載の回転電機。
【請求項4】
前記溝部は、第1溝部と、第2溝部と、を含み、
前記第1溝部および前記第2溝部は、周方向における前記ティース部の中心と前記中心軸とを通る基準線を対称軸として、互いに対称となる位置に配置される、請求項3に記載の回転電機。
【請求項5】
周方向における前記溝部の寸法は、周方向に隣り合う前記ティース部同士にそれぞれ設けられた前記アンブレラ部同士の隙間の寸法の60%以上、100%以下である、請求項3または4に記載の回転電機。
【請求項6】
軸方向から見て、前記溝部は矩形状である、請求項5に記載の回転電機。
【請求項7】
軸方向から見て、前記溝部は半円状である、請求項5に記載の回転電機。
【請求項8】
前記ステータコアの軸方向の寸法は、前記ロータコアの軸方向の寸法よりも大きい、請求項3に記載の回転電機。
発明の詳細な説明
【技術分野】
【0001】
本発明は、回転電機に関する。
続きを表示(約 1,700 文字)
【背景技術】
【0002】
ロータおよびステータを有するモータでは、駆動時の振動および騒音を抑制するため、ステータコアのボディーの先端の両脇に配置されるシューに溝を設けて、コギングトルクを抑制する構成が開示されている(例えば、特許文献1)。
【先行技術文献】
【特許文献】
【0003】
特表2019-527016号公報
【発明の概要】
【発明が解決しようとする課題】
【0004】
上記のようなモータでは、ステータと対向するロータの外周面の曲率が小さい場合、ロータの回転時において、ロータからステータに入り込む磁束密度が急激に変化し易いため、コギングトルクを抑制しづらい場合がある。
【0005】
本発明の一つの態様は、上記事情に鑑みて、コギングトルクを抑制できる回転電機を提供することを目的の一つとする。
【課題を解決するための手段】
【0006】
本発明の回転電機の一つの態様は、中心軸を中心として回転可能なロータと、前記ロータの径方向外側に位置するステータと、を備える。前記ロータは、前記中心軸を中心として軸方向に延びるシャフトと、前記シャフトと固定されるロータコアと、前記ロータコアの径方向外側面に、周方向に配列して複数設けられるマグネット部と、複数の前記マグネット部それぞれの径方向外側面に設けられ、外周面が曲面である磁性部と、を有する。前記ステータは、前記ロータと径方向に隙間を介して対向するステータコアを有する。前記ステータコアは、前記中心軸を中心とする環状のコアバック部と、前記コアバック部の内周面に沿って配置される複数のティース部と、を有する。前記ティース部は、前記コアバック部の内周面から径方向内側に延びるティース本体部と、前記ティース本体部の先端部において周方向の両側に突出するアンブレラ部と、を有する。前記ティース部の径方向内側を向く面に、軸方向に沿って延びる溝部が設けられる。
【発明の効果】
【0007】
本発明の一つの態様によれば、コギングトルクを抑制できる回転電機を提供できる。
【図面の簡単な説明】
【0008】
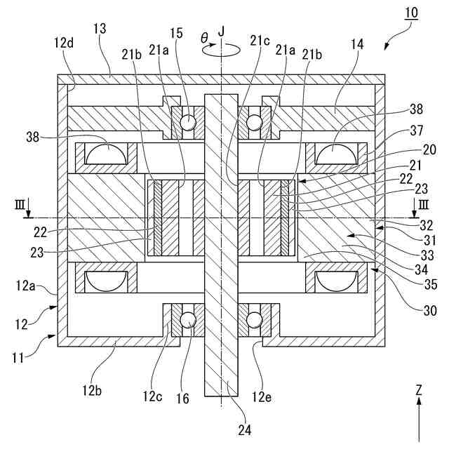
図1は、一実施形態の回転電機を示す模式断面図である。
図2は、一実施形態のロータの一部を示す斜視図である。
図3は、一実施形態の回転電機を示す図1のIII-III断面図である。
図4は、一実施形態のステータコアの一部を示す断面図である。
図5は、一実施形態の溝幅比率と、コギングトルクおよびモータトルクとの関係を示す図である。
図6は、一実施形態の変形例のステータコアの一部を示す断面図である。
【発明を実施するための形態】
【0009】
以下の説明において図には、適宜、Z軸を示す。Z軸は、以下に説明する実施形態のロータの中心軸Jが延びる方向である。各図に示す中心軸Jは、仮想軸線である。以下の説明では、中心軸Jが延びる方向、つまりZ軸と平行な方向を「軸方向」と呼ぶ。中心軸Jを中心とする径方向を単に「径方向」と呼ぶ。中心軸Jを中心とする周方向を単に「周方向」と呼ぶ。軸方向のうちZ軸の矢印が向く側(+Z側)を「上側」と呼ぶ。軸方向のうちZ軸の矢印が向く側と逆側(-Z側)を「下側」と呼ぶ。なお、上側および下側は、単に各部の相対位置関係を説明するための名称であり、実際の配置関係等は、これらの名称で示される配置関係等以外の配置関係等であってもよい。
【0010】
周方向は、各図において矢印θで示される。周方向のうち矢印θが向く側を「周方向一方側」と呼ぶ。周方向のうち矢印θが向く側と反対側を「周方向他方側」と呼ぶ。周方向一方側は、上側(+Z側)から見て、中心軸J回りに時計回りに進む側(+θ側)である。周方向他方側は、上側から見て、中心軸J回りに反時計回りに進む側(-θ側)である。
(【0011】以降は省略されています)
特許ウォッチbot のツイートを見る
この特許をJ-PlatPat(特許庁公式サイト)で参照する
関連特許
ニデック株式会社
回転電機
22日前
ニデック株式会社
コールドプレート
22日前
ニデック株式会社
コールドプレート
22日前
ニデック株式会社
流路ユニット及び冷媒循環装置
22日前
ニデック株式会社
冷却装置及びコールドプレート
22日前
ニデック株式会社
ロータ及びモータ
3日前
ニデック株式会社
カップリング装置
24日前
ニデック株式会社
光学ユニット及びスマートフォン
3日前
個人
高圧電気機器の開閉器
10日前
個人
電気を重力で発電装置
23日前
キヤノン電子株式会社
モータ
22日前
株式会社アイドゥス企画
減反モータ
10日前
トヨタ自動車株式会社
モータ
22日前
株式会社デンソー
端子台
3日前
ローム株式会社
半導体集積回路
1日前
矢崎総業株式会社
電源回路
9日前
株式会社TMEIC
制御装置
2日前
株式会社日立製作所
回転電機
1日前
矢崎総業株式会社
給電装置
2日前
日産自動車株式会社
ロータシャフト
17日前
日産自動車株式会社
ロータシャフト
17日前
ローム株式会社
モータドライバ回路
17日前
個人
非対称鏡像力を有する4層PWB電荷搬送体
17日前
大和ハウス工業株式会社
敷設用機器
2日前
トヨタ自動車株式会社
ステータの製造装置
23日前
株式会社TMEIC
電力変換装置
2日前
個人
電線盗難防止方法及び電線盗難防止装置
1か月前
株式会社アイシン
電力変換装置
22日前
株式会社土井製作所
ケーブル保護管路
1日前
京商株式会社
模型用非接触電力供給システム
10日前
トヨタ自動車株式会社
可変界磁ロータ
25日前
トヨタ自動車株式会社
車両照合システム
1か月前
豊田合成株式会社
車両用非接触充電装置
22日前
ローム株式会社
半導体装置
1日前
ローム株式会社
半導体装置
1日前
ルネサスエレクトロニクス株式会社
半導体装置
22日前
続きを見る
他の特許を見る