TOP
|
特許
|
意匠
|
商標
特許ウォッチ
Twitter
他の特許を見る
10個以上の画像は省略されています。
公開番号
2025167607
公報種別
公開特許公報(A)
公開日
2025-11-07
出願番号
2024072403
出願日
2024-04-26
発明の名称
半導体装置
出願人
ルネサスエレクトロニクス株式会社
代理人
個人
主分類
H02M
1/08 20060101AFI20251030BHJP(電力の発電,変換,配電)
要約
【課題】高速スイッチングと電磁干渉の抑制を両立できる半導体装置を提供する。
【解決手段】半導体装置10は、パワーデバイス20と接続する半導体装置であって、第1の回路101及び第2の回路102を備えるゲートドライバユニット100と、パワーデバイスのゲートとゲートドライバユニットとを接続する抵抗部110と、ゲートドライバユニットと接続する第1の制御回路130と、を備え、第1の制御回路は、パワーデバイスのターンオフ時において、第1の回路にパワーデバイスのスルーレートを低下させる指示を出すことによりパワーデバイスを高抵抗化するように構成されているものである。
【選択図】図1
特許請求の範囲
【請求項1】
パワーデバイスと接続する半導体装置であって、
第1の回路及び第2の回路を備えるゲートドライバユニットと、
前記パワーデバイスのゲートと前記ゲートドライバユニットとを接続する抵抗部と、
前記ゲートドライバユニットと接続する第1の制御回路と、を備え、
前記第1の制御回路は、前記パワーデバイスのターンオフ時において、前記第1の回路に前記パワーデバイスのスルーレートを低下させる指示を出すことにより前記パワーデバイスを高抵抗化するように構成されている、
半導体装置。
続きを表示(約 2,000 文字)
【請求項2】
さらに、モニタ部及び比較器を有する検知回路を備え、
前記モニタ部は、前記パワーデバイスの前記ゲートの電圧を観測するように構成されており、
前記比較器は、観測された前記電圧と所定の閾値とを比較するように構成されており、
前記第1の制御回路は、前記電圧が前記所定の閾値以下である場合に、前記パワーデバイスの抵抗を高くするように構成されている、
請求項1に記載の半導体装置。
【請求項3】
前記第1の制御回路は、前記電圧がミラープラトー電圧よりも低くなった後に前記パワーデバイスの抵抗を高くするように構成されている、
請求項2に記載の半導体装置。
【請求項4】
さらに、モニタ部及び比較器を有する検知回路を備え、
前記モニタ部は、前記パワーデバイスのソース及びドレイン間の電圧を観測するように構成されており、
前記比較器は、観測された前記電圧と所定の閾値とを比較するように構成されており、
前記第1の制御回路は、前記電圧が前記所定の閾値以上である場合に、前記パワーデバイスの抵抗を高くするように構成されている、
請求項1に記載の半導体装置。
【請求項5】
さらに、モニタ部及び比較器を有する検知回路を備え、
前記モニタ部は、前記パワーデバイスの負荷電流を観測するように構成されており、
前記比較器は、観測された前記負荷電流と所定の閾値とを比較するように構成されており、
前記第1の制御回路は、前記負荷電流が前記所定の閾値以下である場合に、前記パワーデバイスの抵抗を高くするように構成されている、
請求項1に記載の半導体装置。
【請求項6】
さらに、モニタ部及び比較器を有する検知回路と、前記パワーデバイスのドレイン及びゲートを接続するクランプ回路とを備え、
前記クランプ回路は、前記ゲートドライバユニットと前記パワーデバイスのドレインとを接続するツェナーダイオードを有し、
前記比較器は、前記ツェナーダイオードに流れる電流を観測することにより、リンギングを検出するように構成されており、
前記第1の制御回路は、前記リンギングが検出された場合において、前記パワーデバイスの抵抗を高くするように構成されている、
請求項1に記載の半導体装置。
【請求項7】
さらに、前記第1の制御回路と接続するレジスタ回路を備え、
前記レジスタ回路は、前記パワーデバイスのターンオフ開始から所定の時間経過後に、前記第1の制御回路に前記パワーデバイスの抵抗を高くする指示を出すように構成されている、
請求項1に記載の半導体装置。
【請求項8】
さらに、
モニタ部及び比較器を有する検知回路と、
前記第2の回路と接続する第2の制御回路と、
前記検知回路、前記第1の制御回路、及び前記第2の制御回路と接続するレジスタ回路と、を備え、
前記モニタ部は、前記パワーデバイスの前記ゲートの電圧を観測するように構成されており、
前記比較器は、観測された前記電圧と所定の閾値とを比較するように構成されており、
前記レジスタ回路は、前記電圧が前記所定の閾値以下となる状態を検出してから所定の時間経過後に、前記第2の制御回路に前記パワーデバイスをオンにする指示を出し、その後、前記第1の制御回路に前記パワーデバイスの抵抗を高くする指示を出すように構成されている、
請求項1に記載の半導体装置。
【請求項9】
前記レジスタ回路は、前記電圧がミラープラトー電圧よりも低くなった後から前記所定の時間経過後に、前記第1の制御回路に前記パワーデバイスの抵抗を高くする指示を出すように構成されている、
請求項8に記載の半導体装置。
【請求項10】
さらに、
モニタ部及び比較器を有する検知回路と、
前記第2の回路と接続する第2の制御回路と、
前記検知回路、前記第1の制御回路、及び前記第2の制御回路と接続するレジスタ回路と、を備え、
前記モニタ部は、前記パワーデバイスのソース及びドレイン間の電圧を観測するように構成されており、
前記比較器は、観測された前記電圧と所定の閾値とを比較するように構成されており、
前記レジスタ回路は、前記電圧が前記所定の閾値以上となる状態を検出してから所定の時間経過後に、前記第2の制御回路に前記パワーデバイスをオンにする指示を出し、その後、前記第1の制御回路に前記パワーデバイスの抵抗を高くする指示を出すように構成されている、
請求項1に記載の半導体装置。
(【請求項11】以降は省略されています)
発明の詳細な説明
【技術分野】
【0001】
本開示は、半導体装置に関し、例えばパワーデバイスのゲートドライバユニットを内蔵した半導体装置に好適に利用できるものである。
続きを表示(約 1,800 文字)
【背景技術】
【0002】
トラクションモータシステムにおいて、さらなる高効率化(電力損失の低減)を達成することが、カーボンニュートラルの実現に向けて重要である。トラクションモータシステムの高効率化により、1回の充電での走行距離を伸ばし、xEV(EV:Electric VehicleやPHEV:Plug-in Hybrid Electric Vehicleなど)の利便性を向上させることが可能となる。
【0003】
また、トラクションモータシステムに搭載されるインバータの効率を上げるために、電力損失が低いIGBT(Insulated Gate Bipolar Transistor)やSiC-MOSFET(Silicon Carbide Metal-Oxide-Semiconductor Field-Effect Transistor)の採用が進んでいる。インバータの効率を上げるためには、伝導損失及びスイッチング損失を下げることが求められる。
【0004】
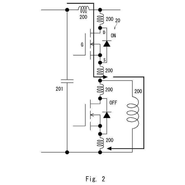
スイッチング損失を下げるために、スイッチング速度を上げると、ターンオフ時にノイズやリンギングが発生し、車両システムとの通信エラーや妨害電波の発生など、電磁干渉(EMI:Electromagnetic Interference)の観点の問題が生じる。
【発明の概要】
【発明が解決しようとする課題】
【0005】
したがって、高速スイッチングと電磁干渉の抑制を両立できる半導体装置が求められている。その他の課題と新規な特徴は、本明細書の記述及び添付図面から明らかになるであろう。
【課題を解決するための手段】
【0006】
一実施の形態によれば、半導体装置は、パワーデバイスのターンオフ時に、パワーデバイスを高抵抗化する状態を入れ込むことにより、追加回路なしに浮遊インダクタで発生するエネルギーを消費させ、高速スイッチングと電磁干渉の抑制を両立するものである。
【発明の効果】
【0007】
前記一実施の形態によれば、高速スイッチングと電磁干渉の抑制を両立できる半導体装置を提供することができる。
【図面の簡単な説明】
【0008】
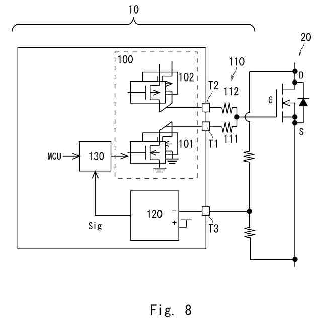
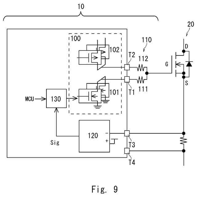
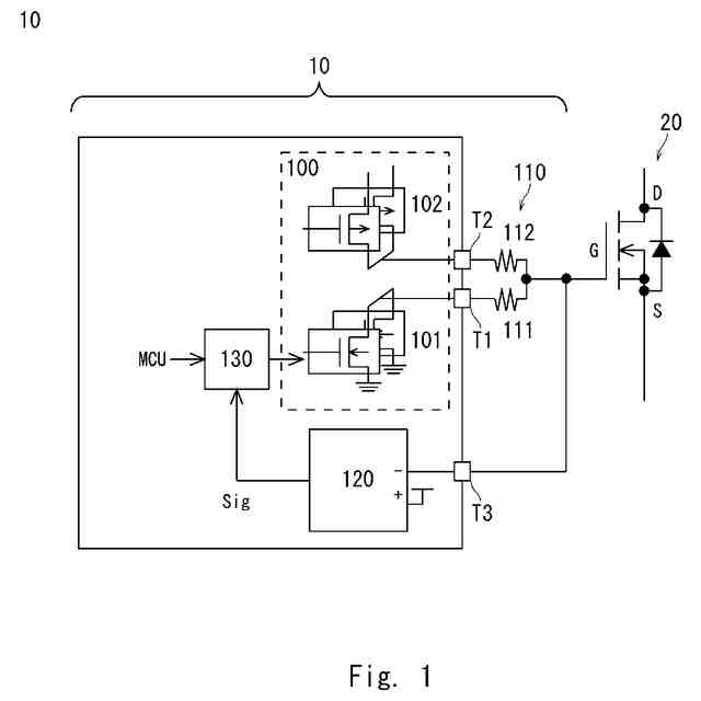
図1は、実施の形態1にかかる半導体装置のブロック図である。
図2は、パワーデバイスのリンギングのメカニズムを説明する図である。
図3は、パワーデバイスのリンギングのメカニズムを説明する図である。
図4は、パワーデバイスのターンオフ時の波形を説明する図である。
図5は、実施の形態1にかかる半導体装置の動作を説明する図である。
図6は、実施の形態1にかかるパワーデバイスの電気特性を説明する図である。
図7は、実施の形態1にかかるパワーデバイスの電気特性を説明する図である。
図8は、実施の形態1にかかる半導体装置のブロック図である。
図9は、実施の形態1にかかる半導体装置のブロック図である。
図10は、実施の形態1にかかる半導体装置のブロック図である。
図11は、実施の形態1にかかる半導体装置のブロック図である。
図12は、実施の形態2にかかる半導体装置のブロック図である。
図13は、実施の形態2にかかるパワーデバイスの電気特性を説明する図である。
図14は、実施の形態2にかかる半導体装置のブロック図である。
図15は、実施の形態2にかかる半導体装置のブロック図である。
図16は、実施の形態2にかかる半導体装置のブロック図である。
【発明を実施するための形態】
【0009】
以下、本開示の実施の形態について、図面を参照して詳細に説明する。明細書及び図面において、同一の構成要件または対応する構成要件には、同一の符号を付し、重複する説明は省略する。図面では、説明の便宜上、構成を省略または簡略化している場合もある。また、各実施の形態の少なくとも一部は、互いに任意に組み合わされてもよい。
【0010】
<実施の形態1>
図1は、本実施の形態にかかる半導体装置のブロック図である。半導体装置10は、パワーデバイス20と接続し、ゲートドライバユニット100、抵抗部110、検知回路120、及び制御回路130を備える。
(【0011】以降は省略されています)
この特許をJ-PlatPat(特許庁公式サイト)で参照する
関連特許
個人
単極モータ
1か月前
個人
電気を重力で発電装置
24日前
個人
高圧電気機器の開閉器
11日前
キヤノン電子株式会社
モータ
23日前
キヤノン電子株式会社
モータ
1か月前
株式会社アイシン
ロータ
1か月前
コーセル株式会社
電源装置
1か月前
日星電気株式会社
ケーブル組立体
1か月前
株式会社アイドゥス企画
減反モータ
11日前
トヨタ自動車株式会社
モータ
23日前
株式会社デンソー
回転機
1か月前
株式会社デンソー
端子台
4日前
個人
二次電池繰返パルス放電器用印刷基板
1か月前
株式会社kaisei
発電システム
1か月前
株式会社デンソー
電力変換装置
1か月前
株式会社デンソー
電力変換装置
1か月前
株式会社ミツバ
回転電機
1か月前
ローム株式会社
半導体集積回路
2日前
株式会社TMEIC
制御装置
3日前
矢崎総業株式会社
電源回路
10日前
株式会社日立製作所
回転電機
2日前
矢崎総業株式会社
給電装置
3日前
株式会社デンソー
非接触受電装置
1か月前
トヨタ自動車株式会社
固定子の加熱装置
1か月前
株式会社ダイヘン
インバータ装置
1か月前
山洋電気株式会社
モータ
1か月前
トヨタ自動車株式会社
ステータの製造装置
24日前
日産自動車株式会社
ロータシャフト
18日前
大和ハウス工業株式会社
敷設用機器
3日前
個人
非対称鏡像力を有する4層PWB電荷搬送体
18日前
日産自動車株式会社
ロータシャフト
18日前
ローム株式会社
モータドライバ回路
18日前
矢崎総業株式会社
ワイヤーハーネス
1か月前
トヨタ自動車株式会社
可変界磁ロータ
26日前
京商株式会社
模型用非接触電力供給システム
11日前
個人
電線盗難防止方法及び電線盗難防止装置
1か月前
続きを見る
他の特許を見る