TOP
|
特許
|
意匠
|
商標
特許ウォッチ
Twitter
他の特許を見る
公開番号
2025179490
公報種別
公開特許公報(A)
公開日
2025-12-10
出願番号
2024086263
出願日
2024-05-28
発明の名称
表示装置
出願人
株式会社イシダ
代理人
主分類
G01D
11/24 20060101AFI20251203BHJP(測定;試験)
要約
【課題】従来装置では、背面にコネクタを有する表示装置に防水カバーを被せていたので表示装置のサイズが大きくなる問題があり、また、表示装置背面のコネクタにケーブルを接続する場合にも、作業性が悪かった。
【解決手段】そこで、前部にディスプレイを有し、後部に電子基板を収納する収納部を設けた表示装置であって、電子基板には、複数のケーブルが個別に差し込まれる複数の差込口が実装され、収納部の背面には、複数のケーブルを差込口に接続するための開口部と、開口部を塞ぐ蓋部とが設けられ、その蓋部には、ケーブルを外部に導出させる貫通孔が設けられ、その貫通孔から収納部内に導入されるケーブルは、差込口と接続された状態において、ケーブルが垂れた状態になる。これにより、収納部を防水構造とすることができるから、接地面積の小さい表示装置とすることができる。
【選択図】 図3
特許請求の範囲
【請求項1】
前部にディスプレイを有し、後部に前記ディスプイと直接的に又は間接的に接続される電子基板を収納する収納部を有する表示装置であって、
前記電子基板には、複数のケーブルが個別に差し込まれる複数の差込口が実装され、
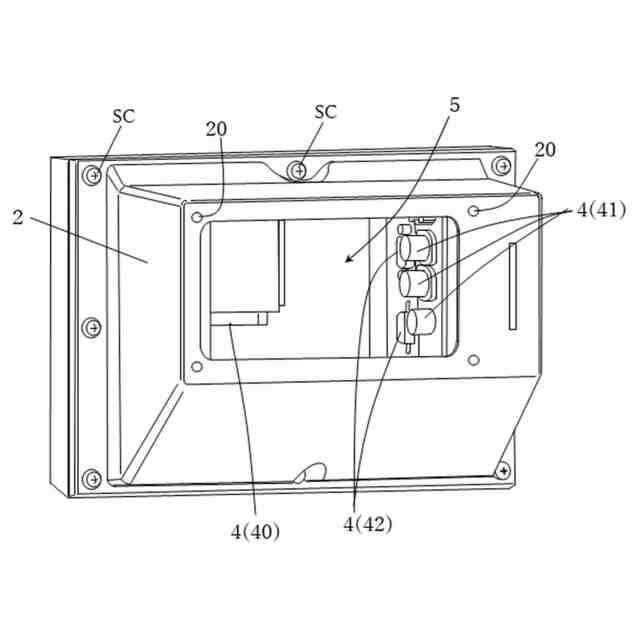
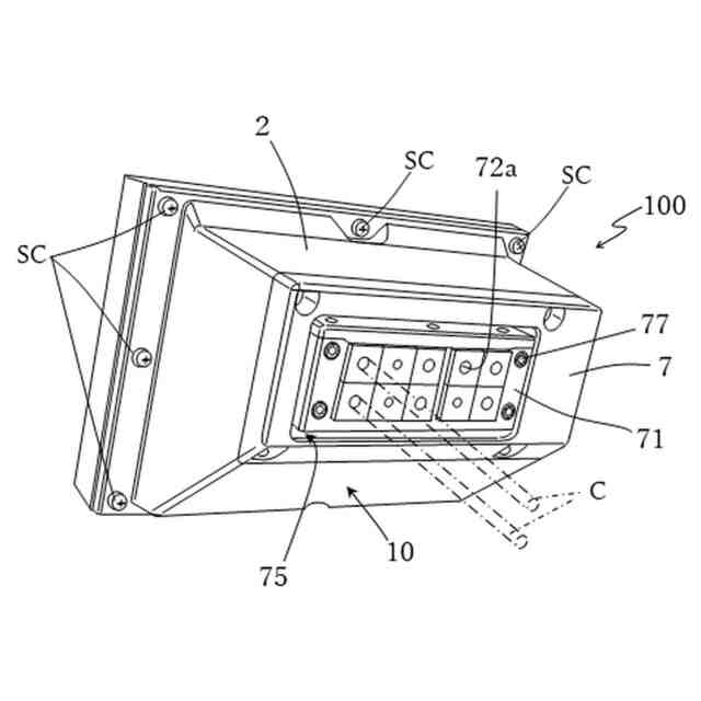
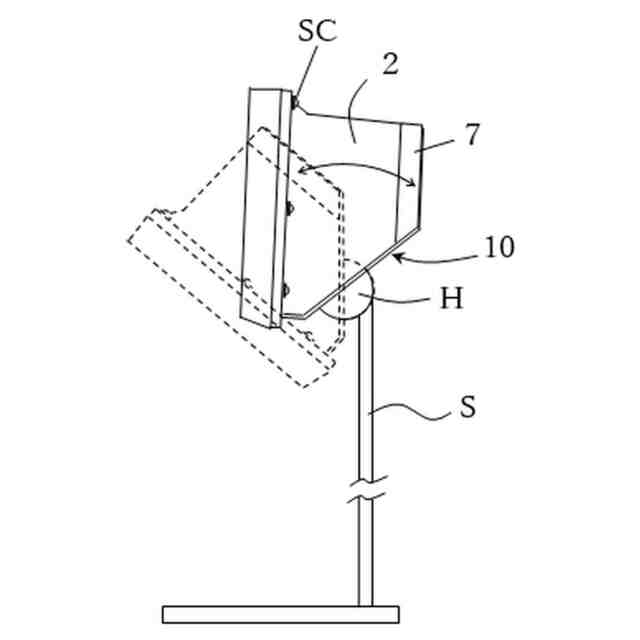
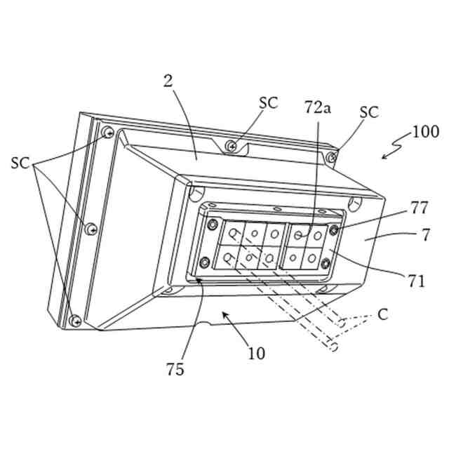
前記収納部の背面には、前記複数のケーブルを前記差込口に接続するための作業者の手が入る大きさの開口部と、当該開口部を塞ぐ蓋部とが設けられ、
前記蓋部には、前記ケーブルを外部に導出させる貫通孔が設けられ、
前記貫通孔から前記収納部内に導入される前記ケーブルが前記差込口と接続された状態において、前記ケーブルの接続端が水平方向又は水平方向よりも傾いた状態で前記差込口と接続される、
表示装置。
続きを表示(約 360 文字)
【請求項2】
前記蓋部の内側には、前記開口部の周縁に沿って設けられたガスケットと密着する環状のリブが設けられている、請求項1に記載の表示装置。
【請求項3】
前記リブと交差する方向の複数の第1補強リブが、前記リブの全周に亘って設けられ、さらに、前記第1補強リブの一部には、さらに前記リブに対し斜め方向の第2補強リブが設けられている、請求項2に記載の表示装置。
【請求項4】
前記複数の差込口には、下向きの差込口、横向きの差込口、横向きであって、1度乃至10度の範囲内で前記開口部側に傾く差込口がある、
請求項1に記載の表示装置。
【請求項5】
手が挿入される前記開口部は、縦幅が約8cm、横幅が約16cmの大きさである、
請求項1に記載の表示装置。
発明の詳細な説明
【技術分野】
【0001】
本発明は、計量装置本体に接続される表示装置に関する。
続きを表示(約 1,600 文字)
【背景技術】
【0002】
計量装置本体に接続される別置きの表示装置には、計量装置本体やプリンター、スキャナ等と接続するためのケーブル端子が表示装置背面のコネクタに接続される。そのため、表示装置を防水仕様にするときは、表示装置に防水ケースを被せ、その防水ケース背面の貫通孔に防水ブッシュを被せたケーブルを挿通し、そのケーブル端子を表示装置背面のコネクタに接続していた。
【0003】
そのため、防水仕様にすると、表示装置のサイズが大きくなるため、表示装置を作業台上に直置きする場合は、表示装置の占有面積が広くなって作業性を悪化させる問題があった。また、防水ケースを小さくすると、防水ケース背面と表示装置背面との間隔が狭くなって、防水ケース内に挿入されたケーブル端子を表示装置背面のコネクタに接続する作業に手間取るという問題もあった。
【先行技術文献】
【特許文献】
【0004】
特開2021-76560号公報
【発明の概要】
【発明が解決しようとする課題】
【0005】
本発明は、そうした問題を解消した新たな表示装置を提供することを目的とする。
【課題を解決するための手段】
【0006】
本発明の一実施形態に係る表示装置は、
前部にディスプレイを有し、後部に前記ディスプイと直接的に又は間接的に接続される電子基板を収納する収納部を有する表示装置であって、
前記電子基板には、複数のケーブルが個別に差し込まれる複数の差込口が実装され、
前記収納部の背面には、前記複数のケーブルを前記差込口に接続するための作業者の手が入る大きさの開口部と、当該開口部を塞ぐ蓋部とが設けられ、
前記蓋部には、前記ケーブルを外部に導出させる貫通孔が設けられ、
前記貫通孔から前記収納部内に導入される前記ケーブルが前記差込口と接続された状態において、前記ケーブルの接続端が水平方向又は水平方向よりも傾いた状態で前記差込口に接続されることを要旨とする。
【0007】
収納部背面から分離された蓋部の貫通孔には、例えばゴムブッシュやグロメットが装着されたケーブルが挿通されて貫通孔が塞がれる。そして、開口部から収納部内に手を入れてケーブル端子を差込口に差し込む。このとき、差込口から蓋部までのケーブル長さは、手が開口部に入る程度まで伸びているから、その状態で蓋部を開口部に被せて収納部内を密閉すると、収納部内に納められたケーブルは、垂れた状態から、ケーブル端子が水平方向又は水平方向よりも傾いた状態で差込口に接続される。そのため、防水対策をしていない場合に、ケーブルを伝って収納部内に水が浸入したとしても、ケーブル端子は、ケーブルの最下端位置よりも高い位置で差込口に水平方向から接続されるため、差込口への水の浸入が阻止される。
【0008】
また、一実施形態に係る表示装置は、前記蓋部の内側には、前記開口部の周縁に沿って設けられたガスケットと密着する環状のリブが設けられていることを要旨とする。
【0009】
収納部背面の開口部に蓋部を被せる場合、蓋部の内側に設けられたリブがガスケットに密着して開口部をシーリングする。また、蓋部の貫通孔に、例えば、防水仕様のゴムブッシュやグロメット等が装着されたケーブルを挿通すると、蓋部が防水仕様となるから、表示装置自体を防水構造にすることができる。
【0010】
また、一実施形態に係る表示装置の前記リブには、該リブと交差する方向の複数の第1補強リブが全周に亘って設けられ、さらに、前記第1補強リブの一部には、さらに前記リブに対し斜め方向の第2補強リブが設けられていることを要旨とする。
(【0011】以降は省略されています)
この特許をJ-PlatPat(特許庁公式サイト)で参照する
関連特許
株式会社イシダ
表示装置
今日
株式会社イシダ
計量装置
20日前
株式会社イシダ
検査記録装置
5日前
株式会社イシダ
組合せ計量装置
26日前
株式会社イシダ
物品計測排出装置
5日前
株式会社イシダ
トレーサビリティ管理装置
20日前
株式会社イシダ
重量検査装置
7日前
株式会社イシダ
X線検査装置
12日前
株式会社イシダ
台紙レスラベルのラベル切断装置
28日前
株式会社イシダ
表示装置
今日
個人
視触覚センサ
5日前
日本精機株式会社
検出装置
1か月前
個人
採尿及び採便具
1か月前
個人
計量機能付き容器
1か月前
日本精機株式会社
液面検出装置
今日
愛知電機株式会社
外観検査方法
1日前
愛知電機株式会社
外観検査装置
1日前
株式会社カクマル
境界杭
20日前
日本精機株式会社
発光表示装置
13日前
甲神電機株式会社
電流検出装置
1か月前
株式会社ミツトヨ
測定器
1か月前
株式会社トプコン
測量装置
12日前
ユニパルス株式会社
トルク変換器
5日前
ユニパルス株式会社
トルク変換器
5日前
ユニパルス株式会社
トルク変換器
5日前
大成建設株式会社
風洞実験装置
1か月前
個人
計量具及び計量機能付き容器
1か月前
日本信号株式会社
距離画像センサ
1か月前
日本特殊陶業株式会社
ガスセンサ
12日前
日本特殊陶業株式会社
ガスセンサ
5日前
愛知時計電機株式会社
ガスメータ
1か月前
個人
非接触による電磁パルスの測定方法
1か月前
愛知電機株式会社
軸部材の外観検査装置
1か月前
大和製衡株式会社
組合せ計量装置
1か月前
双庸電子株式会社
誤配線検査装置
1か月前
日本特殊陶業株式会社
ガスセンサ
28日前
続きを見る
他の特許を見る