TOP
|
特許
|
意匠
|
商標
特許ウォッチ
Twitter
他の特許を見る
公開番号
2025169429
公報種別
公開特許公報(A)
公開日
2025-11-12
出願番号
2025140927,2021120994
出願日
2025-08-27,2021-07-21
発明の名称
台紙レスラベルのラベル切断装置
出願人
株式会社イシダ
代理人
主分類
B41J
11/70 20060101AFI20251105BHJP(印刷;線画機;タイプライター;スタンプ)
要約
【課題】一定形状のラベル片が搬送方向に連続的に繋がった台紙レスラベルと、台紙レス
ラベルから前記ラベル片を切り出すことのできるラベル切断装置を提供することを課題と
する。
【解決手段】 複数のラベル片が、搬送方向と直交する方向の切欠きを介して搬送方向に連続的に繋がった台紙レスラベルの切断装置であって、前記台紙レスラベルを切断するカッターと、前記カッターの上流側に配置されて、前記台紙レスラベルを前記カッターに搬送する搬送機構と、前記搬送機構と前記カッターとの間に配置されて、前記切欠きを検出するセンサと、前記センサの切欠き検出信号に基づいて前記カッターを動作させる制御部と、を備え、前記制御部は、前記センサで検出された前記切欠きが、前記カッターの切断位置に到達するタイミングで前記カッターを動作させる。
【選択図】図1
特許請求の範囲
【請求項1】
複数のラベル片が、搬送方向と直交する方向の切欠きを介して搬送方向に連続的に繋が
り、
前記切欠きの搬送方向の幅は、切断位置のずれを許容する幅に形成されている
台紙レスラベルの切断装置であって、
前記台紙レスラベルを
前記搬送方向と直交する方向で
切断するカッターと、
前記カッターの上流側に配置されて、前記台紙レスラベルを前記カッターに搬送する搬
送機構と、
前記搬送機構と前記カッターとの間に配置されて、前記切欠きを検出するセンサと、
前記センサの切欠き検出信号に基づいて前記カッターを動作させる制御部と、を備え、
前記制御部は、前記センサで検出された前記切欠きが、前記カッターの切断位置に到達
するタイミングで前記カッターを動作させる、
ラベル切断装置。
発明の詳細な説明
【技術分野】
【0001】
本発明は、切断位置が決められた台紙レスラベル
から
、その切断位置で一枚のラベル片を切り出すことのできるラベル切断装置に関する。
続きを表示(約 1,700 文字)
【背景技術】
【0002】
台紙を使用しない、所謂、台紙レスラベルは、印字量に応じてラベルのカット位置が変
えられることから、種々の商品に多用されているが、下記特許文献に開示されたラベルの
ように、一定形状のラベル片を搬送方向に連続させた台紙レスラベルもある。
【0003】
このような台紙レスラベルでは、一定形状のラベル片とラベル片との境界部分でラベル
をカットしなければならないので、そのカット位置が少しでもずれると、形状の異なるラ
ベル片が発行され、それが商品に貼付されると、商品自体の価値が損なわれる問題が起き
る。
【先行技術文献】
【特許文献】
【0004】
特開平9-2441号公報
【発明の概要】
【発明が解決しようとする課題】
【0005】
本発明は、この問題を解決することのできる新たな台紙レスラベル
から
、
一枚
のラベル片を所定の位置でカットすることのできるラベル切断装
置を
提供することを課題とする。
【課題を解決するための手段】
【0006】
本発明に
用い
る台紙レスラベルは、一方の面が印字面、他方の面が貼付面とされた所定形状のラベル
片
を一つの単位として搬送方向に連続的に繋がった帯状の台紙レスラベルであって、
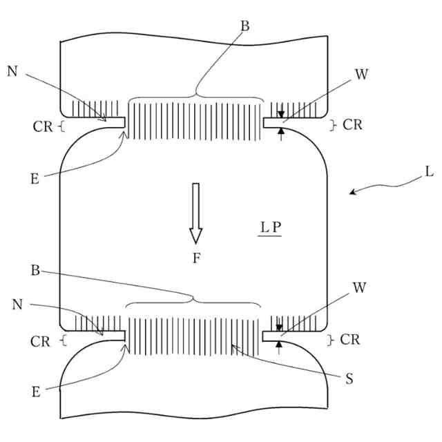
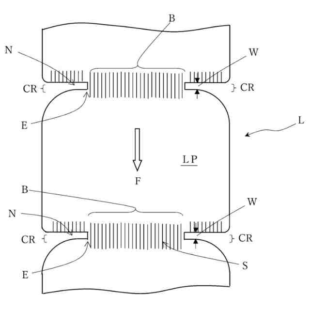
前記各ラベル片間の境界部分には、前記搬送方向と直交する方向に切断代が設けられ、
前記切断代の搬送方向の幅は、カッターの切断位置のずれを許容する幅に形成されてい
る、台紙レスラベルである。
【0007】
これにより、カッターの切断位置が多少ずれても、所定形状のラベル片には影響しない
から、印字発行されたラベル片が商品に貼付された場合でも、その商品価値が損なわれる
ようなことはない。
【0008】
また、前記切断代には、前記搬送方向と直交する方向の面対称の切欠きが設けられ、前
記面対称の切欠きに挟まれた領域には、前記搬送方向と平行なスリットが、前記搬送方向
と直交する方向に複数設けられている。
【0009】
これにより、隣接するラベル片は、面対称の切欠き部分で切断されるから、その切断位
置が多少ずれても所定形状のラベル片には影響しない。また、面対称の切欠きに挟まれた
領域には、搬送方向と平行なスリットが複数設けられ、それらのスリットの略中央部分が
搬送方向と直交する方向に切断されるから、その切断面には、各スリットが露出すること
になる。そのため、発行されたラベル片が包装商品に貼付された場合に、その商品の包装
フイルムが引き裂かれると、それに伴ってラベル片のスリットから引き裂かれるようにな
る。したがって、例えば、包装おにぎりに貼付するラベルとして最適なものになる。
【0010】
本発明に係るラベル切断装置は、複数のラベル片が、搬送方向と直交する方向の切欠きを介して搬送方向に連続的に繋が
り、前記切欠きの搬送方向の幅は、切断位置のずれを許容する幅に形成されている
台紙レスラベルの切断装置であって、
前記台紙レスラベルを
前記搬送方向と直交する方向で
切断するカッターと、
前記カッターの上流側に配置されて、前記台紙レスラベルを前記カッターに搬送する搬
送機構と、
前記搬送機構と前記カッターとの間に配置されて、前記切欠きを検出するセンサと、
前記センサの切欠き検出信号に基づいて前記カッターを動作させる制御部と、を備え、
前記制御部は、前記センサで検出された前記切欠きが、前記カッターの切断位置に到達
するタイミングで前記カッターを動作させることを特徴とする。
(【0011】以降は省略されています)
この特許をJ-PlatPat(特許庁公式サイト)で参照する
関連特許
株式会社イシダ
計量装置
14日前
株式会社イシダ
包装装置
1か月前
株式会社イシダ
計量装置
2か月前
株式会社イシダ
X線検査装置
2か月前
株式会社イシダ
受付端末装置
1か月前
株式会社イシダ
商品処理装置
2か月前
株式会社イシダ
X線検査装置
2か月前
株式会社イシダ
X線検査装置
2か月前
株式会社イシダ
組合せ計量装置
1か月前
株式会社イシダ
組合せ計量装置
20日前
株式会社イシダ
組合せ計量装置
2か月前
株式会社イシダ
トレーサビリティ管理装置
14日前
株式会社イシダ
電子棚札用の制御システム
2か月前
株式会社イシダ
案内端末及び電子カルテシステム
28日前
株式会社イシダ
院内用書込装置及び受付端末装置
1か月前
株式会社イシダ
製袋包装機及びフィルムロール交換システム
2か月前
株式会社イシダ
重量検査装置
1日前
株式会社イシダ
X線検査装置
6日前
株式会社イシダ
検査システム及び検査装置
2か月前
株式会社イシダ
台紙レスラベルのラベル切断装置
22日前
株式会社イシダ
自走式フィルムロール交換装置、フィルムロール交換システム、及びフィルムロール交換方法
2か月前
個人
箔熱転写装置
2か月前
シヤチハタ株式会社
印判
6か月前
東レ株式会社
凸版印刷版原版
11か月前
シヤチハタ株式会社
反転式印判
10か月前
三光株式会社
感熱記録材料
8か月前
キヤノン株式会社
電子機器
27日前
独立行政法人 国立印刷局
印刷物
8か月前
キヤノン株式会社
記録装置
2か月前
株式会社リコー
液体吐出装置
7か月前
独立行政法人 国立印刷局
貼付機構
3か月前
株式会社リコー
印刷システム
2か月前
株式会社リコー
画像形成装置
2か月前
株式会社リコー
液体吐出装置
5か月前
日本製紙株式会社
感熱記録体
9か月前
株式会社リコー
液体吐出装置
3か月前
続きを見る
他の特許を見る